Legals & Public Notices: October 10, 2025
City of Sioux Falls, Sioux Falls School District, Minnehaha County, Lincoln County, Public Notices, Name Changes, Notices to Creditors, Foreclosure Sales, Summons
CITY OF SIOUX FALLS
PUBLISH: Oct. 10, 2025
NOTICE OF HEARING
ZONING BOARD OF ADJUSTMENT
Notice is given that at the regular board meeting of the Sioux Falls City Board of Adjustment to be held at 6 p.m. on Monday, October 20, 2025, in Carnegie Town Hall, there will be a public hearing on the following variances to the 2013 Shape Places Zoning Ordinance:
Item BOA-021746-2025: Variance in the front yard setback from 20’ to 10’ to allow for a garage that has direct access to the street.
LOT 10 BLOCK 47 SHAWS ADDN TO CITY OF SIOUX FALLS
(531 N. Nesmith Ave.)
The above-referenced variance is on file with City Zoning and Development Services located at the City Center, 231 N. Dakota Ave.
Published once on Oct. 10, 2025, at the approximate cost of $10.63, and may be viewed free of charge at www.sdpublicnotices.com or TheDakotaScout.com.
PUBLISH: Oct. 10 & Oct. 17, 2025
BID REQUEST NO. 25-0119
NOTICE TO BIDDERS
The City of Sioux Falls, SD, requests formal bids for Electronic Recycling Services.
To participate, proposers must be registered as a vendor in the e-procurement portal. Register at siouxfalls.bonfirehub.com by selecting “New Vendor Registration” under the login tab. After you have registered, navigate to the Open Public Opportunities tab to view the solicitation. Proposals will be electronically submitted through the e-procurement portal and will be received by the e-procurement portal not later than 2 p.m., Central time, October 23, 2025. Immediately thereafter, the bids will be publicly opened and read at 3 p.m., Central time, City Hall, 224 W. 9th St., Sioux Falls, SD 57104. You may watch the bid opening virtually via Webex by utilizing information and links located at www.siouxfalls.gov/purchasing.
It is the vendor’s responsibility to check the e-procurement portal website for any changes or updates to the Competitive Sealed Proposal, which will be in the form of an addendum posted to the solicitation in the e-procurement portal.
Telegraphic, fax, email, and hand-delivered responses will not be accepted unless specifically authorized in the terms and conditions of the solicitation.
The City of Sioux Falls reserves the right to reject any or all bids or proposals, waive technicalities, and make award(s) as deemed to be in the best interest of Sioux Falls, SD.
Published twice on Oct. 10 & Oct. 17, 2025, at the approximate cost of $33.07, and may be viewed free of charge at www.sdpublicnotices.com or TheDakotaScout.com.
-
PUBLISH: Oct. 10, 2025
NOTICE OF HEARING UPON APPLICATIONS
FOR SALE OF ALCOHOLIC BEVERAGES
Notice is given that various Alcoholic Beverage Licenses are to be operated at various locations in Sioux Falls, South Dakota, as listed below.
The City Council will consider said applications at Carnegie Town Hall, 235 West Tenth Street, at 6:00 p.m., on October 21, 2025.
Any person interested may appear and be heard.
New 2025-26 Retail Malt Beverage License and New 2025 Retail Wine License for Pomegranate Market, 350 North Reid Place, Suite 100.
New 2025 Retail Wine License for Classy Nail, 509 West 85th Street.
New 2026 Retail Wine License for Scheels Iceplex, 4300 North Bobhalla Drive.
Transfer of 2025-26 Retail Malt Beverage License from Neighborhood Market Co LLC, 4301 East 12th Street, to Neighborhood Market and Restaurant LLC, 4301 East 12th Street.
Jamie L. Palmer
Licensing Specialist
City Attorney’s Office
Published once on Oct. 10, 2025, at the approximate cost of $13.53, and may be viewed free of charge at www.sdpublicnotices.com or TheDakotaScout.com.
-
PUBLISH: Oct. 10, 2025
NOTICE OF HEARING FOR CONSIDERATION OF EXCHANGE OF LAND WITH PRIVATE OWNER
Notice is hereby given that at the regular Sioux Falls City Council meeting on November 4, 2025, at 6 p.m. in Carnegie Town Hall, 235 W. 10th St., Sioux Falls, SD 57104, pursuant to the provision of SDCL § 6-5-4 there will be a public hearing to consider an exchange of land between the City of Sioux Falls and a private owner. The subject properties include the following described real property:
Tract 4A of Rubin’s Addition to the City of Sioux Falls, Minnehaha County, South Dakota, owned by the City of Sioux Falls;
That part of Tract 1A of Rubin’s Addition to the City of Sioux Falls, Minnehaha County, South Dakota, lying north of the tract of land formerly described as Tract 1 of Rubin’s Addition to the City of Sioux Falls, Minnehaha County, South Dakota, owned by H & W Contracting, LLC.
The proposed “Agreement for Exchange of Property,” copy of the exhibits depicting the property, and Preliminary Commitment for Title Insurance is on file and available for inspection in the office of the City Clerk. Any person interested may appear and be heard.
Published once on Oct. 10, 2025, at the approximate cost of $15.46, and may be viewed free of charge at www.sdpublicnotices.com or TheDakotaScout.com.
-
PUBLISH: Oct. 10, 2025
MINUTES
Regular City Council Meeting
Tuesday, October 7, 2025, at 6:00 PM
Carnegie Town Hall, 235 West 10th St., Sioux Falls, South Dakota 57104
CALL TO ORDER
1. MEETING ROLL CALL
Present: Council Member Sarah Cole, Council Member Rich Merkouris, Council Member Jennifer Sigette, Council Member Curt Soehl, Council Member Ryan Spellerberg, Council Member Richard L. Thomason, Council Member David Barranco, Mayor Paul TenHaken
Absent: Council Member Miranda Basye
2. INVOCATION
• Jerry Fogg, Yankton Sioux Tribe
3. PLEDGE OF ALLEGIANCE
CONSENT AGENDA
4. APPROVAL OF THE CONSENT AGENDA
A motion was made by Council Member Merkouris and seconded by Council Member Barranco to approve the Consent Agenda.
Roll call vote to approve. 7 Yes: Cole, Merkouris, Sigette, Soehl, Spellerberg, Thomason, Barranco; 0 No: (None). Motion Passed.
5. APPROVAL OF MINUTES
• Informational Meeting of Tuesday, September 16, 2025
• City Council Meeting of Tuesday, September 16, 2025
• Informational Meeting of Tuesday, September 23, 2025
COMMUNICATIONS
6. Approval of contracts/agreements over $100K on the memorandum dated October 3, 2025.
7. Approval of a request pursuant to SDCL 35-1-5.5 from Scott Dubbe to consume, but not sell, alcoholic beverages at the Mary Jo Wegner Arboretum, 1900 S. Perry Pl., on October 23, 2025.
APPLICATIONS
8. Special One-Day Liquor Licenses for T Slat to be operated at Augustana University, 2001 South Summit for games on October 10, 11, 17 & 18, 2025.
9. Special One-Day Liquor License for T Slat to be operated on a small portion of Grange Avenue directly between the Elmen Center and Midco Arena, for a Augustana tailgate block party on October 18, 2025.
10. Special One-Day Liquor Licenses for T Slat to be operated at Huether Family Match Pointe, 4210 Bobhalla Drive for a tournament on October 20, 21, 22, 23, 24, 25 & 26, 2025.
11. Special One Day Wine License and Special One-Day Off-Sale Wine License for GBS LLC to be operated at Nordic Hall, 218 West 13th Street for a holiday event on December 6, 2025.
The City Council concurs with the Minnehaha County Commission’s recommendation for approval of the following abatements:
12. Parcel #76549, for 2024 property taxes in the amount of $1,476.89. Reason: Applicant qualifies for exemption under SDCL 10-4-40 & 10-4-41 (Disabled Veteran).
13. Parcel #75040, for 2021 property taxes in the amount of $511.44. Reason: An error has been made in any identifying entry or description of the real property, in entering the valuation of the real property or in the extension of the tax, to the injury of the complainant.
14. Parcel #75040, for 2022 property taxes in the amount of $497.51. Reason: An error has been made in any identifying entry or description of the real property, in entering the valuation of the real property or in the extension of the tax, to the injury of the complainant.
15. Parcel #75040, for 2023 property taxes in the amount of $468.49. Reason: An error has been made in any identifying entry or description of the real property, in entering the valuation of the real property or in the extension of the tax, to the injury of the complainant.
16. Parcel #75040, for 2024 property taxes in the amount of $457.68. Reason: An error has been made in any identifying entry or description of the real property, in entering the valuation of the real property or in the extension of the tax, to the injury of the complainant.
17. Parcel #51990, for 2024 property taxes in the amount of $1,799.15. Reason: Applicant qualifies for exemption under SDCL 10-4-40 & 10-4-41 (Disabled Veteran).
NOTICE OF HEARINGS
18. Set a date of hearing for Tuesday, October 21, 2025. New 2025-26 Retail Malt Beverage License and New 2025 Retail Wine License for Pomegranate Market, 350 North Reid Place, Suite 100.
19. Set a date of hearing for Tuesday, October 21, 2025. New 2025 Retail Wine License for Classy Nail, 509 West 85th Street.
20. Set a date of hearing for Tuesday, October 21, 2025. New 2026 Retail Wine License for Scheels Iceplex, 4300 North Bobhalla Drive.
21. Set a date of hearing for Tuesday, October 21, 2025. Transfer of 2025-26 Retail Malt Beverage License from Neighborhood Market Co LLC, 4301 East 12th Street, to Neighborhood Market and Restaurant LLC, 4301 East 12th Street.
22. Set a date of hearing for Tuesday, October 21, 2025. AN ORDINANCE OF THE CITY OF SIOUX FALLS, SD, DECLARING CERTAIN REAL PROPERTY OF THE CITY SURPLUS AND AUTHORIZING THE EXCHANGE OF CITY LAND WITH A PRIVATE LANDOWNER.
Sponsor: Mayor
REGULAR AGENDA
23. APPROVAL OF THE REGULAR AGENDA
A motion was made by Council Member Sigette and seconded by Council Member Merkouris to approve the Regular Agenda.
A motion was made by Council Member Merkouris and seconded by Council Member Spellerberg to amend by moving Item 36 after Item 26; moving Item 39 after Item 28, and moving Item 40 after Item 31.
Roll call vote to amend. 7 Yes: Cole, Merkouris, Sigette, Soehl, Spellerberg, Thomason, Barranco; 0 No: (None). Motion Passed.
Roll call vote to approve, as amended. 7 Yes: Cole, Merkouris, Sigette, Soehl, Spellerberg, Thomason, Barranco; 0 No: (None). Motion Passed.
UNFINISHED BUSINESS
24. Special One-Day Malt Beverage and Wine Licenses for Reach Literacy to be operated at Mosaic, 500 North Main Avenue, for a fundraiser on October 9, 2025.
25. Special One-Day Malt Beverage and Wine Licenses for Community Indoor Tennis Center Inc., 4210 Bobhalla Drive, for a fundraiser on October 18, 2025.
A motion was made by Council Member Merkouris and seconded by Council Member Barranco to approve Items 24 and 25.
Roll call vote to approve. 7 Yes: Cole, Merkouris, Sigette, Soehl, Spellerberg, Thomason, Barranco; 0 No: (None). Motion Passed.
INTRODUCTION AND ADOPTION OF ORDINANCES
ORDINANCE SECOND READINGS
26. 2nd Reading: Deferred from the Meeting of Wednesday, August 6, 2025; Deferred from the City Council Meeting on Wednesday, August 6, 2025 and Tuesday, September 2nd, 2025: AN ORDINANCE OF THE CITY OF SIOUX FALLS, SD, REZONING PROPERTY LOCATED SOUTH OF W. 69TH ST. AND WEST OF S. BEAL AVE. FROM THE AG AGRICULTURE DISTRICT TO THE RA-3 APARTMENT RESIDENTIAL—HIGH DENSITY DISTRICT, NO. 021361-2025, AND AMENDING THE OFFICIAL ZONING MAP OF THE CITY OF SIOUX FALLS. The Planning Commission recommends approval (5-0).
Private Applicant(s): Empire Companies – Brady Hyde
A motion was made by Council Member Spellerberg and seconded by Council Member Cole to adopt Ordinance No. 64-25.
Roll call vote to adopt. 7 Yes: Cole, Merkouris, Sigette, Soehl, Spellerberg, Thomason, Barranco; 0 No: (None). Motion Passed.
27. 2nd Reading: AN ORDINANCE OF THE CITY OF SIOUX FALLS, SD, AMENDING THE CODE OF ORDINANCES OF THE CITY BY AMENDING CHAPTER 150: BUILDING, SUBCHAPTER ELECTRICITY, BY ADOPTING THE 2023 NATIONAL ELECTRICAL CODE AND AMENDMENTS THERETO.
Sponsor: Mayor
A motion was made by Council Member Barranco and seconded by Council Member Cole to adopt Ordinance No. 58-25.
Roll call vote to adopt. 7 Yes: Cole, Merkouris, Sigette, Soehl, Spellerberg, Thomason, Barranco; 0 No: (None). Motion Passed.
28. 2nd Reading: AN ORDINANCE OF THE CITY OF SIOUX FALLS, SD, REZONING PROPERTY LOCATED NORTH OF W. MEMORY LANE AND WEST OF I-29 (BENSON’S) FROM THE AG AGRICULTURE DISTRICT TO THE I-2 HEAVY INDUSTRIAL DISTRICT, NO. 021328-2025, AND AMENDING THE OFFICIAL ZONING MAP OF THE CITY OF SIOUX FALLS. The Planning Commission recommends approval (3-0).
Private Applicant(s): Sioux Falls Development Foundation – Dean Dziedzic
A motion was made by Council Member Sigette and seconded by Council Member Spellerberg to adopt Ordinance No. 59-25.
Roll call vote to adopt. 7 Yes: Cole, Merkouris, Sigette, Soehl, Spellerberg, Thomason, Barranco; 0 No: (None). Motion Passed.
29. 2nd Reading: AN ORDINANCE OF THE CITY OF SIOUX FALLS, SD, REZONING PROPERTY LOCATED AT 210 N. SHERMAN AVE. FROM THE RT-1 SINGLE-FAMILY RESIDENTIAL—TRADITIONAL DISTRICT TO THE S-1 GENERAL INSTITUTIONAL DISTRICT, NO. 021352-2025, AND AMENDING THE OFFICIAL ZONING MAP OF THE CITY OF SIOUX FALLS. The Planning Commission recommends approval (3-0).
Private Applicant(s): St. Francis House of Sioux Falls – Julie Becker
A motion was made by Council Member Sigette and seconded by Council Member Barranco to adopt Ordinance No. 60-25.
Roll call vote to adopt. 7 Yes: Cole, Merkouris, Sigette, Soehl, Spellerberg, Thomason, Barranco; 0 No: (None). Motion Passed.
30. 2nd Reading: AN ORDINANCE OF THE CITY OF SIOUX FALLS, SD, REZONING PROPERTY LOCATED AT 2011 S. NORTON AVE. FROM THE S-2 INSTITUTIONAL CAMPUS PUD DISTRICT TO THE RD-1 TWIN HOME/DUPLEX RESIDENTIAL—SUBURBAN DISTRICT, NO. 021655-2025, AND AMENDING THE OFFICIAL ZONING MAP OF THE CITY OF SIOUX FALLS. The Planning Commission recommends approval (3-0).
Private Applicant(s): 3MJ Properties – Mike Haight
A motion was made by Council Member Merkouris and seconded by Council Member Cole to adopt Ordinance No. 61-25.
Roll call vote to adopt. 6 Yes: Cole, Merkouris, Sigette, Soehl, Thomason, Barranco; 0 No: (None). Motion Passed. Spellerberg was excused from the meeting and the vote on this item pursuant to City Ordinance 30.017.
31. 2nd Reading: AN ORDINANCE OF THE CITY OF SIOUX FALLS, SD, REZONING PROPERTY LOCATED NORTH OF W. MEMORY LANE AND WEST OF I-29 (WALKER’S) FROM THE CN CONSERVATION AND AG AGRICULTURE DISTRICTS TO THE I-2 HEAVY INDUSTRIAL DISTRICT, NO. 021664-2025, AND AMENDING THE OFFICIAL ZONING MAP OF THE CITY OF SIOUX FALLS. The Planning Commission recommends approval (3-0).
Private Applicant(s): Sioux Falls Development Foundation – Dean Dziedzic
A motion was made by Council Member Sigette and seconded by Council Member Barranco to adopt Ordinance No. 62-25.
Roll call vote to adopt. 7 Yes: Cole, Merkouris, Sigette, Soehl, Spellerberg, Thomason, Barranco; 0 No: (None). Motion Passed.
32. 2nd Reading: AN ORDINANCE OF THE CITY OF SIOUX FALLS, SD, REZONING PROPERTY LOCATED AT 2008 W. 33RD ST. FROM THE O OFFICE DISTRICT TO THE RD-1 TWIN HOME/DUPLEX RESIDENTIAL—SUBURBAN DISTRICT, NO. 021691-2025, AND AMENDING THE OFFICIAL ZONING MAP OF THE CITY OF SIOUX FALLS. The Planning Commission recommends approval (3-0).
Private Applicant(s): Rose Dougherty
A motion was made by Council Member Barranco and seconded by Council Member Sigette to withdraw Item 32.
Roll call vote to withdraw. 7 Yes: Cole, Merkouris, Sigette, Soehl, Spellerberg, Thomason, Barranco; 0 No: (None). Motion Passed.
33. 2nd Reading: AN ORDINANCE OF THE CITY OF SIOUX FALLS, SD, REZONING PROPERTY LOCATED SOUTH OF E. 10TH ST. AND EAST OF S. SIX MILE RD. FROM THE CN CONSERVATION DISTRICT TO THE RS SINGLE-FAMILY RESIDENTIAL—SUBURBAN DISTRICT, NO. 021721-2025, AND AMENDING THE OFFICIAL ZONING MAP OF THE CITY OF SIOUX FALLS. The Planning Commission recommends approval (3-0).
Private Applicant(s): Allen Development, LLC – Doug Allen
A motion was made by Council Member Sigette and seconded by Council Member Spellerberg to adopt Ordinance No. 63-25.
Roll call vote to adopt. 7 Yes: Cole, Merkouris, Sigette, Soehl, Spellerberg, Thomason, Barranco; 0 No: (None). Motion Passed.
ORDINANCE FIRST READINGS
34. 1st Reading: AN ORDINANCE OF THE CITY OF SIOUX FALLS, SD, AMENDING THE CODE OF ORDINANCES OF THE CITY BY AMENDING CHAPTER 37: TAXATION, SUBCHAPTER RETAIL SALES AND SERVICE TAX AND USE TAX REFUND.
Sponsor: Mayor
A motion was made by Council Member Spellerberg and seconded by Council Member Barranco to set a date of 2nd Reading for Wednesday, October 15, 2025 for Item 34.
Roll call vote to set a date of 2nd Reading. 7 Yes: Cole, Merkouris, Sigette, Soehl, Spellerberg, Thomason, Barranco; 0 No: (None). Motion Passed.
35. 1st Reading: AN ORDINANCE OF THE CITY OF SIOUX FALLS, SD, AMENDING REAL PROPERTY BY GIFT AGREEMENT ORDINANCE 98-22.
Sponsor: Mayor
A motion was made by Council Member Barranco and seconded by Council Member Spellerberg to set a date of 2nd Reading for Tuesday, October 21, 2025 for Item 35.
Roll call vote to set a date of 2nd Reading. 7 Yes: Cole, Merkouris, Sigette, Soehl, Spellerberg, Thomason, Barranco; 0 No: (None). Motion Passed.
HEARINGS AND RESOLUTIONS
36. Deferred from the meeting of Wednesday, August 6, 2025; Deferred from the City Council Meeting on Wednesday, August 6, 2025, and Tuesday, September 2, 2025: A RESOLUTION OF THE CITY OF SIOUX FALLS APPROVING THE PRELIMINARY PLAN OF BRANDT’S 2ND ADDITION. The Planning Commission recommends approval (5-0).
Private Applicant(s): Empire Companies - Brady Hyde
A motion was made by Council Member Spellerberg and seconded by Council Member Cole to adopt Resolution No. 85-25.
Roll call vote to adopt. 7 Yes: Cole, Merkouris, Sigette, Soehl, Spellerberg, Thomason, Barranco; 0 No: (None). Motion Passed.
RESOLUTION NO. 85-25
A RESOLUTION OF THE CITY OF SIOUX FALLS APPROVING THE PRELIMINARY PLAN OF BRANDT’S 2ND ADDITION.
BE IT RESOLVED BY THE CITY OF SIOUX FALLS, SD:
That the preliminary plan of Brandt’s 2nd Addition to the City of Sioux Falls, Lincoln County, SD, is hereby approved, and the City Clerk of the City of Sioux Falls is hereby directed to endorse on such plan a copy of this resolution and certify the same thereon.
Date adopted: 10/07/25.
Paul TenHaken, Mayor
ATTEST:
Jermery J. Washington, City Clerk
37. A RESOLUTION INCLUDING CERTAIN CONTIGUOUS TERRITORY WITHIN THE CORPORATE LIMITS OF THE CITY OF SIOUX FALLS, SOUTH DAKOTA--ANNEXATION 021609-2025—N.S.P. 2nd Addition.
Sponsor: Mayor
A motion was made by Council Member Spellerberg and seconded by Council Member Soehl to adopt Resolution No. 80-25.
Roll call vote to adopt. 7 Yes: Cole, Merkouris, Sigette, Soehl, Spellerberg, Thomason, Barranco; 0 No: (None). Motion Passed.
RESOLUTION NO. 80-25
ANNEXATION 021609-2025—N.S.P. 2nd Addition
A RESOLUTION INCLUDING CERTAIN CONTIGUOUS TERRITORY WITHIN THE CORPORATE LIMITS OF THE CITY OF SIOUX FALLS, SOUTH DAKOTA.
WHEREAS, there has been presented to the City Council of the City of Sioux Falls and filed with the City Clerk, a Petition in writing signed by the owners and otherwise in compliance with the provisions of SDCL Chapter 9-4, requesting that the territory hereinafter described be included within the municipality; and
WHEREAS, there has been an analysis completed in regard to the territory hereinafter described and it has been found that:
1. The property has been properly described and is contiguous to the current city limits.
2. The proposed land uses and densities are generally consistent with the Shape Sioux Falls 2040 Comprehensive Plan.
NOW, THEREFORE, BE IT RESOLVED BY THE CITY OF SIOUX FALLS, SD:
It shall be the responsibility of the current or any subsequent owner of said property to provide the additional monetary resources needed to extend city utilities including water, sanitary sewer and necessary street improvement. Subsequently, the following described properties are and the same hereby are included within the corporate limits of the city of Sioux Falls, Minnehaha County, and the boundary of the city is hereby extended to include such territory:
Tract 2 of N.S.P. 2nd Addition in Government Lots 1 & 2 of the SW 1/4 & Government Lots 1 & 2 in the NW1/4 and the South 1/2 of the NE 1/4 and the North 1/2 of the SE 1/4 of Section 31, Township 102 N, Range 48 W; including all the East Rice Street and the west half of the South Six Mile Road rights-of-way adjacent thereto; Minnehaha County, South Dakota.
And that the City Clerk shall cause to be filed with the Register of Deeds, Minnehaha County, South Dakota, a duly certified transcript of this resolution.
Date adopted: 10/07/25.
Paul TenHaken, Mayor
ATTEST:
Jermery J. Washington, City Clerk
38. A RESOLUTION DECLARING IT NECESSARY TO LEVY AND LEVYING A FRONTAGE ASSESSMENT AGAINST THE LOTS, TRACTS, AND PARCELS OF LAND FRONTING AND ABUTTING UPON 21ST ST. FROM PHILLIPS AVE. TO 7TH AVE. IN THE CITY OF SIOUX FALLS FOR THE PURPOSE OF MAINTAINING, PLANTING, AND OTHERWISE IMPROVING AND CARING FOR THE CENTER PARKWAYS AND BOULEVARD THEREON.
Sponsor: Mayor
A motion was made by Council Member Sigette and seconded by Council Member Cole to adopt Resolution No. 81-25.
Roll call vote to adopt. 7 Yes: Cole, Merkouris, Sigette, Soehl, Spellerberg, Thomason, Barranco; 0 No: (None). Motion Passed.
RESOLUTION NO. 81-25
A RESOLUTION DECLARING IT NECESSARY TO LEVY AND LEVYING A FRONTAGE ASSESSMENT AGAINST THE LOTS, TRACTS, AND PARCELS OF LAND FRONTING AND ABUTTING UPON 21ST ST. FROM PHILLIPS AVE. TO 7TH AVE. IN THE CITY OF SIOUX FALLS FOR THE PURPOSE OF MAINTAINING, PLANTING, AND OTHERWISE IMPROVING AND CARING FOR THE CENTER PARKWAYS AND BOULEVARD THEREON.
BE IT RESOLVED BY THE CITY OF SIOUX FALLS, SD:
Section 1. It is necessary to levy and there shall be levied a frontage assessment upon each and every lot, tract, and parcel of land abutting and fronting upon 21st St. from Phillips Ave. to 7th Ave. in the city of Sioux Falls for the purpose of creating a fund to be used in maintaining, planting, and otherwise improving and caring for the center parkways and boulevard on 21st St. from Phillips Ave. to 7th Ave. in the city of Sioux Falls.
Section 2. There shall be an assessment against each lot, tract, and parcel of land abutting and fronting upon 21st St. from Phillips Ave. to 7th Ave. in the city of Sioux Falls, the sum of eighty-five cents ($.85) per front foot for the year 2026.
Section 3. That the City Clerk’s Office shall certify such frontage assessments to the county auditor of Minnehaha County, SD, and the same shall be collected in and as municipal taxes for general purposes.
Date adopted: 10/07/25.
Paul TenHaken, Mayor
ATTEST:
Jermery J. Washington, City Clerk
39. A RESOLUTION OF THE CITY OF SIOUX FALLS APPROVING THE PRELIMINARY PLAN OF BENSON’S ADDITION. The Planning Commission recommends approval (3-0).
Private Applicant(s): Sioux Falls Development Foundation – Dean Dziedzic
A motion was made by Council Member Barranco and seconded by Council Member Cole to adopt Resolution No. 82-25.
Roll call vote to adopt. 7 Yes: Cole, Merkouris, Sigette, Soehl, Spellerberg, Thomason, Barranco; 0 No: (None). Motion Passed.
RESOLUTION NO. 82-25
A RESOLUTION OF THE CITY OF SIOUX FALLS APPROVING THE PRELIMINARY PLAN OF BENSON’S ADDITION.
BE IT RESOLVED BY THE CITY OF SIOUX FALLS, SD:
That the preliminary plan of Benson’s Addition to the City of Sioux Falls, Minnehaha County, SD, is hereby approved, and the City Clerk of the City of Sioux Falls is hereby directed to endorse on such plan a copy of this resolution and certify the same thereon.
Date adopted: 10/07/25.
Paul TenHaken, Mayor
ATTEST:
Jermery J. Washington, City Clerk
40. A RESOLUTION OF THE CITY OF SIOUX FALLS APPROVING THE PRELIMINARY PLAN OF WALKER’S ADDITION. The Planning Commission recommends approval (3-0).
Private Applicant(s): Sioux Falls Development Foundation – Dean Dziedzic
A motion was made by Council Member Sigette and seconded by Council Member Spellerberg to adopt Resolution No. 83-25.
Roll call vote to adopt. 7 Yes: Cole, Merkouris, Sigette, Soehl, Spellerberg, Thomason, Barranco; 0 No: (None). Motion Passed.
RESOLUTION NO. 83-25
A RESOLUTION OF THE CITY OF SIOUX FALLS APPROVING THE PRELIMINARY PLAN OF WALKER’S ADDITION.
BE IT RESOLVED BY THE CITY OF SIOUX FALLS, SD:
That the preliminary plan of Walker’s Addition to the City of Sioux Falls, Minnehaha County, SD, is hereby approved, and the City Clerk of the City of Sioux Falls is hereby directed to endorse on such plan a copy of this resolution and certify the same thereon.
Date adopted: 10/07/25.
Paul TenHaken, Mayor
ATTEST:
Jermery J. Washington, City Clerk
41. A RESOLUTION ADVISING AND GIVING CONSENT TO THE APPOINTMENT OF MEMBERS TO VARIOUS CITIZEN BOARDS.
Sponsor: Mayor
A motion was made by Council Member Barranco and seconded by Council Member Merkouris to adopt Resolution No. 84-25.
Roll call vote to adopt. 7 Yes: Cole, Merkouris, Sigette, Soehl, Spellerberg, Thomason, Barranco; 0 No: (None). Motion Passed.
RESOLUTION NO. 84-25
A RESOLUTION ADVISING AND GIVING CONSENT TO THE APPOINTMENT OF MEMBERS TO CERTAIN CITIZEN BOARDS.
BE IT RESOLVED BY THE CITY OF SIOUX FALLS, SD:
That it gives its advice and consent to the following Mayoral appointments:
Name Board Term
Jaclyn Kramer Falls Community Health Center Governing Board Appointed for a term from October 2025 to October 2028.
Jessca Mundahl Regional Emergency Medical Services Authority. (REMSA) Re-appointed for a term from October 2025-October 2030.
Date adopted: 10/07/25.
Paul TenHaken, Mayor
ATTEST:
Jermery J. Washington, City Clerk
REPORT OF OFFICERS/BOARDS/COMMITTEES/TRANSFERS OF UNENCUMBERED APPROPRIATION BALANCES AMONG PROGRAMS WITHIN A DEPARTMENT OR ORGANIZATIONAL UNIT AS PROVIDED IN THE SIOUX FALLS CITY CHARTER SECTION 5.07(d)
42. NOTICE OF TRANSFER OF APPROPRIATIONS ON THE MEMORANDUM DATED: September 11, 2025.
NEW BUSINESS
There was none.
GENERAL PUBLIC INPUT
The following topics were discussed: citations and housing issues, concerns about Operation Prairie Thunder, illegal immigrants and ICE, a cartel in Sioux Falls, and the upcoming City election.
ADJOURNMENT
A motion was made by Council Member Spellerberg and seconded by Council Member Merkouris to adjourn the meeting at 7:05 p.m.
Voice vote to adjourn. 7 Yes: Cole, Merkouris, Sigette, Soehl, Spellerberg, Thomason, Barranco; 0 No: (None). Motion Passed.
Tamara Jorgensen, MMC, Assistant City Clerk
Published once on Oct. 10, 2025, at the approximate cost of $254.91, and may be viewed free of charge at www.sdpublicnotices.com or TheDakotaScout.com.
-
PUBLISH: Oct. 10, 2025
ORDINANCE NO. 58-25
AN ORDINANCE OF THE CITY OF SIOUX FALLS, SD, AMENDING THE CODE OF ORDINANCES OF THE CITY BY AMENDING CHAPTER 150: BUILDING, SUBCHAPTER ELECTRICITY, BY ADOPTING THE 2023 NATIONAL ELECTRICAL CODE AND AMENDMENTS THERETO.
BE IT ORDAINED BY THE CITY OF SIOUX FALLS, SD:
Section 1. That Section 150.201 of the Code of Ordinances of Sioux Falls, SD, is hereby amended to read:
§ 150.201 ELECTRICAL CODE ADOPTED.
(a) The National Electrical Code, 2023 edition (NFPA 70-2023), published by the National Fire Protection Association, and amendments and additions thereto, is hereby adopted by the city to regulate the design and construction, quality of materials, erection, installation, alteration, repair, location, relocation, replacement, addition to, use, or maintenance for all electrical systems and installations in the city of Sioux Falls.
(b) The adoption of the National Electrical Code, 2023 edition, will become effective November 12, 2024. The minimum electrical standards in the 2023 edition of the National Electrical Code and amendments, additions, and deletions thereto shall be applied to any building permit issued on November 12, 2024, and thereafter.
(c) A printed copy of the code shall be filed with the city clerk.
Section 2. That Section 150.201.1 of the Code of Ordinances of Sioux Falls, SD, is hereby amended to read:
§ 150.201.1 AMENDMENTS, ADDITIONS, AND DELETIONS TO THE 2023 NATIONAL ELECTRICAL CODE.
The following articles and subsections of the National Electrical Code, 2023 edition, shall be amended, added, or not adopted by the city as follows. All other sections or subsections of the National Electrical Code, 2023 edition, as published shall remain the same.
ARTICLE 100 Definitions. Part 1. Definitions. Equipment. A general term, including fittings, devices, appliances, luminaires, apparatus, and the like used as a part of, or in connection with, an electrical installation.
ARTICLE 100. Definitions. Part 1. Definitions. Kitchen. An area with a sink and permanent provisions for food preparation and cooking. A fixed or portable single microwave does not constitute a permanent cooking facility.
ARTICLE 100 Definitions. Strict Liability Offense. An offense in which the prosecution in a legal proceeding is not required to prove criminal intent as a part of its case. It is enough to prove that the defendant either did an act which was prohibited, or failed to do an act which the defendant was legally required to do.
110.2 Approval. The conductors and equipment required or permitted by this Code shall be acceptable only if approved.
The local electrical inspector shall enforce all rules and specifications in this article as necessary to determine conformity of electrical materials, devices, or appliances with approved methods of construction in order to protect life and property. The label of a nationally recognized electrical testing laboratory, inspection agency, or other organization concerned with product evaluation that maintains periodic inspection during production of equipment or materials, whose label indicates compliance with nationally recognized standards or tests to determine suitable usage in a specified manner, is prima facie evidence that the electrical materials, devices, or appliances are conforming and listed for installation under the provisions of this article.
Exception: Machinery that is reviewed and approved per the machinery policy as adopted by the South Dakota electrical commission.
Informational Note: See 90.7, Examination of Equipment for Safety, and 110.3, Examination, Identification, Installation, and Use of Equipment. See definitions of Approved, Identified, Labeled, and Listed.
110.3 Examination, Identification, Installation, Use, and Listing (Product Certification) of Equipment.
(A) Examination. In judging equipment, considerations such as the following shall be evaluated:
(1) Suitability for installation and use in conformity with this Code.
Informational Note No. 1: Equipment may be new, reconditioned, refurbished, or remanufactured.
Informational Note No. 2: Suitability of equipment use may be identified by a description marked on or provided with a product to identify the suitability of the product for a specific purpose, environment, or application. Special conditions of use or other limitations and other pertinent information may be marked on the equipment, included in the product instructions, or included in the appropriate listing and labeling information. Suitability of equipment may be evidenced by listing or labeling.
(2) Mechanical strength and durability, including, for parts designed to enclose and protect other equipment, the adequacy of the protection thus provided.
(3) Wire bending and connection space.
(4) Electrical insulation.
(5) Heating effects under normal conditions of use and also under abnormal conditions likely to arise in service.
(6) Arcing effects.
(7) Classification by type, size, voltage, current capacity, and specific use.
(8) Cybersecurity for network-connected life safety equipment to address its ability to withstand unauthorized updates and malicious attacks while continuing to perform its intended safety functionality.
Informational Note No. 3: See the ANSI/ISA 62443 series of standards for industrial automation and control systems, the UL 2900 series of standards for software cybersecurity for network-connectable products, and UL 5500, Standard for Remote Software Updates, which are standards that provide frameworks to mitigate current and future security cybersecurity vulnerabilities and address software integrity in systems of electrical equipment.
(9) Other factors that contribute to the practical safeguarding of persons using or likely to come in contact with the equipment.
The state electrical commission may grant special approval of materials, devices, or appliances if no standard has been prepared or adopted to which they should conform. Special approval applies only to the particular sample approved and not to the line as manufactured, stored, sold, installed, or attached and may be granted only for those materials, devices, or appliances which, in the opinion of the state electrical commission, are safe for the use intended. The details of decisions made by the commission shall be recorded and entered into the files of the electrical inspection division. The city does not assume any liability for damage or injury to persons or property because of the use of those materials, devices, or appliances.
110.26 Spaces About Electrical Equipment. (1) Depth of Working Space. The depth of the working space in the direction of live parts shall not be less than that specified in Table 110.26(A)(1) unless the requirements of 110.26(A)(1)(a), (A)(1)(b), or (A)(1)(c) are met. Distances shall be measured from the exposed live parts or from the enclosure or opening if the live parts are enclosed.
In new structures other than dwelling units, additional working space for switchboards, panelboards, switchgear, and motor control centers operating at 600 volts, nominal or less to ground, shall extend up 2 feet above the required working space from the front face of the switchboard, panelboards, switchgear, and motor control centers. This applies only to equipment not part of the electrical installation. Building construction materials shall be allowed in the 2-foot area.
Table 110.26(A)(1) Working Spaces
Nominal Voltage to Ground Minimum Clear Distance
Condition 1 Condition 2 Condition 3
0–150 914 mm
(3 ft) 914 mm
(3 ft) 914 mm
(3 ft)
151–600 914 mm
(3 ft) 1.0668 m
(3 ft 6 in) 1.22 m
(4 ft)
600–1000 914 mm
(3 ft) 1.22 m
(4 ft) 1.524 m
(5 ft)
Note: Where the conditions are as follows:
Condition 1—Exposed live parts on one side of the working space and no live or grounded parts on the other side of the working space, or exposed live parts on both sides of the working space that are effectively guarded by insulating materials.
Condition 2—Exposed live parts on one side of the working space and grounded parts on the other side of the working space. Concrete, brick, or tile walls shall be considered as grounded.
Condition 3—Exposed live parts on both sides of the working space.
(a) Dead-Front Assemblies. Working space shall not be required in the back or sides of assemblies, such as dead-front switchboards, switchgear, or motor control centers, where all connections and all renewable or adjustable parts, such as fuses or switches, are accessible from locations other than the back or sides. Where rear access is required to work on nonelectrical parts on the back of enclosed equipment, a minimum horizontal working space of 762 mm (30 in) shall be provided.
(b) Low Voltage. By special permission, smaller working spaces shall be permitted where all exposed live parts operate at not greater than 30 volts rms, 42 volts peak, or 60 volts dc.
(c) Existing Buildings. In existing buildings where electrical equipment is being replaced, Condition 2 working clearance shall be permitted between dead-front switchboards, switchgear, panelboards, or motor control centers located across the aisle from each other where conditions of maintenance and supervision ensure that written procedures have been adopted to prohibit equipment on both sides of the aisle from being open at the same time and qualified persons who are authorized will service the installation.
110.27 Guarding of Live Parts. (D) Electric Fences. Electric fencing is not allowed to be installed in the city except as approved by the electrical board of appeals and examiners.
210.8(A) Dwelling Units. All 125-volt through 250-volt receptacles installed in the following locations and supplied by single-phase branch circuits rated 150 volts or less to ground shall have ground-fault circuit-interrupter protection for personnel.
(1) Bathrooms.
(2) Garages and also accessory buildings that have a floor located at or below grade level not intended as habitable rooms and limited to storage areas, work areas, and areas of similar use.
(3) Outdoors.
(4) Crawl spaces—at or below grade level.
(5) Basements.
(6) Kitchens.
(7) Areas with sinks and permanent provisions for food preparation, beverage preparation, or cooking.
(8) Sinks—where receptacles are installed within 1.8 m (6 ft) from the top inside edge of the bowl of the sink.
(9) Boathouses.
(10) Bathtubs or shower stalls—where receptacles are installed within 1.8 m (6 ft) of the outside edge of the bathtub or shower stall.
(11) Laundry areas—where receptacles are installed within 3.0 m (10 ft) of the laundry box or water supply laundry hookups.
(12) Indoor damp and wet locations.
Exception No. 1: Receptacles that are not readily accessible and are supplied by a branch circuit dedicated to electric snow melting, deicing, or pipeline and vessel heating equipment shall be permitted to be installed in accordance with 426.28 or 427.22, as applicable.
Exception No. 2: A receptacle supplying only a permanently installed premises security system shall be permitted to omit ground-fault circuit-interrupter protection.
Exception No. 3: Listed weight-supporting ceiling receptacles (WSCR) utilized in combination with compatible weight-supporting attachment fittings (WSAF) installed for the purpose of supporting a ceiling luminaire or ceiling-suspended fan shall be permitted to omit ground-fault circuit-interrupter protection. If a general-purpose convenience receptacle is integral to the ceiling luminaire or ceiling-suspended fan, GFCI protection shall be provided.
Exception No. 4: Factory-installed receptacles that are not readily accessible and are mounted internally to bathroom exhaust fan assemblies shall not require GFCI protection unless required by the installation instructions or listing.
Informational Note: See 760.41(B) and 760.121(B) for power supply requirements for fire alarm systems.
Exception No. 5: Properly labeled recreational vehicle (RV) receptacles other than 125-volt, single-phase, fifteen- and twenty-ampere receptacles are exempt from ground-fault circuit interrupter (GFCI) requirements in section 210.8(A).
Exception No 6: Any outlet in a dwelling unit supplying a specific appliance in Section 210.8(D)(8) through (12) is exempt from GFCI requirements.
210.8(F) Outdoor Outlets. Not adopted by the State or the City.
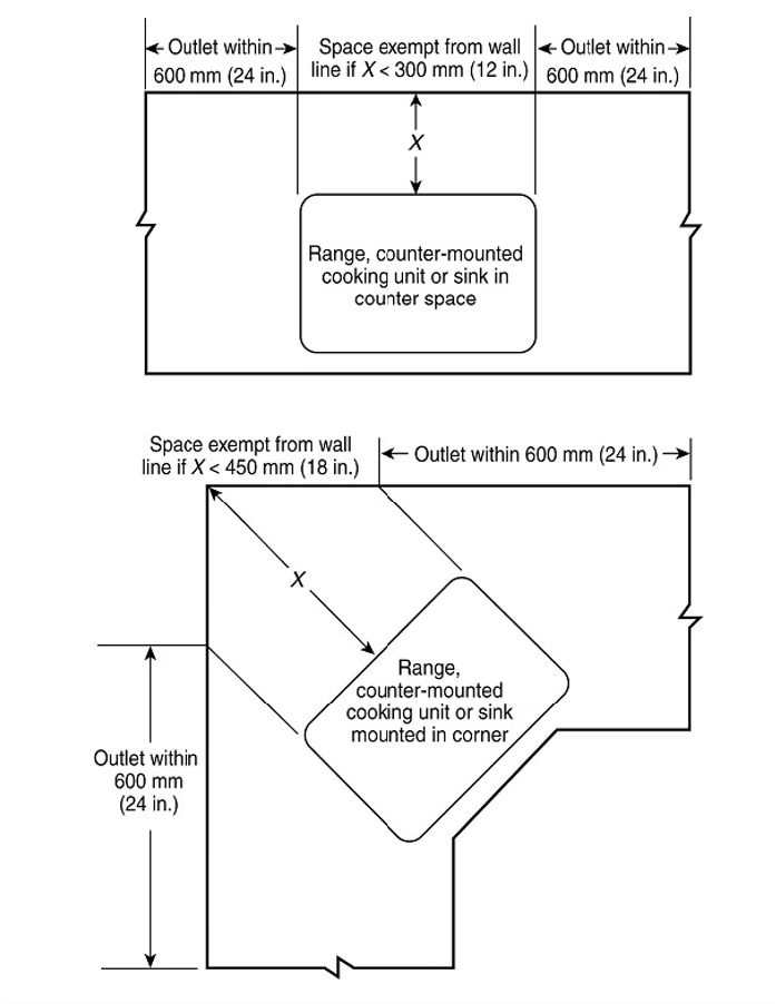
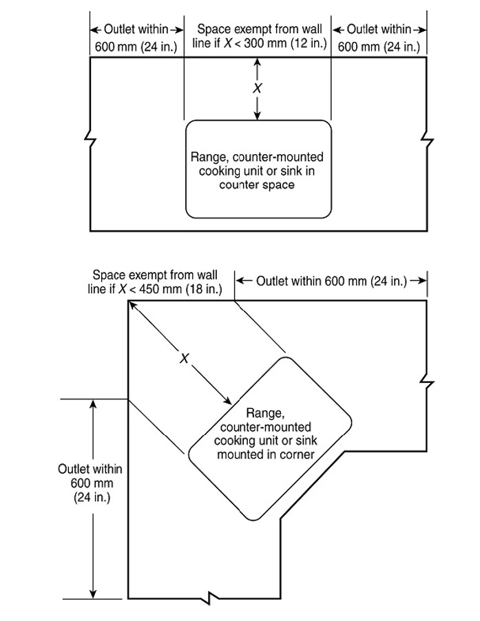
210.52 Dwelling Unit Receptacle Outlets. (C)(1) Wall Spaces. Receptacle outlets shall be installed so that no point along the wall line is more than 600 mm (24 in) measured horizontally from a receptacle outlet in that space. The location of the receptacles shall be in accordance with 210.52(C)(3). Wall counter space receptacle outlet requirements shall apply to island and peninsula counter spaces provided with backsplash and permanent vertical wall components.
Exception No. 1: Receptacle outlets shall not be required o directly behind a range, counter-mounted cooking unit, or sink in the installation described in Figure 210.52(C)(1).
Exception No. 2: Where a required receptacle outlet cannot be installed in the wall areas shown in Figure 210.52(C)(1), the receptacle outlet shall be permitted to be installed as close as practicable to the countertop area to be served. The total number of receptacle outlets serving the countertop shall not be less than the number needed to satisfy 210.52(C)(1). These outlets shall be located in accordance with 210.52(C)(3).
Figures 210.52(C)(1) Determination of Area Behind a Range, Counter-Mounted Cooking Unit, or Sink.
210.52 Dwelling Unit Receptacle Outlets. (J.) Water softening equipment. In one- and two-family dwellings and town houses, a receptacle outlet shall be installed within 3 feet of the water softener loop or 3 feet of the water heater if no loop exists for water softening equipment.
210.52 Dwelling Unit Receptacle Outlets. (K.) Sump pit. In one- and two-family dwellings and town houses, a GFI-protected receptacle outlet shall be installed within 3 feet of the sump pit on an individual circuit.
210.52 Dwelling Unit Receptacle Outlets. (L) Gas Ranges. In one- and two-family dwellings and town houses, a receptacle outlet shall be installed within 3 feet of the gas range on an individual circuit.
230.28 Service Masts as Supports. (A) Strength. The service or feeder mast shall be of adequate strength or be supported by braces or guy wires to withstand safely the strain imposed by the service drop or overhead service conductors. Hubs intended for use with a conduit that serves as a service mast shall be identified for use with service entrance equipment.
To gain height, a perpendicular mast shall be installed for the support of service drops to low buildings. This mast must be installed according to the following requirements:
(1) If conduit is used, it must be not less than 2-inch trade-size galvanized, rigid conduit, or intermediate metal conduit.
(2) If a wood mast is used, it must be not smaller in cross section than 4 inches by 6 inches.
(3) If the mast extends more than 48 inches above its last support, the mast must be at least 96 inches long, attached to the structure at a minimum of two locations, and guyed with 1/4-inch minimum guy strand or equivalent, or braced with guy fittings and approved according to Article 90.4 of the National Electrical Code. The measurement is taken from the bottom of the weather head to the top of the first support.
(4) If the mast extends more than 72 inches above its last support, the mast must be at least 120 inches long, attached to the structure at a minimum of three locations, and guyed with fittings in two directions to provide support.
(5) Only the power company’s service drop conductors shall be attached to a service mast. Phone loops, cable TV conduits, grounding clamps, and the like shall not be attached to the service mast. Conduit couplings shall not be installed above the roof line.
230.91 Location. The service overcurrent device shall be an integral part of the service disconnecting means or shall be located immediately adjacent thereto. Where fuses are used as the service overcurrent device, the disconnecting means shall be located ahead of the supply side of the fuses.
The raceway containing conductors to the service entrance disconnect enclosure may not extend more than 5 feet inside the structure, except with the written permission of the state electrical or local electrical inspector. The raceway or cable assembly may not extend more than 5 feet once inside the structure to the main disconnect. Metering enclosures and junction boxes are not included when determining these lengths. Additional lengths in the structure may be installed only with the prior written permission of the electrical inspector or approval of the electrical board of appeals and examiners.
250.24 Grounding of Service-Supplied Alternating-Current Systems. (A) System Grounding Connections. (1) General. The grounding electrode conductor connection shall be made at any accessible point from the load end of the overhead service conductors, service drop, underground service conductors, or service lateral to the terminal or bus to which the grounded service conductor is connected at the service disconnecting means. All grounding electrode conductors of the system grounding connection must terminate on the neutral bus inside the service equipment unless they are inspected before the service is energized by the power supplier.
Informational Note: See Article 100 for definitions of Service Conductors, Overhead; Service Conductors, Underground; Service Drop; and Service Lateral.
250.53 Grounding Electrode System Installation. (D) Metal Underground Water Pipe. (1) Continuity. Continuity of the grounding path or the bonding connection to interior piping shall not rely on water meters or filtering devices and similar equipment.
A bonding jumper size in accordance with Table 250.66 shall be installed between the hot and cold water lines at the water heater and cold hard and soft lines even if the softener is not in place.
300.5 Underground Installations. (D) Protection from Damage. Direct-buried conductors and cables shall be protected from damage in accordance with 300.5(D)(1) through (D)(5).
(1) Emerging from Grade. Direct-buried conductors and cables emerging from grade and specified in columns 1 and 4 of Table 300.5(A) shall be protected by enclosures or raceways extending from the minimum cover distance below grade required by 300.5(A) to a point at least 2.5 m (8 ft) above finished grade. In no case shall the protection be required to exceed 450 mm (18 in) below finished grade.
(2) Conductors Entering Buildings. Conductors entering a building shall be protected to the point of entrance.
(3) Service Conductors. Underground service conductors that are not encased in concrete and that are buried 450 mm (18 in) or more below grade shall have their location identified by a warning ribbon that is placed in the trench at least 300 mm (12 in) above the underground installation.
(4) Enclosure or Raceway Damage. Where the enclosure or raceway is subject to physical damage, the conductors shall be installed in electrical metallic tubing, rigid metal conduit, intermediate metal conduit, RTRC-XW, Schedule 80 PVC conduit, or equivalent.
(5) Underground Conductors to Comply with Installation Requirements. All underground conductor installations, in addition to complying with the requirements of the National Electrical Code, laws of the state of South Dakota, and the state electrical commission, shall comply with the requirement that direct burial underground service conductors or feeders shall be installed in a raceway from the building to a point beyond any concrete or asphalt slabs, stoops, footings, or driveways, which may interfere with future conductor replacement.
300.13 Mechanical and Electrical Continuity—Conductors. (B) Device Removal. The continuity of a conductor shall not depend on device connections such as lampholders, receptacles, and so forth, where the removal of such devices would interrupt the continuity.
310.10 Uses Permitted. (C) Wet Locations. Insulated conductors and cables used in wet locations shall comply with one of the following:
(1) Be moisture-impervious metal-sheathed.
(2) Be types MTW, RHW, RHW-2, TW, THW, THW-2, THHW, THWN, THWN-2, XHHW, XHHW-2, XHWN, XHWN-2, or ZW.
(3) Be of a type listed for use in wet locations.
For the installation of cables and equipment that are not approved for a wet location, the structure must meet the following:
(1) Must maintain a minimum of 20 degrees Fahrenheit temperature in building.
(2) Must have a weatherproofed roof.
(3) Must be totally enclosed.
Exception. Areas located outside of an area measured from the top and sides of an opening at a 1 to 1 ratio.
334.30 Securing and Supporting. Nonmetallic-sheathed cable shall be supported and secured by nonconductive insulated staples, cable ties listed and identified for securement and support, or straps, hangers, or similar fittings designed and installed so as not to damage the cable, at intervals not exceeding 1.4 m (4 1/2 ft) and within 300 mm (12 in) of every cable entry into enclosures such as outlet boxes, junction boxes, cabinets, or fittings. The cable length between the cable entry and the closest cable support shall not exceed 450 mm (18 in). Flat cables shall not be stapled on edge.
Sections of cable protected from physical damage by raceway shall not be required to be secured within the raceway.
358.12 Uses Not Permitted. EMT shall not be used under the following conditions:
(1) Where subject to severe physical damage.
(2) For the support of luminaires or other equipment except conduit bodies no larger than the largest trade size of the tubing.
(3) Electrical metallic tubing may not be used in concrete below grade or in concrete slab or masonry in direct contact with earth nor embedded in earth or fill. The use of a vapor barrier has no effect on the requirements of this section.
408.36 Overcurrent Protection. In addition to the requirement of 408.30, a panelboard shall be protected by an overcurrent protective device having a rating not greater than that of the panelboard. This overcurrent protective device shall be located within or at any point on the supply side of the panelboard. Installation of 120-volt plug-in circuit breakers in three-phase, four-wire panelboard on a delta system is prohibited.
Exception No. 1: Individual protection shall not be required for a panelboard protected by two main circuit breakers or two sets of fuses in other than service equipment, having a combined rating not greater than that of the panelboard. A panelboard constructed or wired under this exception shall not contain more than 42 overcurrent devices. For the purposes of determining the maximum of 42 overcurrent devices, a 2-pole or a 3-pole circuit breaker shall be considered as two or three overcurrent devices, respectively.
Exception No. 2: For existing panelboards, individual protection shall not be required for a panelboard used as service equipment for an individual residential occupancy.
422.12 Central Heating Equipment. Central heating equipment other than fixed electric space- heating equipment shall be supplied by an individual branch circuit and a disconnect shall be provided in sight and within 6 feet of the unit.
Exception No. 1: Auxiliary equipment, such as a pump, valve, humidifier, or electrostatic air cleaner directly associated with the heating equipment, shall be permitted to be connected to the same branch circuit.
Exception No. 2: Permanently connected air-conditioning equipment shall be permitted to be connected to the same branch circuit.
517.13 Equipment Grounding Conductor for Receptacles and Fixed Electrical Equipment in Patient Care Spaces. (B) Insulated Equipment Grounding Conductors and Insulated Equipment Bonding Jumpers. (1) General. All receptacles installed in a patient care area shall be listed “Hospital Grade” and shall be so identified and the identification shall be visible after installation. An insulated copper equipment grounding conductor that is clearly identified along its entire length by green insulation and installed with the branch circuit conductors within the wiring method in accordance with 517.13(A) shall be connected to the following:
(1) Grounding terminals of all receptacles other than isolated ground receptacles.
(2) Metal outlet boxes, metal device boxes, or metal enclosures.
(3) All non-current-carrying conductive surfaces of fixed electrical equipment likely to become energized that are subject to personal contact, operating at over 100 volts.
Exception No. 1: For other than isolated ground receptacles, an insulated equipment bonding jumper that directly connects to the equipment grounding conductor shall be permitted to connect the box and receptacle(s) to the equipment grounding conductor. Isolated ground receptacles shall be connected in accordance with 517.16.
Exception No. 2: Metal faceplates shall be connected to an effective ground-fault current path by means of a metal mounting screw(s) securing the faceplate to a metal yoke or strap of a receptacle or to a metal outlet box.
Exception No. 3: Luminaires more than 2.3 m (7 1/2 ft) above the floor and switches located outside of the patient care vicinity shall be permitted to be connected to an equipment grounding return path complying with 517.13(A) or (B).
Section 3. That Section 150.204 of the Code of Ordinances of Sioux Falls, SD, is hereby amended to read:
§ 150.204 SCOPE.
The provisions of this code shall apply to the installation, alteration, repair, relocation, replacement, addition to, use or maintenance of any electrical system, apparatus, wiring or equipment for electrical light, heat, power, fire alarms, data, security, and associate controls, within the jurisdictional limits of the city.
Section 4. That Section 150.206 of the Code of Ordinances of Sioux Falls, SD, is hereby amended to read:
§ 150.206 APPLICATION TO EXISTING ELECTRICAL SYSTEMS.
(a) Additions, alterations, or repairs.
(1) Additions, alterations, or repairs to any building, structure, or premises may be made to any electrical system or equipment without requiring the existing electrical system to comply with all the requirements of this code, provided the addition, alteration, or repair conforms to that required for a new electrical system or equipment. Additions, alterations, installations, or repairs shall not cause an existing system to become unsafe, create unhealthy or overloaded conditions, or shall not adversely affect the performance of the building as determined by the authority having jurisdiction. Electrical wiring added to an existing service, feeder, or branch circuit shall not result in an installation that violates the provisions of the code in effect at the time the additions are made.
(2) Provisions of the International Existing Building Code may apply to electrical modifications of buildings undergoing additions, alterations, repairs, and changes of occupancy.
(b) When increasing the total ampacity to the property existing single-family and multiple-family dwellings.
(1) When adding increased amperage to the property, the existing electrical system shall, at a minimum, comply with the following.
A. Kitchens. Each kitchen shall have a minimum of one 20-ampere circuit serving a countertop receptacle and a grounded receptacle serving a refrigerator.
B. Overcurrent device location. In multifamily dwellings, each occupant shall have access to his or her branch circuit overcurrent devices without going outdoors or through another occupancy.
C. Habitable areas. All habitable areas, other than closets, kitchens, basements, garages, hallways, laundry areas, utility areas, storage areas, and bathrooms, shall have minimum of two duplex receptacle outlets or one duplex receptacle outlet and one ceiling or wall-type lighting outlet.
D. Minimum lighting outlets. At least one lighting fixture shall be provided in every habitable room, bathroom, hallway, stairway, attached garage, and detached garage with electrical power, in utility rooms, and basements where the spaces are used for storage or contain equipment requiring service, and to illuminate outdoor entrances and exits. A switched receptacle is allowed in lieu of a lighting fixture in habitable rooms only.
E. Ground fault circuit interrupters. Ground fault circuit interrupter protection shall be provided for all receptacles in bathrooms, laundries, kitchens, attached and detached garages provided with power, at readily accessible receptacles within 6 feet of sinks, basements, and at outdoor locations. The exceptions of the National Electrical Code §§ 210.8(A)3 and 5 shall apply.
F. Laundries. Each laundry shall be provided with at least one individual branch 20-ampere circuit. Circuit is required to be AFCI/GFCI protected.
G. Heat sources. The primary heat source shall be provided with an individual branch circuit and disconnect.
H. Exposed wiring methods. All exposed wiring methods shall be installed in accordance with the applicable National Electrical Code articles of Chapter 3.
I. Bathrooms. Each bathroom shall have one receptacle outlet located within 3 feet of the basin. Any bathroom receptacle outlet shall have ground fault circuit interrupter protection.
J. Emergency disconnect. An emergency disconnect shall be provided as required in Section 230.85 of the National Electric Code for one- and two-family dwelling units and townhomes.
(2) Minor additions, alterations, and repairs to existing electrical systems or equipment may be installed in accordance with the law in effect at the time the original installation was made, when approved by the electrical inspector.
(c) Existing installations. Electrical systems or equipment lawfully in existence at the time of the adoption of this code may have their use, maintenance, or repair continued if the use, maintenance, or repair is in accordance with the original design and location and no hazard to life, health, or property has been created by the electrical system.
(d) Changes in building occupancy. Electrical systems or equipment that are a part of any building or structure undergoing a change in occupancy, use, or character of use as defined in the building code shall comply with all requirements of this code which may be applicable to the new occupancy, use, or character of use. Provisions of the International Existing Building Code may apply to buildings undergoing a change of occupancy.
(e) Maintenance. All electrical systems, equipment materials, and appurtenances, both existing and new, and all parts thereof shall be maintained in proper operating condition in accordance with the original design and in a safe and hazard-free condition. All devices or safeguards which are required by this code shall be maintained in conformance with the code edition under which installed. The owner or the owner’s designated agent shall be responsible for maintenance of electrical systems and equipment. To determine compliance with this division (e), the building official may cause an electrical system or equipment to be reinspected.
(f) Moved buildings. Single, modular, or multifamily residential units moved from one location to another must have at least a 100-ampere service at the new location and must meet the ground-fault circuit-interrupter protection and arc-fault circuit interrupter protection requirements of the National Electrical Code.
Date adopted: 10/07/25 .
Paul TenHaken, Mayor
ATTEST:
Jermery J. Washington, City Clerk
Published once on Oct. 10, 2025, at the approximate cost of $411.20, and may be viewed free of charge at www.sdpublicnotices.com or TheDakotaScout.com.
-
PUBLISH: Oct. 10, 2025
ORDINANCE NO. 59-25
AN ORDINANCE OF THE CITY OF SIOUX FALLS, SD, REZONING PROPERTY LOCATED NORTH OF W. MEMORY LANE AND WEST OF I-29 (BENSON’S) FROM THE AG AGRICULTURE DISTRICT TO THE I-2 HEAVY INDUSTRIAL DISTRICT, NO. 021328-2025, AND AMENDING THE OFFICIAL ZONING MAP OF THE CITY OF SIOUX FALLS.
BE IT ORDAINED BY THE CITY OF SIOUX FALLS, SD:
Tract 10, Benson’s Addition in the NE1/4, Section 13-T102N-R50W, City of Sioux Falls, Minnehaha County, SD, is hereby rezoned from the AG Agriculture District to the I-2 Heavy Industrial District located north of W. Memory Lane and west of I-29 (Benson’s), and the official zoning map of the City of Sioux Falls is amended to include the rezoning.
Date adopted: 10/07/25 .
Paul TenHaken, Mayor
ATTEST:
Jermery J. Washington, City Clerk
Published once on Oct. 10, 2025, at the approximate cost of $12.24, and may be viewed free of charge at www.sdpublicnotices.com or TheDakotaScout.com.
-
PUBLISH: Oct. 10, 2025
ORDINANCE NO. 60-25
AN ORDINANCE OF THE CITY OF SIOUX FALLS, SD, REZONING PROPERTY LOCATED AT 210 N. SHERMAN AVE. FROM THE RT-1 SINGLE-FAMILY RESIDENTIAL—TRADITIONAL DISTRICT TO THE S-1 GENERAL INSTITUTIONAL DISTRICT, NO. 021352-2025, AND AMENDING THE OFFICIAL ZONING MAP OF THE CITY OF SIOUX FALLS.
BE IT ORDAINED BY THE CITY OF SIOUX FALLS, SD:
Lot 1, Block 7, East Sioux Falls Addition, City of Sioux Falls, Minnehaha County, SD, is hereby rezoned from the RT-1 Single-Family Residential—Traditional District to the S-1 General Institutional District located at 210 N. Sherman Ave., and the official zoning map of the City of Sioux Falls is amended to include the rezoning.
Date adopted: 10/07/25 .
Paul TenHaken, Mayor
ATTEST:
Jermery J. Washington, City Clerk
Published once on Oct. 10, 2025, at the approximate cost of $11.92, and may be viewed free of charge at www.sdpublicnotices.com or TheDakotaScout.com.
-
PUBLISH: Oct. 10, 2025
ORDINANCE NO. 61-25
AN ORDINANCE OF THE CITY OF SIOUX FALLS, SD, REZONING PROPERTY LOCATED AT 2011 S. NORTON AVE. FROM THE S-2 INSTITUTIONAL CAMPUS PUD DISTRICT TO THE RD-1 TWIN HOME/DUPLEX RESIDENTIAL—SUBURBAN DISTRICT, NO. 021655-2025, AND AMENDING THE OFFICIAL ZONING MAP OF THE CITY OF SIOUX FALLS.
BE IT ORDAINED BY THE CITY OF SIOUX FALLS, SD:
The S 1/2 of Lot 6 and Lot 7, Block 20, University Addition, City of Sioux Falls, Minnehaha County, SD, is hereby rezoned from the S-2 Institutional Campus PUD District to the RD-1 Twin Home/Duplex Residential—Suburban District located at 2011 S. Norton Ave., and the official zoning map of the City of Sioux Falls is amended to include the rezoning.
Date adopted: 10/07/25 .
Paul TenHaken, Mayor
ATTEST:
Jermery J. Washington, City Clerk
Published once on Oct. 10, 2025, at the approximate cost of $12.24, and may be viewed free of charge at www.sdpublicnotices.com or TheDakotaScout.com.
-
PUBLISH: Oct. 10, 2025
ORDINANCE NO. 62-25
AN ORDINANCE OF THE CITY OF SIOUX FALLS, SD, REZONING PROPERTY LOCATED NORTH OF W. MEMORY LANE AND WEST OF I-29 (WALKER’S) FROM THE CN CONSERVATION AND AG AGRICULTURE DISTRICTS TO THE I-2 HEAVY INDUSTRIAL DISTRICT, NO. 021664-2025, AND AMENDING THE OFFICIAL ZONING MAP OF THE CITY OF SIOUX FALLS.
BE IT ORDAINED BY THE CITY OF SIOUX FALLS, SD:
A Portion of Tracts 4-5 and 10 in the N1/2 of the NW 1/4, Section 13-T102N-R50W, Walker’s Addition, As Shown by Exhibit, City of Sioux Falls, Minnehaha County, SD, is hereby rezoned from the CN Conservation and AG Agriculture Districts to the I-2 Heavy Industrial District located north of W. Memory Lane and west of I-29 (Walker’s), and the official zoning map of the City of Sioux Falls is amended to include the rezoning.
Date adopted: 10/07/25 .
Paul TenHaken, Mayor
ATTEST:
Jermery J. Washington, City Clerk
Published once on Oct. 10, 2025, at the approximate cost of $13.53, and may be viewed free of charge at www.sdpublicnotices.com or TheDakotaScout.com.
-
PUBLISH: Oct. 10, 2025
-
PUBLISH: Oct. 10, 2025
ORDINANCE NO. 63-25
AN ORDINANCE OF THE CITY OF SIOUX FALLS, SD, REZONING PROPERTY LOCATED SOUTH OF E. 10TH ST. AND EAST OF S. SIX MILE RD. FROM THE CN CONSERVATION DISTRICT TO THE RS SINGLE-FAMILY RESIDENTIAL—SUBURBAN DISTRICT, NO. 021721-2025, AND AMENDING THE OFFICIAL ZONING MAP OF THE CITY OF SIOUX FALLS.
BE IT ORDAINED BY THE CITY OF SIOUX FALLS, SD:
A Portion of Tract 1, Willow Run Addition, As Shown by Exhibit, City of Sioux Falls, Minnehaha County, SD, is hereby rezoned from the CN Conservation District to the RS Single-Family Residential—Suburban District located south of E. 10th St. and east of S. Six Mile Rd., and the official zoning map of the City of Sioux Falls is amended to include the rezoning.
Date adopted: 10/07/25 .
Paul TenHaken, Mayor
ATTEST:
Jermery J. Washington, City Clerk
Published once on Oct. 10, 2025, at the approximate cost of $12.88, and may be viewed free of charge at www.sdpublicnotices.com or TheDakotaScout.com.
-
PUBLISH: Oct. 10, 2025
-
PUBLISH: Oct. 10, 2025
ORDINANCE NO. 64-25
AN ORDINANCE OF THE CITY OF SIOUX FALLS, SD, REZONING PROPERTY LOCATED SOUTH OF W. 69TH ST. AND WEST OF S. BEAL AVE. FROM THE AG AGRICULTURE DISTRICT TO THE RA-3 APARTMENT RESIDENTIAL—HIGH DENSITY DISTRICT, NO. 021361-2025, AND AMENDING THE OFFICIAL ZONING MAP OF THE CITY OF SIOUX FALLS.
BE IT ORDAINED BY THE CITY OF SIOUX FALLS, SD:
A Portion of Tract 2, Brandt’s Addition, As Shown by Exhibit, City of Sioux Falls, Lincoln County, SD, is hereby rezoned from the AG Agriculture District to the RA-3 Apartment Residential—High Density District located south of W. 69th St. and west of S. Beal Ave., and the official zoning map of the City of Sioux Falls is amended to include the rezoning.
Date adopted: 10/07/25 .
Paul TenHaken, Mayor
ATTEST:
Jermery J. Washington, City Clerk
Published once on Oct. 10, 2025, at the approximate cost of $12.24, and may be viewed free of charge at www.sdpublicnotices.com or TheDakotaScout.com.
-
PUBLISH: Oct. 10, 2025
-
PUBLISH: Oct. 3 & Oct. 10, 2025
REQUEST NO. 26-0002
REQUEST FOR PROPOSAL
The City of Sioux Falls, SD, requests competitive sealed proposals for Emergency Vehicle Upfitting Services for the Sioux Falls Police Department.
To participate, you must be registered as a vendor in the e-procurement portal. Register at siouxfalls.bonfirehub.com by selecting “Register” next to the login tab. After you have registered, navigate to the Open Public Opportunities tab to view this request for proposal. Proposals will be electronically submitted through the e-procurement portal and will be received by the e-procurement portal not later than 2 p.m., Central time, October 30, 2025. Immediately thereafter, the bids will be publicly opened and read at 3 p.m., Central time, City Hall, 224 W. 9th St., Sioux Falls, SD 57104. You may watch the bid opening virtually via Webex by utilizing information and links located at www.siouxfalls.gov/purchasing.
A mandatory preproposal meeting will be held at 9 a.m. on Tuesday, October 14, 2025, at the Fleet Division, 1000 East Chambers Street, for all interested proposers.
It is the vendor’s responsibility to check the e-procurement portal for any changes or updates to the invitation for bid, which will be in the form of an addendum posted to the e-procurement portal.
Telegraphic, fax, email, and hand-delivered responses will not be accepted unless specifically authorized in the terms and conditions of the solicitation.
The City of Sioux Falls reserves the right to reject any or all bids, waive technicalities, and make award(s) as deemed to be in the best interest of Sioux Falls, SD.
Published twice on Oct. 3 & Oct. 10, 2025, at the approximate cost of $36.55, and may be viewed free of charge at www.sdpublicnotices.com or TheDakotaScout.com.
-
PUBLISH: Oct. 3 & Oct. 10, 2025
BID REQUEST NO. 25-0125
NOTICE TO BIDDERS
The City of Sioux Falls, SD, requests formal bids for cleaning services at various City facilities.
To participate, you must be registered as a vendor in the e-Procurement portal. Register at siouxfalls.bonfirehub.com by selecting “Register” next to the login tab. After you have registered, navigate to the Open Public Opportunities tab to view this invitation for bid. Bids will be electronically submitted through the e-Procurement portal and will be received by the e-Procurement portal not later than 2 p.m., Central time, October 16, 2025. Immediately thereafter, the bids will be publicly opened and read at 3 p.m., Central time, City Hall, 224 W. 9th St., Sioux Falls, SD 57104. You may watch the bid opening virtually via Webex by utilizing information and links located at www.siouxfalls.gov/purchasing.
It is the vendor’s responsibility to check the e-procurement portal website for any changes or updates to the invitation for bid, which will be in the form of an addendum posted to the e-Procurement portal website.
Telegraphic, fax, email, and hand-delivered responses will not be accepted unless specifically authorized in the terms and conditions of the solicitation.
The City of Sioux Falls reserves the right to reject any or all bids, waive technicalities, and make award(s) as deemed to be in the best interest of Sioux Falls, SD.
Published twice on Oct. 3 & Oct. 10, 2025, at the approximate cost of $31.90, and may be viewed free of charge at www.sdpublicnotices.com or TheDakotaScout.com.
-
PUBLISH: Oct. 3 & Oct. 10, 2025
BID REQUEST NO. 25-0124
NOTICE TO BIDDERS
The City of Sioux Falls, SD, requests formal bids for Sidewalk Snow Removal Services.
To participate, you must be registered as a vendor in the e-procurement portal. Register at siouxfalls.bonfirehub.com by selecting “Register” next to the login tab. After you have registered, navigate to the Open Public Opportunities tab to view this invitation for bid. Bids will be electronically submitted through the e-procurement portal and will be received by the e procurement portal not later than 2 p.m., Central time, October 16, 2025. Immediately thereafter, the bids will be publicly opened and read at 3 p.m., Central time, City Hall, 224 W. 9th St., Sioux Falls, SD 57104. You may watch the bid opening virtually via Webex by utilizing information and links located at www.siouxfalls.gov/purchasing.
It is the vendor’s responsibility to check the e-procurement portal website for any changes or updates to the invitation for bid, which will be in the form of an addendum posted to the e procurement portal website.
Telegraphic, fax, email, and hand-delivered responses will not be accepted unless specifically authorized in the terms and conditions of the solicitation.
The City of Sioux Falls reserves the right to reject any or all bids, waive technicalities, and make award(s) as deemed to be in the best interest of Sioux Falls, SD.
Published twice on Oct. 3 & Oct. 10, 2025, at the approximate cost of $31.33, and may be viewed free of charge at www.sdpublicnotices.com or TheDakotaScout.com.
-
PUBLISH: Oct. 3 & Oct. 10, 2025
BID REQUEST NO. 25-0121
REQUEST FOR PROPOSALS
The City of Sioux Falls, SD, requests competitive sealed proposals for the Purchase and/or Lease of Motor Graders.
To participate, proposers must be registered as a vendor in the e-procurement portal. Register at siouxfalls.bonfirehub.com by selecting “Register” next to the login tab. After you have registered, navigate to the Open Public Opportunities tab to view the solicitation. Proposals will be electronically submitted through the e-procurement portal and will be received by the portal not later than 2 p.m., Central time, October 30, 2025. Proposals will be publicly opened but not read at 3 p.m., Central time, City Hall, 224 W. 9th St., Sioux Falls, SD 57104. You may watch the bid opening virtually via Webex by utilizing information and links located at www.siouxfalls.gov/purchasing.
A preproposal meeting will be held at 1 p.m. on Friday, October 10, 2025, for all interested vendors. The meeting will be held at the Sioux Falls Street Department located at 1000 East Chambers Street.
It is the vendor’s responsibility to check the e-procurement portal for any changes or updates to the Competitive Sealed Proposal, which will be in the form of an addendum posted to the solicitation in the e-procurement portal.
Telegraphic, fax, email, and hand-delivered responses will not be accepted unless specifically authorized in the terms and conditions of the solicitation.
The City of Sioux Falls reserves the right to reject any or all bids or proposals, waive technicalities, and make award(s) as deemed to be in the best interest of Sioux Falls, SD.
Published twice on Oct. 3 & Oct. 10, 2025, at the approximate cost of $36.55, and may be viewed free of charge at www.sdpublicnotices.com or TheDakotaScout.com.
-
PUBLISH: Oct. 3 & Oct. 10, 2025
BID REQUEST NO. 25-0084
NOTICE TO BIDDERS
The City of Sioux Falls, SD, requests formal bids for Art Maintenance and Repair Services.
To participate, you must be registered as a vendor in e-Procurement portal. Register at siouxfalls.bonfirehub.com by selecting “Register” next to the login tab. After you have registered, navigate to the Open Public Opportunities tab to view this invitation for bid. Bids will be electronically submitted through the e-Procurement portal and will be received by the e-Procurement portal not later than 2 p.m., Central time, October 16, 2025. Immediately thereafter, the bids will be publicly opened and read at 3 p.m., Central time, City Hall, 224 W. 9th St., Sioux Falls, SD 57104. You may watch the bid opening virtually via Webex by utilizing information and links located at www.siouxfalls.gov/purchasing.
It is the vendor’s responsibility to check the e-procuremnet portal website for any changes or updates to the invitation for bid, which will be in the form of an addendum posted to the e-Procurement portal website.
Telegraphic, fax, email, and hand-delivered responses will not be accepted unless specifically authorized in the terms and conditions of the solicitation.
The City of Sioux Falls reserves the right to reject any or all bids, waive technicalities, and make award(s) as deemed to be in the best interest of Sioux Falls, SD.
Published twice on Oct. 3 & Oct. 10, 2025, at the approximate cost of $31.90, and may be viewed free of charge at www.sdpublicnotices.com or TheDakotaScout.com.
SIOUX FALLS SCHOOL DISTRICT
PUBLISH: Oct. 10, 2025
SCHOOL BOARD MEETING
Wednesday, October 1, 2025
The School Board of the Sioux Falls School District 49-5 of Minnehaha County, South Dakota, was called into regular session, pursuant to due notice, on Wednesday, October 1, 2025, at 4:08 p.m. in the Instructional Planning Center, 201 East 38th Street, Sioux Falls, South Dakota, with the following members present: President Nan Kelly, Elizabeth Duffy, Dawn Marie Johnson, Marc Murren, Gail Swenson. Absent: None.
* * * * *
Vice President of Academic Affairs Fenecia Homan shared on September 17, STC, in partnership with the Associated General Contractors of America, hosted our annual Construction Camp. We had 221 students attend from 13 area schools, including Baltic, Brandon Valley, Freeman, Harrisburg, Sioux Falls Public, O’Gorman, Scotland, Trinity Christian, Tri-Valley and West Central. During the event, students participated in eight hands-on sessions led by Southeast Tech faculty, students and industry partners. These sessions covered heavy equipment operations, concrete, carpentry, BIM modeling, civil engineering and land surveying, plumbing, HVAC, and electrician.
* * * * *
Action ST00952 A motion was made by Dawn Marie Johnson and seconded by Gail Swenson, five (5) votes “yes” on roll call approving the minutes of a meeting held on September 3, 2025, and which were furnished to the Sioux Falls Argus leader for publication, in unapproved form, all in accordance with SDCL §13-8-35.
Action ST00953 A motion was made by Gail Swenson and seconded by Dawn Marie Johnson, five (5) votes “yes” on roll call, approving the agenda as presented.
* * * * *
President Kelly asked about any conflicts of interest. None were brought forward.
Action ST00954 A motion was made by Marc Murren and seconded by Elizabeth Duffy, five (5) votes “yes” on roll call, approving Item A through C on the consent agenda as follows:
A.Approving the Authorizations and Ratifications, as follows:
A.1.Acknowledgement of Addition to Southeast Technical College Council Membership
Acknowledging the appointment of Mike Harris to the Southeast Technical College Council.
B. Approving the Consolidated Report of Trust and Agency Funds of October 1, 2025, and stating for the record that as of August 31, 2025, receipts total $4,244,218.13 and disbursements total $1,497,742.26 (MRF #ST696).
C. Accepting the Southeast Tech Personnel Report, as follows:
C1. Resignations
Accepting the resignation of School District Personnel as of the effective date indicated, the personnel having been previously employed by Board Action, as follows:
Name Location/Position Effective Date
Employment Contract, Full-Time
Visconti, Michael Housing 08-27-25
Student Help, Part-Time, Hourly
Whitesitt, Lilly Housing 07-14-25, Serck, MaryJane Bookstore 09-12-25
Instructor, Adjunct, Stipend
Kottke-Bell, Kayla Student Success 09-04-25, Roach, Jill Nursing & Health 09-19-25
Other Help, Part-Time, Hourly
Gannon, Ashley Tutor 02-05-25, Rich, Sarah Bookstore 08-22-25
C2. Employment Recommendations
Name Location/Position Effective Date Amount
Instructor, Adjunct, Hourly
Grogan, Traci Nursing & Health 08-11-25 $46.00
Schmidt, Patricia Nursing & Health 09-02-25 $34.00
Peters, Kaylee Nursing & Health 09-15-25 $46.00
Nelson, Kaydra Nursing & Health 09-15-25 $46.00
Student Help, Part-Time, Hourly
Baas, Katrina Horticulture 08-25-25 $15.00
Hock, Sydney Bookstore 09-02-25 $15.00
Fink, Alexys Scarbrough 08-27-25 $15.00
Dal, Adang Scarbrough 08-27-25 $18.93
Woytassek, Andrea Scarbrough 09-08-25 $15.00
Serck, MaryJane Bookstore 09-08-25 $15.00
Other Help, Part-Time, Hourly
Siebenaler, Jack Bookstore 08-18-25 $15.00
Engelkes, Tracy The Grille 09-08-25 $16.50
West, Michon Tutor 09-02-25 $25.00
Instructor, Adjunct Fall Semester Stipend
Adamson, Heather English 09-30-25 $2,671.20
Allenstein, Keith Law Enforcement 09-30-25 $2,830.20
Altwine, Chad Construction 09-30-25 $2,997.50
Atkins, Melissa Early Childhood 09-30-25 $5,342.40
Baker, Shelly Business Administration 09-30-25 $5,660.40
Barrow, Nathan English 09-30-25 $2,671.20
Bechtold, Angela American Sign Language 09-30-25 $2,671.20
Blok, Kelly Computer Info. Systems 09-30-25 $2,671.20
Borgen, Cory Sports Turf Management 09-30-25 $1,643.00
Byall, Jennifer Mathematics 09-30-25 $2,671.20
Cox, Bryan Mechatronics 09-30-25 $3,264.00
Cruse, Laura English 09-30-25 $2,671.20
Daugherty, Catherine Business Administration 09-30-25 $2,671.20
Davis, Chris Business Administration 09-30-25 $3,561.60
Davis, Dana Automotive 09-30-25 $3,264.00
DeHaai, Sarah Nursing & Health 09-30-25 $7,123.20
Ebbing, Michael Business Administration 09-30-25 $2,671.20
Ekstrum, Jacqueline Nursing & Health 09-30-25 $11,754.60
Ellerbusch, Jenna Nursing & Health 09-30-25 $6,572.00
Erdman, Corliss Nursing & Health 09-30-25 $4,929.00
Frohwein, Jeffrey Business Administration 09-30-25 $8,013.60
Garcia, Joshua Automotive 09-30-25 $1,643.00
Gertsma, Leann English 09-30-25 $5,342.40
Halfpop, Emily Natural Science 09-30-25 $3,561.60
Hansen, Blair Nursing & Health 09-30-25 $1,643.00
Hanson, Mylynn Nursing & Health 09-30-25 $5,342.40
Harding, Kimberly Business Administration 09-30-25 $5,342.40
Heckenlaible, Justin Computer Info. Systems 09-30-25 $5,342.40
Heppler, Jeffrey Horticulture 09-30-25 $8,804.00
Hogan, Stephanie Environmental Science 09-30-25 $5,342.40
Honey, Andrew Computer Info. Systems 09-30-25 $2,671.20
Horan, Steven Business Administration 09-30-25 $3,561.60
Ivarsen, McCade Business Administration 09-30-25 $5,342.40
Jones, Suzanne Early Childhood 09-30-25 $8,013.60
Judeh, Huda Computer Info. Systems 09-30-25 $6,232.80
Kassing, Elizabeth Engineering 09-30-25 $2,671.20
Kastein, Shari Business Administration 09-30-25 $8,013.60
Klinger, Brittany Nursing & Health 09-30-25 $2,464.50
Kreckel, Darrell Computer Info. Systems 09-30-25 $2,671.20
Lemke, Sean Psychology 09-30-25 $4,929.00
Lindell, Mark Speech 09-30-25 $5,342.40
Livermont, Derek Computer Info. Systems 09-30-25 $3,286.00
Livermont, Miles Computer Info. Systems 09-30-25 $3,286.00
Lothrop, LeAnn Computer Info. Systems 09-30-25 $5,342.40
Martinson, Chadwick Engineering 09-30-25 $2,464.50
McGee, Patricia Business Administration 09-30-25 $5,660.40
McMackin, Kayla Business Administration 09-30-25 $5,342.40
McManus, Stacy Business Administration 09-30-25 $8,013.60
Mehlhaf, Samantha Veterinary Technology 09-30-25 $2,830.20
Mekelburg, Erin Computer Info. Systems 09-30-25 $2,671.20
Melroe, Shelby Sociology 09-30-25 $8,013.60
Mills, Ann Chemistry 09-30-25 $7,518.40
Morris, Brandon Computer Info. Systems 09-30-25 $2,671.20
Olson, Margaret Dental Assisting 09-30-25 $821.50
Osborn, Michelle Nursing & Health 09-30-25 $2,671.20
Penning, Jolene Nursing & Health 09-30-25 $2,464.50
Pepper, Merrel Computer Info. Systems 09-30-25 $3,561.60
Perkins-Hicks, Debra Natural Science 09-30-25 $11,465.40
Peters, Dennis Business Administration 09-30-25 $2,671.20
Reagan, Kelly English 09-30-25 $2,671.20
Reimnitz, Laura Veterinary Technology 09-30-25 $9,569.50
Rieck, Matthew Mathematics 09-30-25 $10,684.80
Rose, Jean Business Administration 09-30-25 $5,660.40
Schnider, Nicole Nursing & Health 09-30-25 $4,907.00
Schoenfelder, Tonya Law Enforcement 09-30-25 $6,528.00
Stacey, Taylor Mathematics 09-30-25 $8,013.60
Strouth, Gerard Computer Info. Systems 09-30-25 $4,352.00
Stubbe, Scott Engineering 09-30-25 $8,748.00
Stueven, Rebecca Nursing & Health 09-30-25 $7,393.50
Sullivan, Shawn Business Administration 09-30-25 $5,660.40
Thompson, Brennan Sociology 09-30-25 $2,671.20
Traylor, Michael Computer Info. Systems 09-30-25 $3,286.00
Tschetter, Lisa Nursing & Health 09-30-25 $6,572.00
VanOverbeke, Jeffrey Speech 09-30-25 $5,342.40
Vercruysse, Brett Nursing & Health 09-30-25 $890.40
Vettrus, Jill Mathematics 09-30-25 $2,671.20
Vockrodt, Mary Nursing & Health 09-30-25 $8,013.60
Walton, Tara Law Enforcement 09-30-25 $5,342.40
Weber, Jessica Business Administration 09-30-25 $3,561.60
Wellnitz, Kristin Psychology 09-30-25 $2,671.20
Williams, Brian Business Administration 09-30-25 $2,671.20
Wolff, Dana Business Administration 09-30-25 $9,434.00
Instructor, Full-Time, Salaried
Kock, Breanna Cardiovascular Sonography Instructor 206-Day,1.0 FTE Lane 2, Step 9 192 days prorated 09-22-25 $65,799.15
Employment Contract, Full-Time, Salaried
Timm, Douglas Housing Coordinator 12-Month, 1.0 FTE Lane 7, Step 3 207-Days prorated 09-15-25 $46,533.00
C3.Employee Lump Sum Payment/Stipend
Name Location/Position Effective Date Amount
Leffring, Holly Finance 09-30-25 $1,000.00
Haynes, Matthew Habitat for Humanity 09-30-25 $2,000.00
Stelley, Lynard AWS Certifications 09-30-25 $1,000.00
Rau, Brooklyn BLS Coordination 09-30-25 $150.00
Hanson, Mylynn LOA Coverage 09-30-25 $2,003.40
Tschetter, Lisa LOA Coverage 09-30-25 $924.19
Heppler, Jeffrey Landscaping 09-30-25 $1,000.00
Action ST00955 Vice President Megan Fischer and Director of Financial Aid Micah Hanson provided the Fall Enrollment and Financial Aid Update report (MRF ST#697). The report included Fall 2025 enrollment highlights, a review of 2024-26 financial aid activity, early 2025-26 financial aid data, and a summary of training and presentations delivered to faculty, staff, and community partners. Fall 2025 enrollment: headcount increased 6% and credit count increased 4% compared to Fall 2024. Following general discussion, a motion was made by Gail Swenson and seconded by Elizabeth Duffy, five (5) votes “yes” on roll call acknowledging the Fall Enrollment and Financial Aid Update Report.
Action ST00956 STC Instructor Ryan Sitting presented the Paramedic Science Program Overview Report (MRF ST#698). The STC Paramedic program, launched in 2021 with its first graduates in 2023, and is preparing highly skilled workforce-ready paramedics in partnership with Sanford Health. Students earn national certifications and build critical skills in teamwork, leadership, communication, and clinical judgement. With 23 of 24 graduates passing their certification exam, the program is already making a strong impact on the community and workforce. Backed by advanced simulation technology, robust clinical partnerships, and growing enrollment, the program is positioned for continued success and expansion. Following general discussion, a motion was made by Gail Swenson and seconded by Dawn Marie Johnson, five (5) votes “yes” on roll call acknowledging the Paramedic Science Program Overview Report.
Action ST00957 Instructors Mike Bezdichek and Marcus Hunter presented the Electrician Program Overview Report (MRF ST #699). The electrician program, as part of Southeast Tech’s comprehensive offerings of Industrial and Construction related careers, provides a two-year AAS degree in Electrician. This degree provides hands-on application and code knowledge towards residential, commercial, and industrial applications of electrical installation and troubleshooting. Students also focus on control systems. The degree counts for 2000 hours towards becoming a SD journeyman electrician (total 8000 hours). Following general discussion, a motion was made by Marc Murren and seconded by Dawn Marie Johnson, five (5) votes “yes” on roll call acknowledging the Electrician Program Overview Report.
Action ST00958 President Cory Clasemann provided the Financial Update Report (MRF ST #700). Highlights of the report included high-level year-to-date revenues and expenses. An overview of 4-year comparison of combined fund balances was included. Following general discussion, a motion was made by Marc Murren and seconded by Gail Swenson, five (5) votes “yes” on roll call acknowledging the Financial Update Report.
Action ST00959 A motion was made by Gail Swanson, and seconded by Elizabeth Duffy, five (5) votes “yes” on roll call, approving the review of and/or revision of policies and accompanying regulations (see MRF ST #701), as follows:
STC 105 Equal Opportunity/Nondiscrimination
STC 530 Communication Services
STC 922 Student Fundraising Activities
STC 924 Student Travel
STC 937 Reporting Child Abuse/Child Protection
Action ST00960 A motion was made by Dawn Marie Johnson and seconded by Gail Swenson, five (5) votes “yes” on roll call, approving the first reading of the following (see MRF ST #702) as follows:
STC 110 Educational Philosophy/Vision, Mission and Values
STC 422 Sales and Disposals of Surplus Property
STC 423 Revenues From Non-Tax Sources
STC 430 Accounting System
STC 714 Tobacco-Free College
STC 856 Service Animals
Action ST00961 On motion by Dawn Marie Johnson and seconded by Marc Murren, five (5) votes “yes” on roll call, the School Board adjourned at 5:31 p.m.
NAN KELLY
Presiding Officer
TODD VIK
Business Manager
This notice may be viewed free of charge on a 13 statewide public notice website maintained pursuant to §17-2-1.
Published once on Oct. 10, 2025, at the approximate cost of $151.67, and may be viewed free of charge at www.sdpublicnotices.com or TheDakotaScout.com.
MINNEHAHA COUNTY
PUBLISH: Oct 10 & Oct. 17, 2025
NOTICE TO BIDDERS
Minnehaha County Highway Department requests formal bids for “MC20-13 | Structure 50-237-120 Replacement & Approach Grading.”
This project consists of the following Work but is not limited to: demolition of an existing bridge, clear and grub trees, traffic control, installation of a 4 barrel 10’x8’ cast-in-place reinforced concrete box culvert with 15° LHF Skew, temporary diversion channel for fish passage, unclassified excavation, contractor furnished borrow excavation, drainage fabric and riprap installation, approach grading, gravel surfacing, ROW fence, erosion control, and hydroseeding.
Online bids shall be received and accepted via the online electronic bid service through QuestCDN vBid online bidding, or by sealed paper copy to Minnehaha County Auditor’s Office, 415 N. Dakota Avenue, Sioux Falls, SD 57104, not later than 10:15 a.m. Wednesday, October 29, 2025. Bids shall be publicly opened and read at the Auditor’s Office at 10:30am.
For this project, bids will be received and accepted via the online electronic bid service through QuestCDN vBid online bidding, or by sealed paper copy. Sealed paper copies to be received by Minnehaha County Auditor’s Office, 415 N. Dakota Avenue, Sioux Falls, SD 57104. Bidding information can be downloaded at www.questcdn.com. Reference QuestCDN project number 989870 for a non-refundable charge of $22.00. Contact QuestCDN Customer Support at 952-233-1632 or info@questcdn.com for assistance in membership registration, downloading digital project information and vBid online bid submittal. Project bid documents must be downloaded from QuestCDN which will add your company to the Planholders List and allow access to vBid online bidding for the submittal of your bid.
For sealed paper bids, specifications and proposal forms that must be used are also available at the Minnehaha County Highway Department located at 2124 E 60th Street North, Sioux Falls, SD 57104. Bids submitted on forms other than the proposal supplied by the Minnehaha County Highway Department will be irregular and will not be considered.
Minnehaha County reserves the right to reject any or all bids, waive technicalities, and make award(s) as deemed to be in the best interest of the County.
Published twice on Oct. 10 & Oct. 17, 2025, at the approximate cost of $49.89, and may be viewed free of charge at www.sdpublicnotices.com or TheDakotaScout.com.
-
PUBLISH: Oct. 10, 2025
NOTICE OF HEARING UPON APPLICATIONS FOR SALE OF ALCOHOLIC BEVERAGES
Notice is hereby given that a hearing will be held in the Minnehaha County Commission Meeting Room, County Administration Building, 415 N. Dakota Ave., Sioux Falls, South Dakota on November 4, 2025 at 9:00 a.m., to consider a renewal application for the following:
NAME
Red Rock Bar & Grill, Inc
48181 SD Highway 42
Brandon, SD 57005-7222
City, State Zip
LEGAL DESCRIPTION
Tract 1B McBeth Add in the NE ¼ and SE ¼ 27-101-48 ID #010557
LICENSE TYPE
Retail (On Sale)
Liquor License
2026 License Year
At which time and place anyone interested may appear to file objections to the granting of the same.
Dated at Sioux Falls, South Dakota, this 7th day of October, 2025.
Leah Anderson, County Auditor
Published once on Oct. 10, 2025, at the approximate cost of $12.88, and may be viewed free of charge at www.sdpublicnotices.com or TheDakotaScout.com.
-
PUBLISH: Oct. 10, 2025
ANNUAL SALARY RATES FOR MINNEHAHA COUNTY EMPLOYEES AS OF 09/27/2025
AANENSON,J 96,241.60
AANENSON,M 107,473.60
ABBAS,S 64,646.40
ABBAS,R 79,372.80
ABMA,G 64,646.40
ADAMS,E 66,497.60
ADIX,J 94,432.00
ALBERS,B 102,294.40
ALBRECHT,C 80,953.60
ALEXANDER,C 81,286.40
AL-HABUBI,H 52,790.40
ALINIZI,M 61,568.00
ALLEN,P 57,886.40
AMDAHL,J 55,411.20
AMOLINS,D 67,516.80
ANDAL,I 58,635.20
ANDERSEN,J 64,646.40
ANDERSON,A 52,790.40
ANDERSON,M 58,635.20
ANDERSON,K 69,804.80
ANDERSON,T 94,972.80
ANDERSON,S 164,736.00
ANDRESS,T 67,724.80
ANHALT,J 121,929.60
ARENDS,L 64,646.40
AROP,A 105,518.40
ATACK,T 61,568.00
AVISE,M 123,073.60
AWUOL,M 61,360.00
BAHR,B 64,646.40
BAKER,M 89,377.60
BALK,M 61,568.00
BANCROFT,A 61,568.00
BARRETT MAYL,C 59,862.40
BARTELS,A 59,862.40
BARTELT,H 61,568.00
BARTMANN,C 58,635.20
BARTSCHER,N 52,790.40
BARTSCHER,J 77,292.80
BARTSCHER,K 100,484.80
BASSETT,T 64,646.40
BAXA,B 80,724.80
BEAMAN,S 135,283.20
BECK,T 64,646.40
BEHREND,B 66,268.80
BENCOMO,C 77,480.00
BENNETT,R 75,400.00
BENZ,K 156,811.20
BERENS,L 94,432.00
BERG,A 71,344.00
BERTHELSEN,L 61,568.00
BERTSCH,T 79,372.80
BETANCOURT,S 68,390.40
BITTERMAN,T 54,288.00
BLACK,K 51,313.60
BOECKHOLT,A 89,627.20
BOELHOWER,C 116,334.40
BOESEL,E 93,038.40
BOGUE,E 181,729.60
BOHORA CHHETRI,S 65,686.40
BOHRER,J 54,288.00
BOLGER,R 105,518.40
BONESTROO,T 100,484.80
BOOTH,B 110,780.80
BORNETUN,J 58,635.20
BOSAVANH,D 64,646.40
BOSMAN,J 138,673.60
BOUW,L 61,360.00
BOUWMAN,I 116,334.40
BOYD,M 121,929.60
BOYLE,S 64,646.40
BRADEN,P 61,568.00
BRAUN,A 110,780.80
BRENDEN,J 67,724.80
BRENDEN,M 81,764.80
BREUER,J 66,268.80
BROST,D 105,518.40
BROWN,M 55,411.20
BROWN,D 58,635.20
BROWN,A 66,268.80
BROWN,R 71,552.00
BRUNS,T 61,568.00
BRUST,R 61,360.00
BRYAN,C 66,268.80
BUCHER,B 105,518.40
BUCKLEY,J 74,755.20
BULLIS,M 94,972.80
BURNS,B 71,552.00
BURNS,J 94,161.60
BURT,S 71,552.00
BURZLAFF,D 66,268.80
BUTCHER,L 67,516.80
BUTCHER,C 110,156.80
BUTLER,C 111,196.80
BYE,R 139,068.80
CALLIES,E 73,340.80
CAMPBELL,J 61,568.00
CAPELLUPO,L 123,073.60
CAREY,C 59,862.40
CARLSON,M 64,646.40
CARLSON,O 100,484.80
CAROTA,N 61,568.00
CARPENTER,R 67,724.80
CARRILLO,E 58,635.20
CARSTEN,J 110,780.80
CAVE,J 79,372.80
CEGELSKE,Z 108,513.60
CHAGOLLA,A 66,268.80
CHAGOLLA,J 67,308.80
CHOSKE,E 64,646.40
CHRANS,J 58,052.80
CHRISTENSEN,D 52,790.40
CHRISTIANSEN,K 66,268.80
CHRISTIANSEN,D 90,667.20
CLAYPOOL,D 58,635.20
CLITES,D 50,273.60
COIL,T 55,411.20
COIL,T 77,064.00
COLWILL,K 89,627.20
CONLON,J 64,646.40
CONNORS,P 110,780.80
COOK,C 64,646.40
CORBETT,D 64,646.40
CORNAY,T 85,300.80
COUTURE,J 66,268.80
COWLES,R 64,646.40
COX,D 83,220.80
COZAD,M 64,646.40
CRAWFORD,B 71,801.60
CRAYNE,E 71,801.60
CROWNOVER,J 58,635.20
DAHL,C 110,780.80
DANIELSEN,R 75,400.00
DANNEN,B 76,835.20
DAU,A 68,390.40
DAVIS,D 71,552.00
DEAVER,C 164,736.00
DEBERG,J 77,480.00
DEGROOT,L 55,411.20
DEGROOT,C 75,400.00
DEHAAI,K 69,804.80
DEKONING,K 59,862.40
DEMATTEO,L 119,225.60
DENG,D 64,646.40
DESENS,B 61,360.00
DETERS,R 76,835.20
DEVLIN,B 62,878.40
DIAZ,L 62,608.00
DICKEY,S 71,552.00
DIRKSON,C 80,724.80
DOBBERPUHL,R 89,627.20
DODGE,R 57,886.40
DOHERTY,P 69,804.80
DONELAN,T 68,390.40
DONOVAN,D 64,646.40
DOW,M 46,550.40
DOYLE,B 156,707.20
DREXLER,R 89,377.60
DUBBE,S 109,553.60
DUBBELDE,D 66,060.80
DUCHENE,J 59,862.40
EARLEY STONEARROW,S 81,286.40
EBRIGHT,L 71,552.00
ECKRICH,K 63,315.20
EICHHORN,C 58,635.20
EINING,J 94,161.60
ELKINS,C 64,646.40
ELLENS,N 105,518.40
ENGELSON,R 64,272.00
ESCHEN,A 78,332.80
EVEN,H 54,288.00
FAJARDO,J 64,646.40
FATOUT,K 50,273.60
FAUST,J 61,568.00
FECHNER,B 58,635.20
FEDDERSEN,W 79,892.80
FETTER,C 59,675.20
FETTER,M 64,646.40
FEUERHELM,B 52,790.40
FLUCKEY,V 113,235.20
FLYNN,J 131,622.40
FODS,R 80,724.80
FOERSTER,G 69,804.80
FOILES,D 110,780.80
FOLSOM,A 164,652.80
FONTENOT,N 58,635.20
FOSSUM,N 119,225.60
FRAHM,S 71,801.60
FRANCIS,K 116,334.40
FRANCO,J 61,568.00
FRANK,K 71,801.60
FRIEDERICKS,E 66,268.80
FRITZ,D 62,878.40
FUGLSBY,V 89,876.80
FUSTON,T 68,390.40
GALLOWAY,L 68,390.40
GARCIA,S 71,801.60
GARRY,M 94,432.00
GAYO GATLUAK,M 65,686.40
GEARMAN,J 121,929.60
GEORGE,M 61,568.00
GERANEN,L 61,568.00
GEVENS,R 71,552.00
GILL,N 58,635.20
GILLESPIE,M 134,908.80
GIRARD,S 50,273.60
GIRARD,J 113,942.40
GLANZER,K 64,646.40
GODBER,M 52,603.20
GONSOR,D 77,064.00
GRAVETT,J 152,984.00
GRECO,T 166,108.80
GREEN,B 66,268.80
GREINER,B 79,206.40
GROMER,J 181,729.60
GRONG,T 92,393.60
GROTEWOLD,T 71,552.00
GUERRERO,J 65,686.40
GUSTAFSON,B 61,568.00
GUSTAFSON,T 85,300.80
HAATVEDT,L 55,411.20
HACKETT,D 66,268.80
HACKING,S 94,161.60
HAGESTROM,D 64,646.40
HALLING,J 57,012.80
HAMILTON,D 75,400.00
HANNASCH,K 61,568.00
HANSSEN,E 50,273.60
HARAM,R 50,273.60
HARRIES,L 89,377.60
HARRIS,J 80,724.80
HARRISON,R 61,568.00
HARRISON,R 85,300.80
HARROLD-DOMEL,E 54,288.00
HARTLEY,C 98,092.80
HARVIN,D 64,646.40
HATTERVIG,C 59,862.40
HAUGAARD,M 62,878.40
HEADRICK,K 66,268.80
HEALY,J 55,411.20
HEESCH,D 80,724.80
HEIDERSCHEIDT,M 64,646.40
HEIDRICH,A 75,400.00
HEITKAMP,E 58,635.20
HELD,K 58,635.20
HEMENWAY,S 67,516.80
HEMENWAY,S 80,724.80
HENCKEL,J 75,400.00
HENDRIX,D 64,272.00
HENLEY,P 67,724.80
HENRICHS,A 105,518.40
HENSCH,S 68,390.40
HERBERT,E 110,780.80
HERNANDEZ,J 61,568.00
HERNANDEZ,C 61,568.00
HERONIMUS,J 71,552.00
HERSCHBERGER,E 61,360.00
HERUM,R 69,617.60
HESVIK,H 59,862.40
HINZMAN,R 97,073.60
HODGEN,D 89,627.20
HODGES,S 97,052.80
HOEKMAN,K 85,550.40
HOFER,J 168,771.20
HOFF,J 50,273.60
HOHN,A 61,568.00
HOHN,R 74,755.20
HOLLINGSHEAD,A 58,635.20
HOLLINS,M 61,360.00
HONERMAN,M 66,268.80
HONEYCUTT,B 50,273.60
HOOKER,T 64,646.40
HOPF,M 83,470.40
HORSE LOOKING,K 58,635.20
HOSKINS,W 164,736.00
HOWARD,A 54,288.00
HUDZII,N 65,686.40
HUMPHRIES,H 50,273.60
HYNEK,J 122,220.80
IDE,M 68,390.40
INGALLS,J 83,220.80
JAMES,C 142,542.40
JANSSEN,D 80,724.80
JARCHOW OLSON,M 100,484.80
JASTRAM,M 112,756.80
JENNIGES,M 61,568.00
JENSEN,C 116,334.40
JERKE,H 104,540.80
JOHANNSEN,M 77,292.80
JOHNSON,C 54,288.00
JOHNSON,B 64,646.40
JOHNSON,D 64,646.40
JOHNSON,K 77,292.80
JOHNSON,B 99,507.20
JOHNSON,C 146,120.00
JONAS,D 72,924.80
JORGENSEN,A 61,568.00
JOST,B 80,953.60
KADI,M 146,120.00
KAISER,P 97,572.80
KALIN,A 52,790.40
KAMRATH,L 125,278.40
KAPPENMAN,C 55,411.20
KARDAS,D 78,332.80
KEEGAN,K 81,203.20
KELLEY,M 55,411.20
KERKVLIET,S 89,627.20
KERZMAN,D 75,400.00
KINDER,S 78,769.60
KING,T 58,635.20
KING,D 82,992.00
KIRCHENWITZ,A 75,192.00
KISTLER,D 94,702.40
KLINE,K 116,334.40
KNECHT,A 77,292.80
KOISTINEN,J 129,230.40
KOMMES,S 75,400.00
KONECHNE,F 99,216.00
KRIENS,M 152,984.00
KRIER,H 68,390.40
KRUEGER,T 76,835.20
KRUEGER,N 78,769.60
KRUSE,B 66,268.80
KUCHTA,L 54,288.00
LABBE,J 54,288.00
LABBE,C 58,635.20
LADWIG,J 80,724.80
LAMMER,J 78,332.80
LANGROCK,N 64,646.40
LANOUE,A 54,288.00
LARSON,C 61,568.00
LARSON,O 63,315.20
LARSON,M 78,332.80
LARSON,M 94,972.80
LARSSON,S 61,568.00
LAUTWEIN,D 121,929.60
LEIDHOLT,P 95,201.60
LEIDHOLT,K 110,156.80
LEMKE,K 54,288.00
LEMLER,K 55,411.20
LEMONS,T 61,568.00
LENSEGRAV,L 79,768.00
LICHTY,J 66,268.80
LIEBL,K 71,801.60
LIESTER,J 110,780.80
LILLA,C 135,366.40
LILLIS,M 54,288.00
LINDEN,A 100,484.80
LINGLE,V 50,273.60
LIPP,D 75,400.00
LOGUE,S 66,497.60
LONG,M 65,686.40
LOOZE,D 71,801.60
LOPEZ-PEREZ,E 64,646.40
LORENZEN,L 71,801.60
LOTT,P 61,568.00
LOUDNER,B 50,273.60
LOUGHEED,A 116,334.40
LOWE,C 81,286.40
LUKE,L 110,780.80
LUND,E 100,484.80
LUND,J 100,484.80
LUNDEEN,D 73,340.80
LUNDY,T 69,804.80
LYKKEN,M 105,518.40
MAALOUF,T 105,518.40
MACDONALD,I 68,390.40
MARAS,J 142,147.20
MARBACH,J 69,804.80
MARNETTE,K 128,398.40
MARTELL,R 80,724.80
MARTIN,C 64,646.40
MARTINES,R 71,552.00
MATHIS,M 71,552.00
MATSON,S 79,372.80
MATTOCKS,W 64,646.40
MATTSON,M 149,260.80
MAYER,K 67,516.80
MAYER,M 80,724.80
MCCUBBIN,J 75,400.00
MCDOWALL,J 68,390.40
MCFARLAND,M 64,459.20
MCGAHA,S 61,360.00
MCGEE,L 67,516.80
MCGLOTHLEN,N 80,412.80
MCGOVERN,M 119,308.80
MCKEE,D 71,801.60
MCKEE,T 80,724.80
MEES-BURT,C 146,120.00
MELENDEZ,A 61,568.00
MENDOZA,R 54,288.00
MENHOLT,C 61,568.00
MERCADO-GAMEZ,M 65,686.40
METTER,C 67,912.00
MEYER,J 67,724.80
MEYER,A 68,390.40
MICKELSON,R 76,835.20
MILLAGE,S 121,929.60
MILLER,K 50,273.60
MILLER,R 64,646.40
MILLER,J 64,646.40
MILLER,T 116,334.40
MISAR,M 50,273.60
MIXELL,T 69,617.60
MOELLER,N 68,390.40
MONTIS,L 110,780.80
MORAN,C 135,678.40
MORRISON,C 52,790.40
MOSER,N 81,286.40
MOUSEL,L 110,780.80
MULDER,M 55,411.20
MUNKVOLD,M 94,972.80
MURPHY,A 119,225.60
MYERS,H 54,288.00
NADOLSKI,C 89,627.20
NELSON,T 134,908.80
NESS,J 76,835.20
NESSEIM,J 83,220.80
NESTER,K 58,635.20
NEU,K 64,646.40
NIETO,S 54,288.00
NILSON,K 121,929.60
NIMELY,G 58,635.20
NITZ,J 55,411.20
NYHAUG,A 80,724.80
OBERFOELL,S 71,552.00
O’DONNELL,D 64,272.00
OLSON,C 61,568.00
OLSON,M 75,400.00
OLSON,R 80,724.80
OLTHOFF,P 94,161.60
O’MALLEY,J 129,230.40
ORDAL,L 63,315.20
ORDAZ,G 65,686.40
OSTERLOO,K 99,216.00
OSTERMANN,E 69,617.60
OSTREM,A 71,552.00
OTTERPOHL,E 116,334.40
OWUSU,C 68,390.40
PALLUCK,E 80,724.80
PALMIOTTO,T 134,908.80
PALOMAKI,B 116,334.40
PATTERSON,J 79,372.80
PAULSEN,G 43,097.60
PAYTON,A 71,801.60
PECHOUS,C 74,755.20
PECKSKAMP,A 55,411.20
PEDERSON,N 64,272.00
PETEREIT,J 110,780.80
PETERS,S 74,963.20
PETERSEN,M 89,377.60
PETERSON,M 61,360.00
PHEIFER,K 69,804.80
PHILLIPS,N 110,780.80
PHILLIPS,J 128,772.80
PIEL,T 58,635.20
PONTARELLI,J 93,038.40
PRINS,T 54,288.00
PUNKE,S 67,516.80
QUALSETH,R 111,196.80
RADFORD,K 58,635.20
RAPP,J 66,268.80
RASMUSSEN,P 74,755.20
RASMUSSEN,J 134,908.80
REBNORD,N 77,292.80
RECHTENBAUGH,M 65,686.40
RECHTENBAUGH,J 75,400.00
REED,W 110,780.80
REKER,V 131,622.40
RHEAD,B 116,334.40
RICCI,K 97,052.80
RICHARDS,M 69,804.80
RICHARZ,H 91,873.60
RISHLING,M 61,360.00
RIVERA,J 71,801.60
RODERICK,D 63,315.20
ROEDER,J 82,326.40
ROEDER,K 100,484.80
ROHDE,S 59,862.40
ROTERT,C 66,268.80
ROUSHAR,M 64,646.40
RUSSELL,M 94,161.60
RYAN,K 125,278.40
SACKMANN,S 82,992.00
SADKOVICH,J 116,334.40
SAHURIC,E 71,801.60
SAMPLE,R 146,120.00
SANCHEZ,E 58,635.20
SATTER,M 69,804.80
SCARES HAWK,E 64,646.40
SCHAEPPI,S 66,497.60
SCHAFER,T 58,635.20
SCHATZ,J 104,832.00
SCHAUNAMAN,K 113,547.20
SCHIRADO,M 64,646.40
SCHLEUTER,H 77,292.80
SCHLEY,E 54,288.00
SCHMAHL,J 59,862.40
SCHMIDT,T 64,646.40
SCHMIDT,E 79,206.40
SCHMOYER,C 77,292.80
SCHNELL,C 58,635.20
SCHOONHOVEN,W 61,568.00
SCHREURS,A 61,360.00
SCHROEDER,C 64,646.40
SCHULTZ,C 61,360.00
SCHUSTER,P 79,372.80
SEVERSON,S 61,568.00
SEVERSON,T 69,804.80
SEVERSON,T 75,400.00
SEXE,K 102,585.60
SHOW,E 78,998.40
SIELER,J 94,161.60
SINA,K 64,646.40
SITES,J 67,724.80
SITZMAN,A 77,292.80
SJOVOLD,S 74,755.20
SKOTS,A 66,268.80
SMILEY,A 58,635.20
SMITH,T 200,491.20
SOMMERS,T 61,568.00
SOUTHARD,C 61,568.00
SPAANS,J 83,220.80
SPALDING,R 68,390.40
SPECHT,S 63,315.20
STANGELAND,L 89,627.20
STANLEY,L 61,568.00
STANLEY,C 96,241.60
STANTON,Z 100,484.80
STATON,N 77,292.80
STAUFFACHER,T 95,201.60
STEELE,H 64,646.40
STEFFEN,M 77,563.20
STEVENS,A 68,390.40
STEWART,D 61,568.00
STOVER,A 54,288.00
STRADTMAN,K 54,288.00
STRAIN,S 71,552.00
STRANSKY,A 75,400.00
SULLIVAN,J 77,480.00
SURKALOVIC,N 89,377.60
SUURMEYER,A 77,292.80
TAMAYO ZULUAGA,M 110,780.80
TERRONES,J 88,483.20
THELEN,J 83,220.80
THIEL,M 61,568.00
THOMAS,D 64,646.40
THOMAS,M 134,908.80
THORESON,J 110,156.80
TIGHE,J 80,724.80
TOERING,J 99,798.40
TOFT,M 66,268.80
TORNOW,K 61,568.00
TRUMBLE,H 102,294.40
TUSCHEN,M 89,377.60
ULLOM,B 64,646.40
ULMER,S 66,497.60
UNDERWOOD,A 61,568.00
VAN BUREN,E 116,334.40
VAN LINGEN,R 61,568.00
VANDE WEERD,K 77,292.80
VANDENBERG,N 58,635.20
VANDENHUL,J 67,724.80
VANMETER,T 58,635.20
VANVELDHUIZEN,J 74,755.20
VANWYHE,S 87,443.20
VEEN,J 64,646.40
VOELKER,J 61,360.00
VOSS,R 102,294.40
WACHAL,S 89,377.60
WAHL,A 75,400.00
WALLENSTEIN,M 54,288.00
WALSH,S 94,161.60
WALTON,W 80,724.80
WALTON,A 96,241.60
WATEMBACH,M 181,729.60
WAYSMAN,B 64,646.40
WEELDREYER,K 81,203.20
WEHRKAMP,J 134,908.80
WESCOTT,E 71,552.00
WEST,J 94,972.80
WESTERBUR,D 77,292.80
WHALEN,N 58,635.20
WHITE,T 58,635.20
WHITE,J 83,470.40
WHITTINGTON,A 123,073.60
WIDDIFIELD,C 79,768.00
WIDRIG,A 68,390.40
WIECZOREK,A 110,780.80
WIEDERICH,A 65,686.40
WILLCOX,S 75,400.00
WILSON,L 79,768.00
WILSON,C 121,929.60
WINTER,C 66,268.80
WITTROCK,C 91,873.60
WOHLWEND,A 93,038.40
WOITTE,G 58,635.20
WOLF,A 66,268.80
WOLLMAN,G 64,646.40
WOLLMANN,M 64,646.40
WRIGHT,L 54,288.00
WURTZ,R 54,288.00
WYNIA,W 76,835.20
WYNIA,M 96,241.60
WYNIA,K 107,473.60
YOUNG,N 54,288.00
YU,M 67,724.80
ZADDAM,K 58,635.20
ZIGAN,A 77,563.20
ZILLA,J 67,912.00
ZISHKA,S 69,804.80
ZISHKA,A 119,641.60
ZULU,T 61,568.00
Published once on Oct. 10, 2025, at the approximate cost of $212.52, and may be viewed free of charge at www.sdpublicnotices.com or TheDakotaScout.com.
-
PUBLISH: Oct. 10, 2025
THE MINNEHAHA COUNTY COMMISSION CONVENED
AT 9:00 AM on October 7, 2025, pursuant to adjournment on September 23, 2025. COMMISSIONERS PRESENT WERE: Beninga, Bleyenberg, Heisey, Karsky, and Kippley. Also present were Kym Christiansen, Commission Recorder, and Eric Bogue, Chief Civil Deputy State’s Attorney.
Chair Karsky called the meeting to order.
MOTION by Heisey, seconded by Kippley, to Approve the Agenda. 5 ayes
CONSENT AGENDA
MOTION by Beninga, seconded by Bleyenberg, to Approve the Consent Agenda. By roll call votes: 5 ayes. The consent agenda includes the following items:
Commission Meeting Minutes for September 23, 2025
Bills to be Paid $1,360,752.51
3200 RUSSELL LLC Motels $180, 46WEST OPERATING LLC Welfare Rent $897, A BAR K INC Motor/Machine/Equipment Repair $1264.37, A&B BUSINESS SOLUT Lease-Rental Agreement $460.8, A&B BUSINESS SOLUT Maintenance Contracts $778.36, A&B BUSINESS SOLUT Office Supplies $10, A&B BUSINESS SOLUT Professional Services $36.95, AARON GEORGE PROPERT Welfare Rent $650, ABT WATER Welfare Utilities $500, ACCREDITATION AUDIT Subscriptions $150, ADVANCED TECH INC Maintenance Contracts $12206.25, ADVANTAGE PROPERTY M Welfare Rent $1000, AIRGAS USA LLC Gas Oil & Diesel $122.94, AIRWAY SERVICE INC Automotive/Small Equipment $1595.75, AIRWAY SERVICE INC Gas Oil & Diesel $473.75, AIRWAY SERVICE INC Truck Repairs & Maintenance $3857.19, ALEX AIR APPARATUS 2 Safety & Rescue Equipment $682.64, ALL NATIONS INTERPRE Interpreters $3742.3, ALOHI * FAXPLUS Telephone $1259.39, ALPHAGRAPHICS HHS Maintenance $858.17, AMAZON CAPITAL SERVI Furniture & Office Equipment $666.25, AMAZON RETA* 1Z0QZ26 Automotive/Small Equipment $36.67, AMAZON RETA* 847I95N Small Tools & Shop Supplies $18.81, AMAZON RETA* EY69I0N Safety & Rescue Equipment $10.85, AMAZON RETA* IH5GN4J Automotive/Small Equipment $80.99, AMAZON RETA* MG8HC1L Books $26.74, AMAZON RETA* V31KK9A Safety & Rescue Equipment $14.28, AMAZON RETA* X05GM9O Other Supplies $317.32, AMAZON RETA* ZT14R8M Small Tools & Shop Supplies $59.28, AMAZON.COM Automotive/Small Equipment $103.09, AMAZON.COM Books $14.98, AMAZON.COM Building Repairs & Maintenance $53.97, AMAZON.COM Child Care Food $74.59, AMAZON.COM Child Care Items $108.36, AMAZON.COM Clinics - Auxiliary Services $95.54, AMAZON.COM Construction Safety $42.45, AMAZON.COM Data Processing Supplies $1456.2, AMAZON.COM Fairgrounds $124.21, AMAZON.COM Furniture & Office Equipment $6359.2, AMAZON.COM Inmate Supplies $98.96, AMAZON.COM Insurance-Other Costs $203.17, AMAZON.COM Kitchen/Cleaning Supplies $183.44, AMAZON.COM Miscellaneous Expense $120.2, AMAZON.COM Office Supplies $1949.05, AMAZON.COM Other Supplies $131.92, AMAZON.COM Safety & Rescue Equipment $155.06, AMAZON.COM Small Tools & Shop Supplies $687.81, AMAZON.COM Special Projects $260.24, AMAZON.COM Supplemental Food $61.17, AMAZON.COM Tea-Ellis Range $114.68, AMAZON.COM Testing Supplies $267.96, AMAZON.COM Truck Repairs & Maintenance $37.96, AMAZON.COM Uniform Allowance $1439.37, AMAZON.COM LLC Uniform Allowance $14.99, AMAZON.COM*011QX19Y3 Office Supplies $23.58, AMAZON.COM*2J6V72OE3 Clinics - Auxiliary Services $33.22, AMAZON.COM*2Q09L9Z03 Office Supplies $26.34, AMAZON.COM*2R2EF9N83 Child Care Items $12.57, AMAZON.COM*2V2LT9393 Child Care Food $127.72, AMAZON.COM*2V2LT9393 Child Care Items $29.99, AMAZON.COM*2V2LT9393 Supplemental Food $10.42, AMAZON.COM*380Y577I3 Uniform Allowance $427.12, AMAZON.COM*6F1MT2UO3 Office Supplies $15.16, AMAZON.COM*7582N4MG3 Office Supplies $51.96, AMAZON.COM*7Y8YQ5AH3 Office Supplies $6.47, AMAZON.COM*8C5P035J3 Child Care Items $102.82, AMAZON.COM*8G1VE1KP3 Office Supplies $51.8, AMAZON.COM*8J5JB4NF3 Office Supplies $213.59, AMAZON.COM*970QF4SD3 Child Care Items $18.99, AMAZON.COM*9G8683CL3 Office Supplies $36.05, AMAZON.COM*A449F18N3 Park & Recreation Material $33.47, AMAZON.COM*AF7CX83I3 Supplemental Food $33.52, AMAZON.COM*C54GS7G13 Child Care Items $28.44, AMAZON.COM*G57IK2V03 Child Care Items $26.46, AMAZON.COM*KO58036P3 Kitchen/Cleaning Supplies $210.6, AMAZON.COM*L54015973 Child Care Items $126.73, AMAZON.COM*M56YN1FW3 Child Care Uniforms $54.94, AMAZON.COM*OC07K61I3 Office Supplies $14.97, AMAZON.COM*QG0S08DQ3 Inmate Supplies $83.72, AMAZON.COM*R69P66IA3 Other Supplies $316.99, AMAZON.COM*RX1QA1RE3 Child Care Uniforms $31.5, AMAZON.COM*T95UW8G53 Child Care Food $147.33, AMAZON.COM*T95UW8G53 Supplemental Food $10.42, AMAZON.COM*TR5WQ3V53 Child Care Items $12.77, AMAZON.COM*TR5WQ3V53 Supplemental Food $76.16, AMAZON.COM*UB5ZK8OU3 Child Care Food $141.81, AMAZON.COM*UB5ZK8OU3 Supplemental Food $20.84, AMAZON.COM*ZC9WR1ML3 Data Processing Supplies $89.98, AMAZON.COM*ZT34G2VN3 Other Supplies $129.34, AMERICAN SOCIETY Program Activities $96, AMERICINN Business Travel $308.88, ANDERSON, AUBREY Business Travel $433.66, ANDERSON, JENNIFER Bd Evaluations (Minnehaha) $7864.84, ANDRESEN PROPERTIES Welfare Rent $700, ANGEL, EDWARD P Attorney Fees $1518, APPEARA Program Activities $201.15, ASSOCIATED CONSULTIN Courts Building $1590, ASURE / HIRECLICK Recruitment $100, AVERA MCKENNAN Hospitals $9603, AVERA MCKENNAN Other Medical Services $1251.22, B2B PRIME*J52CY9BP3 Miscellaneous Expense $779, BACKUPWORKS.COM INC Maintenance Contracts $3674, BANGS,MCCULLEN,BUTLE Attorney Fees $816, BEADLE WEST Welfare Rent $232, BELITZ, CLARENCE H Welfare Rent $900, BESTBUYMKT8070856082 Special Projects $132.29, BILLION EMPIRE MOTOR Gas Oil & Diesel $73.09, BIRMINGHAM & CWACH L Attorney Fees $817.56, BLACKBURN & STEVENS Attorney Fees $252.78, BLEYENBERG, JEN Business Travel $64.14, BOARD OF POLICE COMM Expert Witness Fees & Expenses $372, BOUNDARY LLC Welfare Rent $800, BP#2833600CAPL MN002 Gas Oil & Diesel $34.49, BP#6611677COFFEE CUP Gas Oil & Diesel $41.53, BREW 43 - WALNUT HIDTA Grant $63.51, BRIDGEWOOD I LTD PAR Welfare Rent $700, BRISTOL COURT LTD PA Welfare Rent $828, BURNS, JASON Investigators Expenses $326.96, C & M FAMILY PROPERT Welfare Rent $575, C4 INNOVATIONS HS Donations $1900, CABLEWHOLESALE Data Processing Supplies $241.27, CARS TRUCKS N MORE R Automotive/Small Equipment $1291.33, CASEYS GENERAL STORE Business Travel $28.24, CASEYS GENERAL STORE Gas Oil & Diesel $190.01, CAVE, JUSTIN Investigators Expenses $326.96, CENTURY BUSINESS PRO Maintenance Contracts $187.78, CENTURYLINK LONG DIS Telephone $12.4, CHAGOLLA, ALBERT Interpreters $360, CHARMTEX INC Child Care Uniforms $586.8, CHARMTEX INC Miscellaneous Expense $254.9, CHUUKESE NATIVE LANG Interpreters $640, CINTAS CORPORATION Janitorial Chemical Supplies $183, CINTAS CORPORATION Uniform Allowance $48.19, CITY GLASS & GLAZING HHS Maintenance $1955.46, CJ SAYLES INC Store Inventory $630, CK *SILVERSTAR MINN Automotive/Small Equipment $34, COFFEE CUP #8 Gas Oil & Diesel $34.73, COMPANY-DIRECTORY-PR Subscriptions $99, COMPUTER FORENSIC RE Professional Services $18770, CONSTELLATION Natural Gas $13663.3, CONSTRUCTION PRODUCT Bridge Repair & Maintenance $789, CONSTRUCTION PRODUCT Road Material Inventory $285, CORRECT RX PHARMACY Contract Services $19.5, COSTCO WHOLESALE COR Office Supplies $30.89, COSTCO WHOLESALE COR Safety & Rescue Equipment $55.17, COUNTRY INN & SUITES Business Travel $352, COUNTRY INN & SUITES Education & Training $697.76, CYNTOM PROPERTIES AN Welfare Rent $700, DAKOTA AUTO PARTS Motor/Machine/Equipment Repair $64.9, DAKOTA AUTO PARTS Truck Repairs & Maintenance $14.96, DAKOTA EMBALMING & T Transportation $1900, DAKOTA FLUID POWER I Building Repairs & Maintenance $622.52, DAKOTA FLUID POWER I Truck Repairs & Maintenance $83.93, DAKOTA FRESH LLC Store Inventory $45, DAKOTA LAW FIRM PROF Child Defense Attorney $6056, DAKOTA LETTERING ETC Uniform Allowance $867.25, DAKOTA RIGGERS & TOO Truck Repairs & Maintenance $99.6, DAKOTA SUPPLY GROUP Plumbing & Welding $36.45, DEERE & COMPANY Bldg & Outside Equipment $17771.31, DEN HERDER LAW Attorney Fees $355.53, DERHAGOPIAN LAW PROF Attorney Fees $1666, DESERT NEWCO, LLC Subscriptions $79.99, DEY DISTRIBUTING Jail Repairs & Maintenance $107.81, DGR ENGINEERING Burials $4800, DIAMOND MOWERS INC Truck Repairs & Maintenance $395.51, DISCOUNT-EQUIPMENT.C Bridge Repair & Maintenance $48.55, DOVER, SENA S Bd Evaluations (Minnehaha) $288, DOVER, SENA S Bd Exp Fees (Minnehaha) $181.33, DRIVELINE SERVICE IN Truck Repairs & Maintenance $667.98, DUBLIN SQUARE APARTM Welfare Rent $1630.64, DULUTH Welfare Rent $700, DUST TEX SERVICE INC Janitorial Chemical Supplies $43.59, DYNAMIC SERVICES LLC Professional Services $3100, EAGLE EYES SEARCH IN Safety & Rescue Equipment $400, EAST RIVER ELECTRIC Sign Deposits $50, EAST RIVER PSYCHOLOG Psych Evals $2500, EBAY O*12-13584-1584 Heavy Equip Repairs & Maint $46.5, EBAY O*22-13550-2412 Uniform Allowance $59, EBAY O*23-13520-3620 Truck Repairs & Maintenance $55.95, EBAY O*23-13564-1596 Heat, Vent & AC Repairs $181.97, ECHO GROUP Misc Revenue $150, ECLIPSE PARTNERS LLC Welfare Rent $700, EDMUNDS BRAKE & ALIG Automotive/Small Equipment $89.95, EICH LAW OFFICE LLC Attorney Fees $7644, EIDE BAILLY LLP Professional Services $105, EILERS FURS Program Activities $89.95, ELECTRIC CONSTRUCTIO Building Repairs & Maintenance $96.94, ELECTRIC CONSTRUCTIO Courts Building $135000, ELECTRIC SUPPLY CO I Office Equipment Repair $349.28, ELIZABETH AAKER Sign Deposits $50, ETRAILER CORPORATION Truck Repairs & Maintenance $55.87, ETTERMAN ENTERPRISES Small Tools & Shop Supplies $101.78, EXHAUST PROS OF SIOU Truck Repairs & Maintenance $92.21, FACEBK *8Z6XJZ83L2 Advertising $91.29, FASTENAL COMPANY Jail Repairs & Maintenance $73.94, FASTENAL COMPANY Small Tools & Shop Supplies $58.46, FASTSIGNS Program Activities $494.48, FEDEX Postage $57.52, FLEET FARM 5500 Small Tools & Shop Supplies $7.99, FLEET FARM 5500 Uniform Allowance $236.21, FOX, DANIEL Bd Exp Fees (Yankton) $109.76, FT. PIERRE MY PLACE Business Travel $112, GALLS PARENT HOLDING Uniform Allowance $258.19, GAN*1085ARGUSLEADCIR Office Supplies $43.54, GANNETT MEDIA CORP Subscriptions $9.99, GARDEN VILLAS APARTM Welfare Rent $700, GASLITE MANOR LTD PT Welfare Rent $701, GIRTON ADAMS Road Maint & Material $150, GLOBAL TEL LINK (GT Telephone $11.74, GOLDEN WEST Telephone $140.24, GP PSYCHIARTY CONSUL Psych Evals $4800, GRAHAM TIRE CO NORTH Automotive/Small Equipment $761.28, GRAINGER Jail Repairs & Maintenance $71.88, GRAYBAR ELECTRIC COM Electrical Repairs & Maint $15576.2, GRAYBAR ELECTRIC COM Jail Repairs & Maintenance $443.55, GRAYBAR ELECTRIC COM Museum Renovations $22.67, GREATER SIOUX FALLS Miscellaneous Expense $500, GUNNER, ANDREA Court Reporters $272.15, GUZMAN, SANDRA V Interpreters $375, HANSON, MICHAEL W Attorney Fees $1347, HARR Welfare Rent $700, HARTFORD’S BEST PAIN Automotive/Small Equipment $153.43, HAUGAARD LAW OFFICE Child Defense Attorney $2376, HDR ENGINEERING INC Architects & Engineers $1007.5, HELSETH, RAMONA G. Bd Exp Fees (Minnehaha) $208, HIGH POINT NETWORKS Subscriptions $14.63, HOBBY LOBBY STORES I Miscellaneous Expense $29.96, HOLIDAY INN EXPRESS Extradition & Evidence $235.76, HOLIDAY STATIONS 465 Gas Oil & Diesel $71.74, HOPE JUSTESEN Misc Revenue $300, HURTGEN, PROPERTIES Welfare Rent $1700, HYATT HOTELS Witness Fees/Expenses $232.67, HYVEE ACCOUNTS RECEI Jury Fees $82.8, HYVEE ACCOUNTS RECEI Program Activities $112.5, HYVEE ACCOUNTS RECEI School Lunch Program $84.57, HYVEE ACCOUNTS RECEI Supplemental Food $54.11, I STATE TRUCK INC Parts Inventory $411.16, I STATE TRUCK INC Truck Repairs & Maintenance $1493.54, IDEMIA IDENTITY & SE Lease-Rental Agreement $3199, IDEMIA IDENTITY & SE Maintenance Contracts $3199, IN *BARGAIN BYTES IN Professional Services $44.45, INTERSTATE OFFICE PR Office Supplies $3017.64, IS RESTAURANT EQUIP Jail Repairs & Maintenance $1869.76, ISI LLC Interpreters $330, JACOB J HEILMAN Sign Deposits $50, JARROD SMART Sign Deposits $50, JCL SOLUTIONS Inmate Supplies $2261.58, JCL SOLUTIONS Kitchen/Cleaning Supplies $2517.25, JIM BORK ENTERPRISES Printing/Forms $175, JOHNSON, BRETT HS Donations $23.18, KATTERHAGEN, MARK Bd Exp Fees (Yankton) $48, KAUFFMAN, DAVID W PH Psych Evals $2700, KB SPRINKLERS Bldg/Yard Repair & Maintenance $95, KENNEDY, RENEE S Court Reporters $355.15, KIBBLE EQUIPMENT LLC Truck Repairs & Maintenance $202.62, KLEIN, STEVEN J Welfare Rent $600, KNECHT, ANDREW J Attorney Fees $1896, KNECHT, ANDREW J Child Defense Attorney $2179.5, KNIFE RIVER Grounds & Parking Repair $1003.8, KRAUSE GENTLE Business Travel $14.67, KRAUSE GENTLE Gas Oil & Diesel $39.49, KRINGEN, MAGGIE JANE Professional Services $1200, KWIK TRIP, INC Gas Oil & Diesel $6.09, KYLE BROWN Sign Deposits $50, LA POLICE GEAR INC Safety & Rescue Equipment $615.38, LA POLICE GEAR INC Uniform Allowance $502.46, LACEY RENTALS INC Lease-Rental Agreement $140, LANTERN PRESS FAIRE Store Inventory $60, LARSON, VALERIE Bd Exp Fees (Yankton) $48, LEWIS & CLARK BEHAVI Bd Evaluations (Yankton) $675, LEWIS DRUG #01 Clinics - Auxiliary Services $663.13, LEWNO LAW OFFICE Bd Exp Fees (Yankton) $308.49, LEXJET CORPORATION Program Activities $308.78, LG EVERIST INC Road Material Inventory $5334.35, LIPP, DELORES Business Travel $42.21, LITTLE CAESARS 3469- Supplemental Food $399.17, LOPEZ, REBECA Interpreters $60, LOUNSBERY, MARY C MI Attorney Fees $216, LOVE’S #0176 OUTSIDE Gas Oil & Diesel $69.52, LOVING, PHILIP Bd Evaluations (Minnehaha) $10248.48, LUTHERAN SOCIAL SVCS Evening Report Center $2410.89, LUTHERAN SOCIAL SVCS Miscellaneous Expense $17850, LUTHERAN SOCIAL SVCS Shelter Care/Reception Center $123602.88, LUVERNE SUPERMARKET Welfare Food $59.95, LYNN, JACKSON, SHULT Attorney Fees $5657.74, MAC’S HARDWARE Small Tools & Shop Supplies $54.99, MAC’S SIOUX FALLS, S Sign Supply Inventory $19.58, MACARTHUR Welfare Rent $897, MADDENS ON GULL LAKE Business Travel $641.04, MAILCHIMP Advertising $60, MAJESTIC RIDGE LIMIT Welfare Rent $900, MALLOY ELECTRIC Jail Repairs & Maintenance $14.15, MANUFACTURERS Welfare Rent $1000, MCDONALD’S F11872 Extradition & Evidence $11.65, MCKESSON MEDICAL SUR Clinics - Auxiliary Services $173.26, MEADOWLAND APARTMENT Welfare Rent $764, MEGA SAVER (501 N MI Business Travel $31.72, MEGA SAVER (501 N MI Gas Oil & Diesel $169.19, MELINDA AVISE Education & Training $633.62, MENARD INC Building Repairs & Maintenance $111.48, MENARD INC Grounds & Parking Repair $19.98, MENARD INC HHS Maintenance $12.77, MENARD INC Jail Repairs & Maintenance $61.06, MENARD INC Miscellaneous Expense $176.56, MENARD INC Park & Recreation Material $82.43, MENARD INC Parks/Rec Repair & Maintenance $21.43, MENARD INC Program Activities $57.56, MENARD INC Road Maint & Material $75.72, MENARD INC Small Tools & Shop Supplies $22.94, MENARD INC Tea-Ellis Range $230.82, MENARD INC Uniform Allowance $73.35, MESA HEIGHTS Welfare Rent $1488.5, MICHEAL’S PURPLE PET Building Repairs & Maintenance $168, MICROFILM IMAGING SY Contract Services $2855.25, MICROFILM IMAGING SY Lease-Rental Agreement $1290, MICROFILM IMAGING SY Software $400, MIDAMERICAN ENERGY C Natural Gas $1520.56, MIDAMERICAN ENERGY C Welfare Utilities $634, MIDCONTINENT COMMUNI Amounts Held For Others $266.78, MIDLAND INC Fairgrounds $229.25, MIDLAND INC Heat, Vent & AC Repairs $32.52, MIDLAND INC Jail Repairs & Maintenance $269.81, MIDLAND INC Small Tools & Shop Supplies $48.04, MIDWEST ALARM COMPAN Building Repairs & Maintenance $154, MIKAYLA STEEG OR TYL Misc Revenue $300, MINNEHAHA CNTY TREAS Truck Repairs & Maintenance $53.4, MINNEHAHA COMMUNITY Tea-Ellis Range $64.5, MINNEHAHA COMMUNITY Water - Sewer $60, MOTION AND CONTROL E Truck Repairs & Maintenance $172.5, MURRAY APARTMENTS Welfare Rent $231, NAGA LEATHER AND BEA Other Supplies $40, NAPA AUTO PARTS Automotive/Small Equipment $58.22, NAPA AUTO PARTS Heavy Equip Repairs & Maint $146.32, NAPA AUTO PARTS Small Tools & Shop Supplies $58.8, NAPA AUTO PARTS Truck Repairs & Maintenance $23.53, NATIONAL ASSOCIATION Education & Training $638, NATIONAL ASSOCIATION Memberships $343.15, NEW EDGE Welfare Rent $1289, NGUYEN, LAM Interpreters $120, NICOLE CARLSON Misc Revenue $280, NORTH CAROLINA DEPT Contract Services $952.95, NORTH RIDGE APARTMEN Welfare Rent $700, NORTHEAST INVESTMENT Welfare Rent $1000, NORTON OPERATING LLC Welfare Rent $897, NOVAK Lease-Rental Agreement $192.09, NOVAK Miscellaneous Expense $719.55, NOVAK Trash Removal $284, NYBERGS ACE HARDWARE JDC Maintenance $6.64, NYBERGS ACE HARDWARE Small Tools & Shop Supplies $6.64, OFFICE DEPOT INC Data Processing Supplies $98.03, OFFICE DEPOT INC Office Supplies $21.99, OFFICE DEPOT INC Publishing Fees $26.83, OLSON LAW FIRM PLLC Child Defense Attorney $2916.38, ONE2 APARTMENTS Welfare Rent $500, OREILLY AUTOMOTIVE S Automotive/Small Equipment $10.99, OVERHEAD DOOR COMPAN Hwy Shop Repairs & Maintenance $1159.13, PANTHER GRAPHICS LLC Program Activities $1760, PARKER, TRAVIS HS Donations $3285.06, PAYPAL *DEBRAMARCON Heavy Equip Repairs & Maint $-70.24, PAYTON, ARISTARCHUS Business Travel $289.44, PB ONLINE POSTAGE Postage $75, PENBROOKE PLACE APAR Welfare Rent $2662, PEOPLEFACTS Recruitment $104.1, PERFORATEDPAPER.COM Publishing Fees $127.66, PETERSON, MIKE Uniform Allowance $105.04, PHILLIPS 66 Gas Oil & Diesel $33.66, PHOENIX SUPPLY LLC Child Care Items $332.04, PHOENIX SUPPLY LLC Child Care Uniforms $34.5, PIEDMONT PLASTICS Building Repairs & Maintenance $265, PILOT TRAVEL CENTERS Gas Oil & Diesel $31.26, PILOT_00599 Gas Oil & Diesel $31.21, PIONEER ENTERPRISES Burials $5500, PRAHM CONSTRUCTION I Contracted Construction $246520, PRAIRIE WYNN PROPERT Welfare Rent $700, PRECISE MRM LLC Software $360, PRECISION KIOSK TECH Testing Supplies $4500, PRICE, THOMAS L Psych Evals $7200, QE LLC Welfare Rent $835, QUALIFIED PRESORT SE Postage $231.55, QUALIFIED PRESORT SE Publishing Fees $633.29, QUALITY INNS Business Travel $1381.62, R&L SUPPLY LTD Heat, Vent & AC Repairs $147.72, R&L SUPPLY LTD Jail Repairs & Maintenance $449.98, R&L SUPPLY LTD Parks/Rec Repair & Maintenance $36.27, R&L SUPPLY LTD Plumbing & Welding $118.13, RAC RENTALS, LLC Professional Services $2589, RAC RENTALS, LLC Recruitment $4513, RAMKOTA INN Business Travel $983.37, RAPID CITY CLUBHOUSE Business Travel $560, RED WING OF SIOUX FA Special Projects $175, REDWOOD COURT LTD PA Welfare Rent $1698, REEVES, MEGAN Court Reporters $120.4, RELIANCE TELEPHONE I Telephone $1.43, REYNOLDS LAW LLC Child Defense Attorney $3428.5, RICCI, KIEL Business Travel $220, RISTY, MAXINE J Court Reporters $727.05, ROEMEN’S AUTOMOTIVE Automotive/Small Equipment $61.98, RUNNING SUPPLY INC Small Tools & Shop Supplies $47.99, SAFE HOME LTD PTNRSH Rent Subsidies $8974, SAMP, ROLLYN H Attorney Fees $576, SAMS CLUB - MEMBERSH Child Care Items $53.92, SAMS CLUB - MEMBERSH Other Supplies $70.44, SAMS CLUB - MEMBERSH Professional Services $124.16, SAMS CLUB - MEMBERSH School Lunch Program $134.57, SAMS CLUB - MEMBERSH Supplemental Food $33.76, SANFORD Other Medical Services $3042.55, SANFORD OCCUPATIONAL Insurance-Other Costs $931, SANFORD OCCUPATIONAL Professional Services $1063, SANFORD OCCUPATIONAL Recruitment $168, SCHAEFFER MFG CO Parts Inventory $566.7, SCHEELS ALL SPORTS Other Supplies $298, SD ASSOC OF COUNTY C Education & Training $250, SD HUMAN SERVICES CE Psych Evals $1800, SD STATE BAR Memberships $415, SETH HODGES Business Travel $220, SHELL OIL10014594013 Gas Oil & Diesel $91.01, SHELL OIL10015518011 Business Travel $54.37, SHERWIN WILLIAMS Building Repairs & Maintenance $151.33, SINCLAIR OIL CORP. Business Travel $25.52, SINCLAIR OIL CORPORA Business Travel $36.61, SIOUX FALLS CITY Clinics - Auxiliary Services $3229.4, SIOUX FALLS CITY Welfare Utilities $688.84, SIOUX FALLS MINISTRY Welfare Rent $790, SIOUX FALLS RUBBER S Office Supplies $122.25, SIOUX RIVER MENTAL H Psych Evals $2000, SIOUX VALLEY ENERGY Welfare Utilities $100, SISSON PRINTING INC Printing/Forms $133.96, SITEWORKS INC Repair/Renovations $54115.41, SKADSEN, NATHAN Business Travel $702.16, SMITH, TRACI M. Business Travel $397.66, SOCIETYFORHUMANRESOU Education & Training $1204, SOUTH DAKOTA MAGAZIN Store Sales $4.75, SOUTH RIDGE LIMITED Welfare Rent $569, SPARE TIME Uniform Allowance $490, SPRING HILL LTD PART Welfare Rent $286, SQ *JIM & RON’S SERV Professional Services $430, SQ *SAFETY BENEFITS, Safety Committee $150, STATE OF COLOADO DEP Copy Fees $12.87, STATE OF SOUTH DAKOT Amts Held-Daily Scram $6570, STATE OF SOUTH DAKOT Amts Held-Remote Breath $1844, STATE OF SOUTH DAKOT Architects & Engineers $102.5, STATE OF SOUTH DAKOT Archive/Preservation Supplies $574.77, STATE OF SOUTH DAKOT Extension Background Checks $10, STATE OF SOUTH DAKOT Inmate Supplies $3476.4, STATE OF SOUTH DAKOT Miscellaneous Expense $144, STATE OF SOUTH DAKOT Printing/Forms $170.5, STATE OF SOUTH DAKOT Safety & Rescue Equipment $42, STATE OF SOUTH DAKOT Sign Supply Inventory $814.49, STEPHANIE KEIZER Sign Deposits $50, STREICHERS INC Uniform Allowance $54426.97, SUMMIT FIRE PROTECTI Jail Repairs & Maintenance $823.5, SUMMIT FOOD SERVICE Board Of Prisoners-Meals $109846.93, SUMMIT FOOD SERVICE Child Care Food $781.66, SUMMIT FOOD SERVICE Inmate Supplies $467.59, SUMMIT FOOD SERVICE School Lunch Program $1779.23, SUNNYCREST VILLAGE Welfare Rent $555, SUNSET LAW ENFORCEME Ammunition $6617.17, TCN INC Telephone $50.8, TERESA SCHAFER Business Travel $1051.85, TERRONES, JARED Investigators Expenses $13.4, TESSMAN SEED COMP Grounds & Parking Repair $425, THE COUNSELING CAFE Psych Evals $2690, THE HOME DEPOT 4301 Parks/Rec Repair & Maintenance $26.88, THE HOME DEPOT 4301 Small Tools & Shop Supplies $7.47, THE MIGHTY BOWTONES Program Activities $2300, THE WEBSTAURANT STOR Testing Supplies $309.47, THOMPSON, PAIGE Bd Evaluations (Minnehaha) $450, THOMPSON, PAIGE ELIZ Bd Evaluations (Minnehaha) $325, TIRES TIRES TIRES Automotive/Small Equipment $63.45, TOMACELLI’S TOO Jury Fees $472.33, TOOLS RENEWED Bridge Repair & Maintenance $1544.87, TOTAL FIRE PROTECTIO Maintenance Contracts $612, TOWNSQUARE MEDIA INC Lease Interest $144.01, TOWNSQUARE MEDIA INC Lease Principal $355.99, TRANE JDC Maintenance $3326.8, TRANSOURCE TRUCK & E Truck Repairs & Maintenance $3165.25, TRC 41ST Welfare Rent $1700, TRI-STATE NURSING Professional Services $5832.63, TRIANGLE PROPERTIES Welfare Rent $700, TRITECH SOFTWARE Maintenance Contracts $2062.53, TRUGREEN LIMITED PAR Professional Services $69, TUSCHEN, MICHAEL E Uniform Allowance $89.61, TWO WAY SOLUTIONS IN Communication Equipment $124.95, TWO WAY SOLUTIONS IN Communication Equipment Repair $4296.95, TYRELL BERTSCH Business Travel $220, TZADIK HIDDEN HILLS Welfare Rent $1000, TZADIK SIOUX FALLS I Welfare Rent $7350, TZADIK SIOUX FALLS P Welfare Rent $3723, TZADIK WOODLAKE Welfare Rent $1287.1, ULTEIG ENGINEERS INC Architects & Engineers $1491.75, UNITED AIRLINES INC Business Travel $496.87, US FOODS INC Other Supplies $104.19, US FOODS INC Professional Services $2047.5, US POSTAL SERVICE Postage $1373.85, VER BEEK, KELSEY Child Defense Attorney $3064.4, VERIZON CONNECT FLEE Subscriptions $239.25, VITAL RECORDS Archive/Preservation Supplies $2129.85, VOLUNTEERS OF AMERIC Welfare Rent $694, WALGREENS Office Supplies $31.59, WALGREENS Professional Services $24.69, WALL LAKE SANITARY D Water - Sewer $90, WALMART STORES INC Clinics - Auxiliary Services $21.48, WALMART STORES INC Miscellaneous Expense $499.9, WALMART STORES INC Office Supplies $10, WALMART STORES INC Other Supplies $213.36, WALMART STORES INC Park & Recreation Material $22, WALMART STORES INC Pharmacies $103.78, WALMART STORES INC Safety & Rescue Equipment $39.46, WALMART STORES INC School Lunch Program $151.28, WALMART STORES INC Supplemental Food $90.54, WALMART STORES INC Telephone $270, WALTON, MARCUS Child Defense Attorney $2484, WEERHEIM LAW OFFICE Bd Exp Fees (Minnehaha) $5556, WEERHEIM LAW OFFICE Crisis Intervention Program $60, WELLS, KIMBERLY Attorney Fees $1574.2, WES INVESTMENTS LLC Welfare Rent $800, WEST POINTE LIMITED Welfare Rent $888, WESTERN CENTER FOR Program Activities $16000, WESTWOOD LIMITED PAR Welfare Rent $1696, WILLIAMSBURG LIMITED Welfare Rent $700, WILLOW SOUTH Welfare Rent $500, WILLOWS EAST COMMONS Welfare Rent $1200, WORDFENCE.COM Subscriptions $402.3, WYNN REALTY LLC Welfare Utilities $500, XCEL ENERGY Electricity $81142.09, XCEL ENERGY Road Maint & Material $15.85, XCEL ENERGY INC Welfare Utilities $5581.43, YANKTON COUNTY Return Of Service $200, YELLOW ROBE, LUTHER ICWA Professional Services $34130.25, YMCA Welfare Rent $1200, YOGI HOLDINGS INC Motels $700, ZORO TOOLS INC Truck Repairs & Maintenance $22.19.
The following report was received and placed on file in the Auditor’s Office:
Minnehaha County Coroner Monthly Report for July 2025
Routine Personnel Actions
New Hires
1. James Wipf, Pretrial Coordinator for Pre Trial Services, at $28.19/hour (306/2) effective 9/29/25.
Step Increases
1. Benjamin Devlin, Exhibits Assistant for the Museum, at $30.99/hour (305/7) effective 9/27/25.
2. Sandra Kinder, Commission Assistant for the Commission, at $36.89/hour (14/13) effective 9/23/25.
3. Johnathan Couture, Building Facilities Maintenance Technician for Facilities, at $30.26/hour (14/5) effective 9/26/25.
4. Hannah Bartelt, Correctional Officer for the Jail, at $27.44/hour (14/2) effective 9/16/25.
5. Nathaniel Carota, Correctional Officer for the Jail, at $27.44/hour (14/2) effective 9/16/25.
6. Brian Johnson, Correctional Officer for the Jail, at $28.82/hour (14/3) effective 9/22/25.
7. July Schmidt, Correctional Officer for the Jail, at $27.44/hour (14/2) effective 9/16/25.
To record significant employee anniversaries for October 2025: 5 years -Tyler Bassett, Justin Conlon, Orlando Nelson, Gabriela Ordaz, Aaron Wiederich; 25 years-Michael Mayer, Steven VanWyhe; 30 years- Julie Meyer.
To record volunteers in County Departments for September 2025. This list is on file at Human Resources.
Notices and Requests
South Dakota Department of Health Notice of Disinterment Permit for the Remains of Joanne Denevan
Authorize the Auditor to Publish Notice of Hearing on November 4, 2025, to Consider a Renewal Application for Retail On-Sale Liquor License for Red Rock Bar & Grill, Inc d/b/a Red Rock Bar & Grill
Items within Policy Guidelines
RESOLUTION MC25-26
WHEREAS, the Auditor’s Office has found that there are certain lien entry errors as outlined herein; and
WHEREAS, a county lien identified as DPNO 79182 in the amount of $639.60 was erroneously entered under the incorrect name, and therefore such lien should be merged into each of the correct existing liens, identified as DPNO 76002, 56635, and 77982; and
WHEREAS, a county lien identified as DPNO 80383 in the amount of $926.60 was erroneously entered with an incorrect spelling of the lienee’s name, and therefore the lien should be merged into the correct existing lien identified as DPNO 76002; and
WHEREAS, a county lien identified as DPNO 76003 in the amount of $1,467.00 was erroneously entered under the incorrect name and also lists the incorrect lien amount, and therefore the lien should be corrected to reflect the accurate lien amount of $1,467.80 and the lien should be merged into the correct existing lien identified as DPNO 56635; and
WHEREAS, a county lien identified as DPNO 79817 in the amount of $885.60 was erroneously entered with an incorrect spelling of the lienee’s name, and therefore the lien should be merged into the correct existing lien identified as DPNO 56635; and
WHEREAS, a county lien identified as DPNO 76004 in the amount of $4,239.00 erroneously identifies the lienee’s name, and therefore the lien should be merged into the correct existing lien identified as DPNO 77982; and
WHEREAS, a county lien identified as DPNO 76002 in the amount of $1,156.20 was erroneously omitted from two existing county aid liens and therefore the amount of $1,156.20 should be added to existing lien identified as DPNO 56636 and DPNO 77982.
NOW, THEREFORE, BE IT RESOLVED, that after due consideration of the above circumstances and the need to act on the requested changes identified above, the Board of County Commissioners finds it advisable and proper to authorize the Chair of the Board of Commissioners to execute and the County Auditor to attest the following:
Pursuant to SDCL § 23A-40-16, the Minnehaha County Board of Commissioners directs that correction be made to the liens consistent with the request outlined above.
Dated at Sioux Falls, South Dakota, this 7th day of October, 2025
APPROVED BY THE BOARD OF COMMISSIONERS:
Dean Karsky
Chair
ATTEST:
Leah Anderson, County Auditor
By: Kym Christiansen
Deputy Auditor
JUVENILE JUSTICE CENTER CHANGE ORDER
Upon the request of Tom Greco, Commission Administrative Officer, MOTION by Kippley, seconded by Beninga, to Authorize the Commission Administrative Officer to Sign Owner Change Order #3 to Add a Shell Space Addition to Phase 2 of the Juvenile Justice Center Project for an Increase of $1,649,757 and a New Contract Cost of $42,292,250. By roll call vote: 5 ayes.
RESOLUTION
Upon the request of Eric Bogue, Chief Civil Deputy State’s Attorney, MOTION by Bleyenberg, seconded by Beninga, to Authorize the Chair to Sign Resolution MC25-27 Authorizing the Commencement of a Civil Action. By roll call vote: 4 ayes 1 nay Heisey.
RESOLUTION MINNEHAHA COUNTY 25-27
RESOLUTION AUTHORIZING THE COMMENCEMENT OF A CIVIL ACTION
WHEREAS, the Minnehaha County Board of Commissioners declared the following described property to be a public nuisance on September 23, 2025, in violation of Minnehaha County Ordinance MC33-04, which Ordinance is entitled Declaration and Abatement of Public Nuisances (hereinafter Nuisance Ordinance); and
WHEREAS, such property is located at 2204 N Ellis Road, Sioux Falls, SD 57107, and is legally described as The South 195 Feet of the North 1024 Feet of the West 1164 Feet of the Northwest Quarter of the Northwest Quarter (NW1/4NW1/4), and Lot 1 Olson’s Second Addition, Northwest Quarter of the Northwest Quarter, Section 10, Township 101, Range 50, Wayne Township, Minnehaha County, South Dakota (hereafter referred to as “Subject Property”), which property is owned by Matt Poss and Samantha Moser (hereinafter Owners); and
WHEREAS, the Minnehaha County Planning Office determined that the property is zoned A-1 Agricultural, and the Owners appear to be using the property as commercial property which is prohibited pursuant to the Revised Joint Zoning Ordinance for Minnehaha County and the City of Sioux Falls MC30-02. Specifically, no commercial equipment, commercial vehicles or employee parking is permitted in this A-1 Agricultural zoning district. The Minnehaha County Planning Office observed commercial equipment on the property including dump trucks, semi-trucks, a crane, a commercial bull dozer, and loaders.
WHEREAS, on October 28, 2024, the Minnehaha County Planning Office notified the Owners of a zoning violation existing on the property, outlining the factual basis for the violation, demanding correction of the violation within a designated period of time; and
WHEREAS, after the zoning violation was not voluntarily corrected, on January 21, 2025, the Planning Department again notified the Owners of the zoning violation and again demanded correction of the violation within a designated period of time; and
WHEREAS, the Owners continue to refuse to voluntarily correct the zoning violations on their property; and
WHEREAS, as the Planning Department reports that the zoning violation continues at the property, the Board of County Commissioners finds that it is now necessary and in the best interests of the County to pursue legal action to seek injunctive relief to prevent the continued violation of the joint zoning ordinance and to compel Owners to immediately cease, correct and abate the use of the property in violation of the joint zoning ordinance;
NOW, THEREFORE, BE IT RESOLVED, by the Board of County Commissioners of Minnehaha County, South Dakota, that the Minnehaha County State’s Attorney is hereby authorized to institute and proceed with a civil action seeking injunctive relief or any other relief deemed necessary to gain compliance with all county ordinances.
Dated this 7th day of October, 2025.
Dean Karsky
Chair
Minnehaha County Board of Commissioners
ATTEST: Leah Anderson, Auditor
Kym Christiansen, Deputy Auditor
FIVE-YEAR TRANSPORTATION AND BRIDGE IMPROVEMENT PLAN
Upon the request of Jenna Girard, Assistant Highway Superintendent, MOTION by Beninga, seconded by Bleyenberg, to Approve the Five-Year Transportation Plan and Authorize the Chair to Sign the Certification Form in Accordance with Bridge Improvement Grant Fund Requirements. By roll call vote: 5 ayes.
AMENDED JOINT POWERS AGREEMENT
Upon the request of Tom Greco, Commission Administrative Officer, MOTION by Kippley, seconded by Heisey, to Authorize the Chair to Sign an Amended Joint Powers Agreement between Minnehaha County and the City of Sioux Falls for Legal Research at the Siouxland Downtown Library. By roll call vote: 5 ayes.
AGREEMENTS
Upon the request of Tom Greco, Commission Administrative Officer, MOTION by Bleyenberg, seconded by Heisey, to Authorize the Chair to Sign an Agreement between Minnehaha County and the City of Sioux Falls to Convey Real Property as Part of the City’s Minnesota Avenue Improvements Project. By roll call vote:5 ayes.
Upon the request of Tom Greco, Commission Administrative Officer, MOTION by Heisey, seconded by Beninga, to Authorize the Chair to Sign an Agreement between Minnehaha County and the City of Sioux Falls for Temporary Construction Easements as Part of the City’s Minnesota Avenue Improvements Project. By roll call vote: 5 ayes.
SURPLUS DECLARATION
Upon the request of Tom Greco, Commission Administrative Officer, MOTION by Beninga, seconded by Kippley, to Declare the Juvenile Detention Center and Juvenile Detention Center Parking Lot as Surplus for Disposal as Demolition; Moveable Filing System, Juvenile Detention Center Control System, and Juvenile Detention Center Camera System as Surplus for Disposal as Junk/Demolition; IDS Telephone System as Surplus for Disposal as Junk; Generator as Surplus for Transfer to Highway; and Juvenile Detention Center Office Furniture as Surplus for Transfer to Emergency Management. By roll call vote: 5 ayes.
OPPORTUNITY FOR PUBLIC COMMENT
Bob Kolbe, Sioux Falls, SD, spoke about the history of image that is displayed in the County.
COMMISSIONER LIAISON REPORTS
Commissioner Kippley spoke about the pathways to the licensure program with the University of South Dakota School of Law and introduced Kylee VanEgdom, who is participating in the program.
Commissioner Bleyenberg spoke about the work being done by the community service team at the Juvenile Justice Center.
Commissioner Beninga spoke about the opportunity of public feedback regarding the campus master plan and the survey is available on the Minnehaha County webpage.
Commissioner Heisey spoke about working relationship with the City of Sioux Falls and Minnehaha County for the Mary Jo Wegner Arboretum and Perry Nature Area.
NON-ACTION COMMISSION DISCUSSION
Commissioner Karsky spoke about the openings on the following County boards: Siouxland Heritage Museums Board of Directors; Minnehaha County Planning Commission; Minnehaha County Public Defender Advisory Board; and Minnehaha County Housing and Redevelopment Commission as well as how to apply.
MOTION by Kippley, seconded by Beninga, to Adjourn at 9:39 a.m. 5 ayes.
The Commission adjourned until 9:00 a.m. on Tuesday, October 21, 2025.
APPROVED BY THE COMMISSION:
Dean Karsky
Chair
ATTEST:
Kym Christiansen
Commission Recorder
Published once on Oct. 10, 2025, at the approximate cost of $403.97, and may be viewed free of charge at www.sdpublicnotices.com or TheDakotaScout.com.
-
PUBLISH: Oct. 10, 2025
THE MINNEHAHA COUNTY BUILDING COMMITTEE CONVENED
AT 8:00 AM on October 7, 2025, pursuant to adjournment on September 2, 2025. COMMISSIONERS PRESENT WERE: Beninga, Bleyenberg, Heisey, Karsky, and Kippley; Auditor Anderson, Director of Facilities and Construction Kriens, and Commission Administrative Officer Greco. Also present were Kym Christiansen, Commission Recorder, and Eric Bogue, Chief Civil Deputy State’s Attorney.
Building Committee Chair Karsky called the meeting to order.
MOTION by Bleyenberg, seconded by Heisey, to Approve the Meeting Minutes from September 2, 2025. 8 ayes.
CAMPUS MASTER PLAN BRIEFING
Tom Greco, Commission Administrative Officer, introduced Andrew Eitreim, President and Principal Architect of Architecture Inc., to provide an update on the Campus Master Planning Project. Discussion followed on the facilities condition assessments; data for a space needs assessments; initial observations and examples for Facilities Conditions Assessments and Space Needs Assessments; and confirmation of the scope and expectations of the Campus Master Planning Project.
OFFICE SUITE MOVE
Tom Greco, Commission Administrative Officer, presented a proposal for discussion regarding the swapping of the Public Advocate and Planning Office Suites. Discussion followed regarding the benefit of exchanging office space instead of the remodeling the vault space. The proposal would create a timely solution of space needs and would save the county substantial cost. There was agreement among the Building Committee to authorize the Department Heads and their respective liaisons to validate, reject, or modify the proposal to exchange office space by October 31st.
MOTION by Bleyenberg, seconded by Anderson, to Adjourn at 8:48 a.m. 8 ayes.
APPROVED BY THE BUILDING COMMITTEE:
Dean Karsky
Building Committee Chair
ATTEST:
Kym Christiansen
Commission Recorder
Published once on Oct. 10, 2025, at the approximate cost of $23.20, and may be viewed free of charge at www.sdpublicnotices.com or TheDakotaScout.com.
LINCOLN COUNTY
PUBLISH: Oct. 10, 2025
LINCOLN COUNTY BOARD OF COMMISSION
Meeting Minutes
September 11, 2025
THE LINCOLN COUNTY BOARD OF COMMISSIONERS convened at 8:30 a.m. on September 11, 2025, with Commissioners Jim Schmidt, Tiffani Landeen, Doug Putnam present. Alicia Cafaro, Deputy Auditor, served as Clerk of the Board. Chief Civil Deputy State’s Attorney, Drew DeGroot, was also present.
Chair, Tiffani Landeen, called the meeting to order.
ROUTINE BUSINESS:
MOTION by Jim Schmidt and seconded by Doug Putnam to approve Agenda. Ayes; Jim Schmidt, Tiffani Landeen, Doug Putnam, Nays; None. Motion Passed.
Reports:
Mileage - Emergency Management - August 2025, Sheriff’s Office - August 2025, Buildings & Grounds - August 2025
Adopted budget, budget listing, and budget worksheet adopted on 09.02.2025
August 2025 Register of Deeds
Auditor’s Office Monthly Transaction Report - August 2025
Commissioner’s Report - US BANK Expense Report
Recognition of significant anniversaries: September 2025
Ron Straatmeyer, 911 Communications – 16 Years
MOTION by Jim Schmidt and seconded by Doug Putnam to approve Consent Agenda items. Ayes; Jim Schmidt, Tiffani Landeen, Doug Putnam, Nays; None. Motion Passed.
CONSENT AGENDA:
MOTION by Jim Schmidt and seconded by Doug Putnam approve County Commission Minutes: 09.02.2025. Ayes; Jim Schmidt, Tiffani Landeen, Doug Putnam, Nays; None. Motion Passed.
MOTION by Jim Schmidt and seconded by Doug Putnam to approve Lincoln County Claims in the amount of: $3,201,520.41: General Fund: A & B Pure Water Online Corp, Monthly Drinking Water Machine Rental Contract, $207.80; A To Z World Languages Inc, Interpreter Services, $100.00; All Nations Interpreters Inc, Interpreter Services , $1,035.00; Anderson, Jennifer Marie, Mi Eval, $2,254.88; Angel Law, Prof LLC, Crt Appt Atty, $558.00; Autopros Tire & Service Center, 2015 Chevrolet Cruze - 196490, $66.22; Bomgaars, Floor Dry/Fasteners, $32.62; Boots, Todd, P&Z Board , $47.54; Buddi Us LLC, August Tagging Days, $1,968.00; Cannabis Chemlab, LLC, Lab Testing, $325.00; Century Business Products, Copier Contract, $292.70; City Of Canton, Water Utilities - Low Volume - Ch, $1,609.87; Clear Gov Inc , Cleargov Budgeting Software, $8,875.00; Computer Forensic Resources Inc, Computer Forensic Expert, $4,908.60; Dakota Data Shred, Document Shredding, $114.12; Dakota Embalming & Transport Service Inc, Transportation , $175.00; De Castro Law Office, PLLC, Crt Appt Atty, $1,188.00; Eich Law Office Prof LLC, Crt Appt Atty, $1,044.00; Ekle, Donna, Oacoma Aug 18 - 20, $66.00; Farmer, April, Early/Late Appt Mileage - Oacoma Aug 18-20, $92.41; Frantzen Reporting/Pgr8r Inc, Grand Jury Transcript, $118.40; G & R Controls Inc, Repair Parts For Boilers, $29.54; Goossen, Karla, Workshop Aug 11 - 12 - Chips/Donuts, $74.48; Green, Scott, P&Z Board , $20.40; Griese Law Firm, Pc, Crt Appt Atty, 3,651.00; Harrisburg Ace Hardware, Windshield Wash Ace Gal Return Value $4.490 Buy 2, $18.16; IMEG Corp, Ps - Tr 2,3 & 4 Havelaar Add, Grabers Add, $400.00; Isi, LLC, Interpreter Services, $110.00; Jack’s Uniforms & Equipment, Degrange Uniforms, $240.73; Jongeling, Jerry, P&Z Board , $38.14; Jury Fees, Fee $50.00 / Day + Mileage , $595.64; Karla Salem, Qmhp, Mi Eval, $1,760.00; Katterhagen, Mark, Mi Hearing, $32.00; Knecht, Andrew J, Crt Appt Atty-Juv, $5,780.50; Larson, Valerie, Mi Hearing, $32.00; Lennox Area Ambulance, 2024 - Sanford Pathology , $2,660.00; Lennox Independent LLC, Tea/Lennox Publishing - 07.10.2025 Kurtenbach, $37.64; Lewno Law Office, Lucy M Lewno, Atty, Mi Board, $234.73; Lincoln Co Treasurer, Title/Registration Fees, $114.80; Lisa Carlson, Rpr, Transcript, $44.10; Lookout Plan + Code Consulting LLC, Ps - Bldc-0159-2025, Bldc-0160-2025, $765.00; Midamerican Energy Co, Natural Gas Utilities - St, $779.83; Miller Funeral Home, Poor Relief Funeral, $2,500.00; Minnehaha Co Human Services, Monthly Poor Relief-Sept, $7,817.43; Minnehaha County Jail, July Medical, $189,482.30; Myers Billion, Llp, 09.2025 - Ipdc, $18,025.00; Newvision Automotive LLC, 23-6 New Windshield, $315.00; Northwest Tire , 40 New 275/55vr20 Fst Frhwk Pursuit Awt 011822, $6,513.20; O’Leary Law Office, Crt Appt Atty, $3,068.72; Olseth, Sarah, Oacoma Aug 18 - 20, $66.00; Olson Law Firm, PLLC, Crt Appt Atty, $1,963.50; Otten, Betty, P&Z Board , $22.64; Pat Beck, Court Reporter, Transcripts, $725.50; Peterson Stuart & Klentz, Prof LLC, 08.2025 Pdc, $75,694.08; Phillip Loving, Mi Eval, $6,260.94; Preferred Printing Inc, Envelopes, $417.52; Preheim, Austin, Conference Travel, $66.00; Prochem Dynamics LLC, Custodial Supplies, $2,115.08; Riverside Technologies Inc, Toner - Print 205/236, $303.00; Route 1, Getac Video Cloud , $72,681.84; Samp Law Office , Crt Appt Atty, $2,349.50; Sandra V. Guzman, Interpreter Services, $30.00; Sanford Health Pathology Clinic, Calls , $1,350.00; Scott, Erik, P&Z Board , $15.30; Sd Dept Of Revenue, Plate Renewal, $8.50; Sd State Treasurer, 08.2025 - Yankton, $2,446.52; SDACC, Putnam Registration, $250.00; Secure Enterprise Asset Management, Computer Recycling , $348.70; Shi International Corp, Microsoft Services Renewal, $94,133.91; Sioux Valley News Inc, Publishing Fees , $1,162.54; South Dakota Public Assurance Alliance, Auto Damage Addition Of: 2025 Chevrolet Tahoe Sher, $410.26; South Lincoln Rural Water System, Water Utilties - Ec, $159.60; Southeastern Electric Co-Op Inc, Poor Relief-Utility, $590.43; Strange, Farrell, Johnson & Brewers Pc, Crt Appt Atty, $17,234.48; Sturdevant’s Auto Value, Wiper Blades 2015 Cruze, $30.14; Sturdevant’s Auto Value Lennox, Hydraulic Parts For The Kubota Tractor, $210.04; Subway #27640-0 - Canton Sd, 8.11.25 - Workshop Food, $180.00; Sweeter, Marlene, P&Z Board, $10.40; Symetra Life Insurance Company, Basic Life, $228.01; Syverson Tricia L, Mi Hearing, $128.00; The Dakota Scout LLC, Publishing, $1,040.74; Thomas L. Price Inc, Comp Eval, $2,400.00; Thomson Reuters, Library Plan Charges, $862.41; Tires and more, 21-6 Oil Change, $362.71; Transunion Risk & Alternative Data Solutions Inc, 45,870.00, $75.00; Van Beek Linda , Mi Hearing, $96.00; Ver Beek Law Prof LLC, Mi Board, $1,500.00; Voyager Fleet Systems Inc, Fleet Connectivity, $7,240.09; Wernke, Laurie A, Mi Hearing, $58.66; Xcel Energy, Electrical Utilities, $13,196.89; Road & Bridge: Amg- Avera Occupational Medicine-Sf, Lab, $113.10; Bomgaars, Supplies, $68.82; Butler Machinery Co, Wo1314, $2,044.51; Cintas Corp, Mats, Towels, Uniform, $164.46; Cramer And Associates, Inc, 09m0 Project, $312,703.32; Crane Sales & Service, Scissor Lift, $1,225.61; Crysteel Manufacturing Inc, 15 Hyd & 16hyd, $306,130.00; Culligan Water Conditioning Corp, Water Sep, $50.00; Istate Truck Center, Wo1316, $556.65; Knife River - South Dakota, G2, $1,625.88; Loiseau Construction, Inc, 134fdr, $150,683.36; Matheson Tri-Gas Inc, Welding Aug, $145.08; Midamerican Energy Co, Heat, $63.06; Myrl & Roys Paving Inc, G1, G2, $338,684.33; Napa Auto & Truck Parts Of Sioux Falls, Work Order Supplies, $233.10; North Central Rental & Leasing LLC, Roller 8.7-9.4, $6,913.02; Novak Sanitary Svc Corp, Trash Aug, $371.83; Rdo Equipment Co, Wo1274, $2,837.78; Riverside Technologies Inc, Toner - Weeds, $180.00; Sanitation Products Inc, Wo1320, $80.80; Sd Dept Of Transportation, 2025 Bridge Inspections, $3,497.52; Sdltap, Sd Ltap Registration X 2, $250.00; South Lincoln Rural Water System, Water, $126.60; Sturdevant’s Auto Value, Wo1301, $24.21; Symetra Life Insurance Company, Basic Life, $34.20; Transource Truck & Equipment Inc, Wo1319, $16,182.24; Two Way Solutions Inc, Wo1321, $417.89; Verizon Connect Fleet Usa LLC, Fleet Gps, $955.54; Xcel Energy, Traffic Lights, $81.42; 911 Communications: Symetra Life Insurance Company, Basic Life, $21.60; Two Way Solutions Inc, Annual Tower Rent For Inspiration Hills, $2,000.00; Innovative Office Solutions LLC, Folder, $28.77; Bluepeak, Lennox/Sf 911 Circuit Trunk, $1,021.09; Emergency And Disaster Fund: Symetra Life Insurance Company, Basic Life, $0.55; Interstate Power Systems Inc, Emergency Management Generator Service, $1,678.80; Grain Guardian LLC, Rescue Tubes, $1,370.00; Billion Chrysler Jeep Dodge, Purchase Of 2026 Dodge Pickup, $51,358.64; Airport Fund: Symetra Life Insurance Company, Basic Life, $1.80; Lincoln Co Rural Water, Utilities, $50.50; 24/7 Sobriety Fund: Symetra Life Insurance Company, Basic Life, $1.80; Pharm Chem Inc, Patches, $1,054.92; Tuttle, Ryan, Refund, $20.00; Rural Access Infrastructure Fund: Pleasant Township, 2024 Reimbursement, $11,844.00; Statewide Sobriety Fund: Sd Attorney General’s Office, 08.2025 State Portion, $12,047.00; Modern/Preserv/Relief: Sdaco, 08.2025 M&P State Portion, $1,828.00; State Motor: Sd State Treasurer, $1,390,964.18; Births, Deaths, & Titles Fund: Sd State Treasurer, 08.2025 Birth/Death State Portion, $1,140.00. Ayes; Jim Schmidt, Tiffani Landeen, Doug Putnam, Nays; None. Motion Passed.
MOTION by Jim Schmidt and seconded by Doug Putnam to approve the Step Increase for Joseph Mattson, Deputy State’s Attorney, in the State’s Attorney’s Office effective the first date of the biweekly pay period following 09/14/2025, 114/6 at $4,172.31 biweekly. Ayes; Jim Schmidt, Tiffani Landeen, Doug Putnam, Nays; None. Motion Passed.
MOTION by Jim Schmidt and seconded by Doug Putnam to approve the Step Increase for Burdette Block, Equipment Operator, in the Highway Department effective the first date of the biweekly pay period following 09/07/2025, HWY1/5 at $28.43/hr. Ayes; Jim Schmidt, Tiffani Landeen, Doug Putnam, Nays; None. Motion Passed.
MOTION by Jim Schmidt and seconded by Doug Putnam to approve and authorize Consumer Fireworks Permit Application from Epic Sky Displays. Ayes; Jim Schmidt, Tiffani Landeen, Doug Putnam, Nays; None. Motion Passed.
MOTION by Jim Schmidt and seconded by Doug Putnam to declare as surplus and remove from inventory the following item from the State’s Attorney’s Office; 2019 Dodge Charger, VIN 2C3CDXKT3KH619616; and authorize the Auditor to advertise and proceed with the online auction. Ayes; Jim Schmidt, Tiffani Landeen, Doug Putnam, Nays; None. Motion Passed.
MOTION by Jim Schmidt and seconded by Doug Putnam to approve and authorize the Chair to execute an agreement with the State of South Dakota Department of Transportation Agreement Providing a State Infrastructure Bank (SIB) Loan to Lincoln County, South Dakota for a Federal Aid Eligible Project. Ayes; Jim Schmidt, Tiffani Landeen, Doug Putnam, Nays; None. Motion Passed.
MOTION by Jim Schmidt and seconded by Doug Putnam to approve and authorize change orders for Justice Center construction. Ayes; Jim Schmidt, Tiffani Landeen, Doug Putnam, Nays; None. Motion Passed.
MOTION by Jim Schmidt and seconded by Doug Putnam to approve dates and time as follows and authorize the Auditor to publish notice for an Ordinance Amending Section 1 of Ordinance 0904-06 “Airport Board: Organization”: FIRST READING to occur September 23, 2025; SECOND READING & PUBLIC HEARING to occur October 7, 2025, between 8:30 a.m. and adjournment. Ayes; Jim Schmidt, Tiffani Landeen, Doug Putnam, Nays; None. Motion Passed.
REGULAR BUSINESS:
FIRST READING for an Ordinance of Lincoln County, SD, changing the zone of the property described as Tract 2, Spielman’s Addition, E1/2 NE1/4, Section 5-T99N-R50W from the A-1 Agricultural District to the PD Planned Development District and amending the Official Zoning Map of Lincoln County. The Planning Commission recommends approval (4-0). Applicant: Michael Hoffman, Prairie Wind Trailers, LLC. Property Owner: McNeil Properties, LLC. Location: Parcel: 099.50.05.B200
COMMISSIONER DISCUSSION: Jim Schmidt, Commissioner, gave an update on the South Lincoln Rural Water System. No public input was heard.
COMMISSIONER BRIEFING: Terry Fluit, Highway Department Head, presented to the Board an agreement with the South Dakota Department of Transportation for a preliminary engineering grant for structure # 42-080-193 located on CR117. No public input was heard.
MOTION by Doug Putnam and seconded by Jim Schmidt to authorize the chair to execute an agreement with the South Dakota Department of Transportation for a preliminary engineering grant for structure # 42-080-193 located on CR117. Ayes; Jim Schmidt, Tiffani Landeen, Doug Putnam, Nays; None. Motion Passed.
COMMISSIONER BRIEFING: David Myers, Airport Manager, presented information to the Board to authorize the chair to sign an agreement with the State of South Dakota Department of Transportation to seek Federal grant funding for taxiway construction at the Lincoln County Airport. No public input was heard.
MOTION by Jim Schmidt and seconded by Doug Putnam to authorize the chair to sign an agreement with the State of South Dakota Department of Transportation to seek Federal grant funding for taxiway construction at the Lincoln County Airport. Ayes; Jim Schmidt, Tiffani Landeen, Doug Putnam, Nays; None. Motion Passed.
COMMISSIONER BRIEFING: Paul Anderson, Commission Administrative Assistant, presented a resolution to the Board to recognize Friday, September 19th as POW/MIA Day in Lincoln County. No public input was heard. The resolution reads as follows:
A RESOLUTION BY THE LINCOLN COUNTY BOARD OF COUNTY COMMISSIONERS TO NAME SEPTEMBER 19, 2025 AS POW/MIA RECOGNITION DAY. WHEREAS, SDCL Ch. 7-18 provides that the powers of a County shall be exercised by a board of county commissioners; and WHEREAS, SDCL 7-18A-2 provides that Counties have the authority to enact such resolutions as may be proper and necessary to carry into effect the powers granted to it by law; and WHEREAS, Governor Rhoden has recognized September 19, 2025 as POW/MIA Recognition Day; and WHEREAS, Lincoln County is forever indebted to those POW/MIA and the sacrifice they made for our country; and WHEREAS, Lincoln County honors the six veterans unaccounted for from the Vietnam War, 33 from the Korean War, and 310 from World War II; and NOW THEREFORE BE IT RESOLVED, by the Board of County Commissioners of Lincoln County, South Dakota, in recognition of their sacrifice for their country, wish to name September, 19, 2025 as POW/MIA Recognition Day.
MOTION by Doug Putnam and seconded by Jim Schmidt to recognize Friday, September 19th as POW/MIA Day in Lincoln County. Ayes; Jim Schmidt, Tiffani Landeen, Doug Putnam, Nays; None. Motion Passed.
OPPORTUNITY FOR PUBLIC COMMENT
Public comments were heard.
COMMISSIONER REPORT (INFORMATIONAL ONLY)
Commission reports were given.
EXECUTIVE SESSION:
No Executive Session was held.
ADJOURNMENT
MOTION by Jim Schmidt and seconded by Doug Putnam to adjourn at 8:58 a.m. until 6:30 p.m. on September 23, 2025. Ayes; Jim Schmidt, Tiffani Landeen, Doug Putnam, Nays; None. Motion Passed.
Lincoln County Board of Commissioners
Tiffani Landeen, Lincoln County Chair
Attest: Alicia Cafaro, Deputy Auditor
Approved: September 23, 2025
Published once on Oct. 10, 2025, at the approximate cost of $168.20, and may be viewed free of charge at www.sdpublicnotices.com or TheDakotaScout.com.
PUBLIC NOTICE
PUBLISH: Oct. 10, 2025
NOTICE OF APPLICATION FOR ACQUISITION OF A BANK OR BANK HOLDING COMPANY BY A BANK HOLDING COMPANY
Stearns Financial Services, Inc. Employee Stock Ownership Plan, St. Cloud, Minnesota, and its subsidiary bank holding company, Stearns Financial Services, Inc., St. Cloud, Minnesota, intend to apply to the Federal Reserve Board for permission to acquire another bank holding company, One American Financial Corporation, Sioux Falls, South Dakota. We intend to acquire control of One American Bank, Centerville, South Dakota. The Federal Reserve considers a number of factors in deciding whether to approve the application, including the record of performance of banks we own in helping to meet local credit needs.
You are invited to submit comments in writing on this application to the Federal Reserve Bank of Minneapolis, Attention: Applications Officer, Division of Supervision, Regulation and Credit, P.O. Box 291, Minneapolis, MN 55480-0291. Comments can also be sent electronically to MA@mpls.frb.org. The comment period will not end before November 10, 2025 and may be somewhat longer. The Board’s procedures for processing applications may be found at 12 C.F.R. Part 262. Procedures for processing protested applications may be found at 12 C.F.R. 262.25. To obtain a copy of the Federal Reserve Board’s procedures, or if you need more information about how to submit your comments on the application, contact Mark Nagle, Assistant Vice President, at (612) 751-1563. The Federal Reserve will consider your comments and any request for a public meeting or formal hearing on the application if they are received in writing by the Reserve Bank on or before the last day of the comment period.
Published once on Oct. 10, 2025, at the approximate cost of $26.58, and may be viewed free of charge at www.sdpublicnotices.com or TheDakotaScout.com.
-
PUBLISH: Oct. 10, Oct. 17 & Oct. 24, 2025
FOUND
Found a Playstation 5 gaming console. Around the Lisanne and Steeple area on Sep 4th 2025. If you could describe the item and what it was in I will give you the contact info for the Detective on the case. Contact Keith at 605-403-4119.
Published Oct. 10, Oct. 17 & Oct. 24, 2025, at the approximate cost of $17.57, and may be viewed free of charge at www.sdpublicnotices.com or TheDakotaScout.com.
-
PUBLISH: Oct. 3 & Oct. 10, 2025
MOUNT PLEASANT CEMETERY ASSOCIATION
of Sioux Falls has called for a Special meeting of the membership for the purpose of conducting board member elections. You are a voting member of Mount Pleasant Cemetery Association of Sioux Falls if you are a lot owner, or have a relative buried in the cemetery.
The Special Meeting is to be held on October 18, 2025 from 10:00 AM until 11:30 AM. The location is Linwood Wesleyan Church at 1106 East 57th Street, Sioux Falls, SD 57108.
Published twice on Oct. 3 & Oct. 10, 2025, at the approximate cost of $19.50, and may be viewed free of charge at www.sdpublicnotices.com or TheDakotaScout.com.
COURTS
PUBLISH: Oct. 10, Oct. 17 & Oct. 24, 2025
STATE OF SOUTH DAKOTA
COUNTY OF MINNEHAHA
:SS IN CIRCUIT COURT
SECOND JUDICIAL CIRCUIT
IN RE THE ESTATE OF
CAROL E. DANNEN, DECEASED.
49PRO25-000237
NOTICE TO CREDITORS OF INFORMAL APPOINTMENT OF PERSONAL REPRESENTATIVE IN INTESTACY
NOTICE IS GIVEN that on the 3rd day of October, 2025, the Clerk of the Circuit Court, Second Judicial Circuit, Minnehaha County, South Dakota, appointed Carrie Lee Grable, 23892 Coyote Flats Rd., Rapid City, SD 57702, as Personal Representative of the Estate of Carol E. Dannen.
Creditors of the Estate of Carol E. Dannen must file their claims within four (4) months after the date of the first publication of this notice or such claims may be barred.
Claims may be filed with the Personal Representative or filed with the Minnehaha County Clerk of Courts, with a copy of the claim mailed to the Personal Representative.
Dated this 6th day of October, 2025.
REDSTONE LAW FIRM LLP
/s/ Alexander C. Ellman
By: Alexander C. Ellman (4666)
1300 W. 57th St., Ste. 101
Sioux Falls, SD 57108
Phone: (605) 331-2975
Email: alex@redstonelawfirm.com
Attorney for Personal Representative
Published Oct. 10, Oct. 17 & Oct. 24, 2025, at the approximate cost of $51.09, and may be viewed free of charge at www.sdpublicnotices.com or TheDakotaScout.com.
-
PUBLISH: Oct. 10, Oct. 17 & Oct. 24, 2025
STATE OF SOUTH DAKOTA
COUNTY OF MINNEHAHA
SS IN CIRCUIT COURT
SECOND JUDICIAL CIRCUIT
ESTATE OF MICHAEL H. DONOVAN, DECEASED. 49PRO25-206
NOTICE OF FORMAL PROBATE AND NOTICE TO CREDITORS
Notice is given that on the 12th day of September, 2025, in the Circuit Court of Minnehaha County, South Dakota, DONALD DONOVAN whose address is 527 5th Ave S, Apt F12, Brookings, SD 57006 was appointed as personal representative of the estate of the above named decedent. Creditors of decedent must file their claims within four months after the date of the first publication of this notice or their claims may be barred. Claims may be filed with the personal representative or may be filed with the clerk, and a copy of the claim mailed to the personal representative.
Notice is further given to all unknown heirs, devisees, and personal representatives named in any will that is being, or has been, probated, or offered for informal or formal probate in the county, any personal representative of the above named decedent whose appointment has not been terminated, and all persons who have any interest in any matter being litigated who are either unknown or whose addresses are unknown that on the 12th day of September, 2025, in the Circuit Court of Minnehaha County, South Dakota, DONALD DONOVAN whose address is 527 5th Ave S, Apt F12, Brookings, SD 57006 was appointed as personal representative of the estate of the above named decedent.
Dated this 3 day of October, 2025.
/s/Donald Donovan
Donald Donovan
527 5th Ave S, Apt F12
Brookings, SD 57006
Angelia Gries
Minnehaha County Clerk of Comts
425 N Dakota Ave
Sioux Falls, SD 57104
605-367-5900
Rick A. Ribstein
Attorney of the Estate
621 Sixth Street
Brookings, SD 57006
605-692-1818
Published Oct. 10, Oct. 17 & Oct. 24, 2025, at the approximate cost of $70.38, and may be viewed free of charge at www.sdpublicnotices.com or TheDakotaScout.com.
-
PUBLISH: Oct. 10, Oct. 17, Oct. 24 & Oct. 31, 2025
STATE OF SOUTH DAKOTA
COUNTY OF MINNEHAHA
IN CIRCUIT COURT
SECOND JUDICIAL CIRCUIT
IN THE MATTER OF THE PETITION OF:
JENNIFER LYNN AUSTIN
FOR A CHANGE OF NAME TO:
JENNIFER LYNN MCCONKEY
49CIV25-4326
NOTICE OF HEARING FOR ADULT NAME CHANGE
NOTICE IS HEARBY GIVEN that a Verified Petition for Adult Name Change has been filed by Jennifer Lynn Austin to change Petitioner’s name from Jennifer Lynn Austin to Jennifer Lynn McConkey. The petition will be heard on the 18th day of November, 2025, at 11:00 am by the Honorable Judge Mandi Mowery, at the Minnehaha County Courthouse, in the City of Sioux Falls, South Dakota. Anyone may appear at that time and place and show reasons, if any, why Petitioner’s name should not be changed.
Dated this 26 day of September, 2025.
Karla Kalb
Clerk of Court
Attest: Karla Kalb
Clerk of Court
By: /s/
Deputy
Published Oct. 10, Oct. 17, Oct. 24 & Oct. 31, 2025, at the approximate cost of $56.53, and may be viewed free of charge at www.sdpublicnotices.com or TheDakotaScout.com.
-
PUBLISH: Oct. 10 & Oct. 17, 2025
STATE OF SOUTH DAKOTA
COUNTY OF MINNEHAHA
:SS IN CIRCUIT COURT
SECOND JUDICIAL CIRCUIT
FIRST PREMIER BANK, PLAINTIFF,
V.
ALLEN E. POE AND KRYSTAL L. POE, MORTGAGE ELECTRONIC REGISTRATION SYSTEMS, INC., AND ANY PARTY IN POSSESSION, DEFENDANTS.
49CIV. 25-003439
NOTICE OF FORECLOSURE SALE
A Judgment and Decree of Foreclosure (the “Judgment”) dated September 19, 2025, was entered September 19, 2025, by the Circuit Court for the Second Judicial Circuit, Minnehaha County in the action entitled First Premier Bank v. Allen E. Poe and Krystal L. Poe, et al, 49CIV 25-003439. The Judgment, in part, directed a foreclosure sale of the following described real property in Minnehaha County, South Dakota:
Lot 12A of the Replat of Lots 6 through 10 inclusive of Block 11 of Pebble Creek, an Addition to the City of Sioux Falls, Minnehaha County, South Dakota, according to the recorded plat thereof.
This real property is commonly known as 5729 West 56th Street, Sioux Falls 57106.
NOTICE IS HEREBY GIVEN that for the purpose of realizing the sum of $48,430.23 on the Note and Mortgage, such sum being the Judgment amount as of September 19, 2025, against Defendants Allen E. Poe and Krystal L. Poe, husband and wife, plus subsequently accruing interest, costs, fees and expenses of foreclosure and other amounts lawfully added to such Judgment, and pursuant to such Judgment, the above-described real property will be sold at public auction to the highest bidder for cash, by the Sheriff of Minnehaha County, at the front lobby of the Law Enforcement Center at 320 W. 4th Street, Sioux Falls, South Dakota at 11:00 A.M., on Wednesday, October 29, 2025. The real property is that described in a Mortgage –180 Day Redemption, dated February 23, 2024, and recorded with the Minnehaha County Register of Deeds Office on March 20, 2024, in Book 1981 of Mortgages on Page 737, and executed by Allen E. Poe and Krystal L. Poe. The property will be sold as one distinct parcel. The Plaintiff reserves the right to cancel or reschedule the sale from time-to-time.
Dated this 24th day of September, 2025.
CADWELL SANFORD DEIBERT
& GARRY, LLP
/s/ Scott Perrenoud
Scott Perrenoud
200 E. 10th Street, Suite 200
Sioux Falls, South Dakota 57104
Telephone: (605)336-0828
Attorney for Plaintiff
Published twice on Oct. 10 & Oct. 17, 2025, at the approximate cost of $59.17, and may be viewed free of charge at www.sdpublicnotices.com or TheDakotaScout.com.
-
PUBLISH: Oct. 10, Oct. 17, Oct. 24 & Oct. 31, 2025
STATE OF SOUTH DAKOTA
COUNTY OF MINNEHAHA
:SS IN CIRCUIT COURT
SECOND JUDICIAL CIRCUIT
IN THE MATTER OF THE ESTATE OF
JEFFREY WAYNE FINNEY, DECEASED.
49 PRO. 25-238
NOTICE TO CREDITORS
Notice is given that on the 6th day of October, 2025, Svitlana F. Palamarchuk, of 3013 South Holly Avenue, Sioux Falls, South Dakota 57105 was appointed Personal Representative of the Estate of Jeffrey Wayne Finney.
Creditors of decedent must file their claims within four (4) months after the date of the first publication of this notice or their claims may be barred.
Claims may be filed with the Personal Representative or may be filed with the Clerk of
Courts and a copy of the claim mailed to the Personal Representative.
Dated this 6th day of October, 2025.
/s/Svitlana F. Palamarchuk
Svitlana F. Palamarchuk
3013 South Holly Avenue
Sioux Falls, SD 57105
Attorney for the Estate:
Samp Law Offices
P.O. Box 495
Sioux Falls, SD 57101
(605) 339-1020
Published Oct. 10, Oct. 17, Oct. 24 & Oct. 31, 2025, at the approximate cost of $55.43, and may be viewed free of charge at www.sdpublicnotices.com or TheDakotaScout.com.
-
PUBLISH: Oct. 10, Oct. 17 & Oct. 24, 2025
STATE OF SOUTH DAKOTA
COUNTY OF MINNEHAHA
:SS IN CIRCUIT COURT
SECOND JUDICIAL CIRCUIT
IN RE THE ESTATE OF
MARGARET KATHLEEN WILCOX, DECEASED.
49PRO25-000236
NOTICE TO CREDITORS OF INFORMAL PROBATE AND APPOINTMENT OF PERSONAL REPRESENTATIVE
NOTICE IS GIVEN that on the 2nd day of October, 2025, the Clerk of the Circuit Court, Second Judicial Circuit, Minnehaha County, South Dakota, appointed Thomas R. Farrell as Personal Representative of the Estate of Margaret Kathleen Wilcox.
Creditors of the Estate of Margaret Kathleen Wilcox must file their claims within four (4) months after the date of the first publication of this notice or such claims may be barred.
Claims may be filed with the Personal Representative at 3104 Greenock Rd., St. Cloud, MN 56301 or filed with the Minnehaha County Clerk of Courts, with a copy of the claim mailed to the Personal Representative.
Dated this 3rd day of October, 2025.
REDSTONE LAW FIRM LLP
/s/ Alexander C. Ellman
By: Alexander C. Ellman (4666)
1300 W. 57th St., Ste. 101
Sioux Falls, SD 57108
Phone: (605) 331-2975
Email: alex@redstonelawfirm.com
Attorney for Personal Representative
Published Oct. 10, Oct. 17 & Oct. 24, 2025, at the approximate cost of $51.09, and may be viewed free of charge at www.sdpublicnotices.com or TheDakotaScout.com.
PUBLISH: Oct. 3 & Oct. 10, 2025
IN THE STATE OF SOUTH DAKOTA,
COUNTY OF MINNEHAHA
IN CIRCUIT COURT,
SECOND JUDICIAL CIRCUIT COURT
U.S. BANK TRUST COMPANY, NATIONAL ASSOCIATION, AS TRUSTEE, AS SUCCESSOR-IN-INTEREST TO U.S. BANK NATIONAL ASSOCIATION, AS TRUSTEE FOR RESIDENTIAL ASSET MORTGAGE PRODUCTS, INC., MORTGAGE ASSET-BACKED PASS-THROUGH CERTIFICATES, SERIES 2006-NC3, PLAINTIFF,
V.
SHARLENE FAYE ANEMA A/K/A SHARLENE F. ANEMA AND VERNON J. ANEMA AND SOUTH DAKOTA DEPARTMENT OF SOCIAL SERVICES AND UNITED STATES OF AMERICA ACTING BY AND THROUGH THE INTERNAL REVENUE SERVICE AND CACH, LLC AND HEIRS & DEVISEES OF THE ESTATE OF VERNON J. ANEMA AND HEIRS & DEVISEES OF THE ESTATE OF SHARLENE FAYE ANEMA AND ALL PERSONS UNKNOWN, CLAIMING ANY ESTATE OR INTEREST IN, OR LIEN OR ENCUMBRANCE UPON, THE REAL ESTATE DESCRIBED IN THE COMPLAINT, AND ANY PERSON IN POSSESSION, DEFENDANTS.
NOTICE OF REAL ESTATE SALE ON FORECLOSURE CIVIL NUMBER: 49CIV24-004717
A Non-Monetary Judgment of Foreclosure was entered in favor of Plaintiff and against Defendants, which judgment was filed with the Clerk of Courts of Minnehaha County, South Dakota, on July 2, 2025, in the amount of $115,733.41, for the foreclosure of a real estate mortgage.
Notice is hereby given pursuant to said judgment that the real property described in
the Real Estate Mortgage dated January 18, 2006, and recorded in the office of the Register of Deeds of Minnehaha County, South Dakota, on January 31, 2006, in Book 1531, at Page 636, as Instrument Number R602758, which Vernon J. Anema and Sharlene Faye Anema, mortgagor, executed and delivered to New Century Mortgage Corporation, mortgagee, for the property located at 3917 E 18th Street, Sioux Falls, SD 57103, and legally described as:
Lot 9 in Block 3 of Terrace Lawn Addition to the City of Sioux Falls, Minnehaha County, South Dakota, according to the recorded plat thereof
in order to realize the amount of the above-referenced judgment, plus interest accruing thereafter on said amount, together with the costs and expenses of sale, will be sold subject to redemption as provided by law as one parcel of land at public auction, subject to easements and restrictions of record, to the highest bidder for cash under the direction of the Minnehaha County Sheriff, at the Law Enforcement Center located at 320 West 4th Street, Sioux Falls, SD 57104, on October 29, 2025 at 11:00 AM.
Dated this 27 day of August, 2025
Michael Milstead
SHERIFF OF MINNEHAHA COUNTY
By Deputy Corrie Alexander 856
Name: Corrie Alexander
Halliday, Watkins & Mann, P.C.
By /s/ Zachary Nesbit
Zachary Nesbit
Attorneys for Plaintiff
376 East 400 South, Suite 300
Salt Lake City, UT 84111
Tel: 801-355-2886
Email: zach@hwmlawfirm.com
Published twice on Oct. 3 & Oct. 10, 2025, at the approximate cost of $76.93, and may be viewed free of charge at www.sdpublicnotices.com or TheDakotaScout.com.
-
PUBLISH: Oct. 3 & Oct. 10, 2025
IN THE STATE OF SOUTH DAKOTA,
COUNTY OF MINNEHAHA
IN CIRCUIT COURT,
SECOND JUDICIAL CIRCUIT COURT
U.S. BANK TRUST NATIONAL ASSOCIATION, AS TRUSTEE OF BKPL-EG HOLDING TRUST, PLAINTIFF,
V.
KATHY MORSE A/K/A KATHERINE JOYCE MORSE AND CITY OF SIOUX FALLS AND MIDLAND FUNDING LLC, AND ANY PERSON IN POSSESSION, DEFENDANTS.
NOTICE OF REAL ESTATE SALE ON FORECLOSURE CIVIL NUMBER: 49CIV25-001212
A Non-Monetary Judgment of Foreclosure was entered in favor of Plaintiff and against Defendants, which judgment was filed with the Clerk of Courts of Minnehaha County, South Dakota, on July 29, 2025, in the amount of $142,487.03, for the foreclosure of a real estate mortgage.
Notice is hereby given pursuant to said judgment that the real property described in
the Real Estate Mortgage dated May 31, 2005, and recorded in the office of the Register of Deeds of Minnehaha County, South Dakota, on June 8, 2005, in Book 1510 of Mtgs, at Page 366, as Instrument Number R516966. which Kathy Morse, mortgagor, executed and delivered to Mortgage Electronic Registration Systems, Inc., as mortgagee, as nominee for First State Mortgage Corporation, its successors and assigns, mortgagee, for the property located at 315 E 18th Street, Sioux Falls, SD 57105, and legally described as:
The West 44 feet of Lots 11 and 12 in Block 3 of Boulevard Addition to the City of Sioux Falls, Minnehaha County, South Dakota, according to the Recorded Plat thereof in order to realize the amount of the above-referenced judgment, plus interest accruing thereafter on said amount, together with the costs and expenses of sale, will be sold subject to redemption as provided by law as one parcel of land at public auction, subject to easements and restrictions of record, to the highest bidder for cash under the direction of the Minnehaha County Sheriff, at the Law Enforcement Center located at 320 West 4th Street, Sioux Falls, SD 57104, on November 19, 2025 at 11:00 AM.
Dated this 29th day of August, 2025
SHERIFF OF MINNEHAHA COUNTY
By Michael Brenden 548
Name: Michael Brenden
Deputy Sheriff
Halliday, Watkins & Mann, P.C.
By/s/Jason Tingle
Jason Tingle
Attorneys for Plaintiff
376 East 400 South, Suite 300
Salt Lake City, UT 84111
Tel: 801-355-2886
Email: jtingle@hwmlawfirm.com
Published twice on Oct. 3 & Oct. 10, 2025, at the approximate cost of $64.17, and may be viewed free of charge at www.sdpublicnotices.com or TheDakotaScout.com.
-
PUBLISH: Oct. 3 & Oct. 10, 2025
IN THE STATE OF SOUTH DAKOTA,
COUNTY OF MINNEHAHA
IN CIRCUIT COURT,
SECOND JUDICIAL CIRCUIT COURT
GUILD MORTGAGE COMPANY LLC, PLAINTIFF,
V.
ALISON A MAURER AND JOHN J MAURER, AND ANY PERSON IN POSSESSION, DEFENDANTS.
NOTICE OF REAL ESTATE SALE ON FORECLOSURE
CIVIL NUMBER: 49CIV25-001429
A Non-Monetary Judgment of Foreclosure was entered in favor of Plaintiff and against Defendants, which judgment was filed with the Clerk of Courts of Minnehaha County, South Dakota, on August 5, 2025, in the amount of $315,633.04, for the foreclosure of a real estate mortgage.
Notice is hereby given pursuant to said judgment that the real property described in
the Real Estate Mortgage dated February 18, 2022, and recorded in the office of the Register of Deeds of Minnehaha County, South Dakota, on February 25, 2022, in Book 1947 of Mtgs, at Page 349, as Instrument Number R105441, which John J Maurer and Alison A Maurer, mortgagor, executed and delivered to Mortgage Electronic Registration Systems, Inc., as Mortgagee, as nominee for Plains Commerce Bank, a Corporation, its successors and assigns, mortgagee, for the property located at 2404 S Holt Ave, Sioux Falls, SD 57103, and legally described as:
Lot 19 in Block 3 of Morningside Heights Addition to Sioux Falls, South Dakota, Located in the Southeast Quarter of the Northwest Quarter (SE1/4NW1/4) of Section 26, Township 101 North, Range 49 West of the 5th P.M., Minnehaha County, South Dakota, according to the recorded plat thereof in order to realize the amount of the above-referenced judgment, plus interest accruing thereafter on said amount, together with the costs and expenses of sale, will be sold subject to redemption as provided by law as one parcel of land at public auction, subject to easements and restrictions of record, to the highest bidder for cash under the direction of the Minnehaha County Sheriff, at the Law Enforcement Center located at 320 West 4th Street, Sioux Falls, SD 57104, on November 19, 2025 at 11:00 AM.
Dated this 29th day of August, 2025
SHERIFF OF MINNEHAHA COUNTY
By Michael Brenden 548
Name: Michael Brenden
Deputy Sheriff
Halliday, Watkins & Mann, P.C.
By /s/ Zachary Nesbit
Zachary Nesbit
Attorneys for Plaintiff
376 East 400 South, Suite 300
Salt Lake City, UT 84111
Tel: 801-355-2886
Email: zach@hwmlawfirm.com
Published twice on Oct. 3 & Oct. 10, 2025, at the approximate cost of $64.17, and may be viewed free of charge at www.sdpublicnotices.com or TheDakotaScout.com.
-
PUBLISH: Oct. 3, Oct. 10 & Oct. 17, 2025
STATE OF SOUTH DAKOTA
COUNTY OF MINNEHAHA
SS IN CIRCUIT COURT
SECOND JUDICIAL CIRCUIT
IN THE MATTER OF THE ESTATE OF
CHARLENE R. ELLINGTON, A DECEASED PERSON.
49PRO25-000233
NOTICE TO CREDITORS AND NOTICE OF INFORMAL PROBATE AND APPONTMENT OF PERSONAL REPRESENTATIVE
Notice is given that on September 30, 2025, in the Circuit Court of Minnehaha County, South Dakota, Alysia Iosty was appointed as personal representative of the estate of Charlene R. Ellington.
Creditors of decedent must file their claims within four (4) months after the date of the first publication of this notice or their claims may be barred.
Claims may be filed with the personal representative or may be filed with the clerk and a copy of the claim mailed to the personal representative.
Alysia Iosty
6520 W. 5th Street
Sioux Falls SD 57107
Clerk of Courts
Minnehaha County Courthouse
425 N. Dakota Avenue
Sioux Falls, SD 57104
Dated this 30 day of September, 2025.
SCHAFFER LAW OFFICE, PROF. LLC
/s/Paul Linde
Paul H. Linde
5032 S. Bur Oak Place, Suite 120
Sioux Falls, SD 57108
(605) 274-6760
Published Oct. 3, Oct. 10, & Oct. 17 2025, at the approximate cost of $52.78, and may be viewed free of charge at www.sdpublicnotices.com or TheDakotaScout.com.
-
PUBLISH: Oct. 3, Oct. 10 & Oct. 17, 2025
STATE OF SOUTH DAKOTA
COUNTY OF MINNEHAHA
SS IN CIRCUIT COURT
SECOND JUDICIAL CIRCUIT
IN THE MATTER OF THE ESTATE OF
DAVID A. HORTON, JR., DECEASED.
COURT FILE NO. 49PRO25-000196
NOTICE TO CREDITORS OF FORMAL PROBATE OF WILL AND APPOINMENT OF CO-PERSONAL REPRESENTATIVES
Notice is given that on September 30, 2025, David A. Horton, III, and Allison T. Mason, whose postal address is c/o Barbara Melber Vargo, of Lynn, Jackson, Shultz & Lebrun, P.C., 909 Saint Joseph Street, Suite 800, Rapid City, South Dakota 57702, were appointed as Co-Personal Representatives of the estate of David A. Horton Jr. Creditors of Decedent must file their claims within four (4) months after the date of the first publication of this Notice, or their claims may be barred.
Claims may be filed with the Personal Representative or may be filed with the Clerk, and a copy of the claim mailed to the Personal Representative.
Dated October 1, 2025.
LYNN, JACKSON, SHULTZ & LEBRUN PC
By: /s/ Barbara M. Vargo
Barbara M. Vargo
Attorneys for Personal Representative
909 St. Joseph St., Suite 800
Rapid City, SD 57701
605-342-2592
bvargo@lynnjackson.com
Clerk of Courts
Minnehaha County Courthouse
425 N. Dakota Avenue
Sioux Falls, SD 57104
(605) 367-5900
Published Oct. 3, Oct. 10, & Oct. 17, 2025, at the approximate cost of $55.28, and may be viewed free of charge at www.sdpublicnotices.com or TheDakotaScout.com.
-
PUBLISH: Sept. 26, Oct. 3 & Oct. 10, 2025
STATE OF SOUTH DAKOTA
COUNTY OF MINNEHAHA
§§ IN CIRCUIT COURT
SECOND JUDICIAL CIRCUIT
IN THE MATTER OF THE ESTATE OF
MIKAELA ANNE DIBBET, A DECEASED PERSON 49PRO25-000050
NOTICE TO CREDITORS
Notice is given that on the 22nd day of April, 2025, Caleb Van Vooren of 1201 South Point Drive, Sioux Falls, South Dakota 57103 was appointed as Personal Representative of the above-captioned probate estate.
Creditors of Decedent must file their claims within four months after the date of the first publication of this notice or their claims may be barred.
Claims may be filed with the Personal Representative at his above-listed address, to the Personal Representative’s Counsel at Halbach|Szwarc Law Firm, 108 South Grange Avenue, Sioux Falls, South Dakota 57104, or with the Minnehaha County Clerk of Courts at 425 North Dakota Avenue, Sioux Falls, South Dakota 57104, with a copy to the Personal Representative.
Dated September 23, 2025.
HALBACH|SZWARC LAW FIRM
By: /s/ Robert D. Trzynka
Robert D. Trzynka
108 S. Grange Ave.
Sioux Falls, SD 57104
P: (605) 910-7636
bobt@halbachlawfirm.com
Attorneys for Caleb Van Vooren
Published Sept. 26, Oct. 3, & Oct. 10, 2025, at the approximate cost of $49.43, and may be viewed free of charge at www.sdpublicnotices.com or TheDakotaScout.com.
-
PUBLISH: Sept. 26, Oct. 3 & Oct. 10, 2025
STATE OF SOUTH DAKOTA
COUNTY OF MINNEHAHA
:SS IN CIRCUIT COURT
SECOND JUDICIAL CIRCUIT
IN THE MATTER OF THE ESTATE OF
ART BORDEN, A DECEASED PERSON
49PRO25-000054
AMENDED NOTICE TO CREDITORS
Notice is given that on the 25th day of February, 2025, Karen Borden of 4908 East 15th Street, Sioux Falls, South Dakota 57110 was appointed as Personal Representative of the above-captioned probate estate.
Creditors of Decedent must file their claims within four months after the date of the first publication of this notice or their claims may be barred.
Claims may be filed with the Personal Representative at her above-listed address, to the Personal Representative’s Counsel at Halbach|Szwarc Law Firm, 108 South Grange Avenue, Sioux Falls, South Dakota 57104, or with the Minnehaha County Clerk of Courts at 425 North Dakota Avenue, Sioux Falls, South Dakota 57104, with a copy to the Personal Representative.
Dated September 24, 2025.
HALBACH|SZWARC LAW FIRM
By: /s/ Robert D. Trzynka
Robert D. Trzynka
108 S. Grange Ave.
Sioux Falls, SD 57104
P: (605) 910-7636
bobt@halbachlawfirm.com
Attorneys for Karen Borden
Published Sept. 26, Oct. 3, & Oct. 10, 2025, at the approximate cost of $49.43, and may be viewed free of charge at www.sdpublicnotices.com or TheDakotaScout.com.
-
PUBLISH: Sept. 26, Oct. 3, Oct. 10 & Oct. 17, 2025
STATE OF SOUTH DAKOTA
COUNTY OF MINNEHAHA
IN CIRCUIT COURT
SECOND JUDICIAL CIRCUIT
IN THE MATTER OF THE PETITION OF:
CHASE PARKER WOLFF
FOR A CHANGE OF NAME TO:
DEMYRA WINTER WOLF
49CIV25-4143
NOTICE OF HEARING FOR ADULT NAME CHANGE
NOTICE IS HEARBY GIVEN that a Verified Petition for Adult Name Change has been filed by Chase Parker Wolff to change Petitioner’s name from Chase Parker Wolff to Demyra Winter Wolf. The petition will be heard on the 28 day of October, 2025, at 11:00 am by the Honorable Judge Mammenga, at the Minnehaha County Courthouse, in the City of Sioux Falls, South Dakota. Anyone may appear at that time and place and show reasons, if any, why Petitioner’s name should not be changed.
Dated this 15 day of September, 2025.
/s/
Clerk of Court
Attest: Karla Kalb
Clerk of Court
By: /s/
Deputy
Published Sept. 26, Oct. 3, Oct. 10 & Oct. 17, 2025, at the approximate cost of $54.32, and may be viewed free of charge at www.sdpublicnotices.com or TheDakotaScout.com.
-
PUBLISH: Sept. 26, Oct. 3 & Oct. 10, 2025
NOTICE TO CREDITORS:
Frank J. Lingo, Grantor of the Frank J. Lingo Family Trust (the Trust), died on July 16, 2025. The First National Bank in Sioux Falls is the Trustee of said Trust. Notice is hereby given pursuant to SDCL 55-4-58 that creditors of Frank J. Lingo, the deceased Grantor, must present their claims to the Trustee, The First National Bank in Sioux Falls, within four months after the date of the first publication of this notice or any claim or collection efforts that otherwise could have been asserted or enforced against the Trust, or assets thereof, may be barred. Claims may be filed with the Trustee, The First National Bank in Sioux Falls, Attn: Steven J. Miller, PO Box 5186, Sioux Falls, SD 57117-5186.
Published on Sept. 26, Oct. 3 & Oct. 10, 2025, at the approximate cost of $30.99, and may be viewed free of charge at www.sdpublicnotices.com or TheDakotaScout.com.
-
PUBLISH: Sept. 19, Sept. 26, Oct. 3 & Oct. 10, 2025
IN THE STATE OF SOUTH DAKOTA,
COUNTY OF MINNEHAHA
IN THE CIRCUIT COURT,
SECOND JUDICIAL CIRCUIT COURT
NEWREZ LLC DBA SHELLPOINT MORTGAGE SERVICING, PLAINTIFF,
V.
NICHOLE BECK, AND ANY PERSON IN POSSESSION, DEFENDANTS.
SUMMONS
CIVIL NUMBER: 49CIV25-001743
1. To the above mentioned Defendant and all persons unknown, claiming any estate or interest in, or lien or encumbrance upon, the real property described in the complaint.
2. You are hereby summoned to appear and defend against the Complaint in this action, which has been filed with the Clerk of Court and is herewith served upon you, by serving upon the undersigned a copy of an Answer or other proper response within thirty (30) days after the service of this Summons upon you, exclusive of the day of service. If you fail to do so, Judgment by default will be taken against you for the relief demanded in the Complaint. The original Complaint is filed with the Clerk of the Circuit Court in the County in which this action is commenced.
3. This action relates to the foreclosure of a mortgage upon the following described real property located in the County of Minnehaha, State of South Dakota:
Lot 5 in Block 2 of Pine Hill, an Addition in the Southwest Quarter of the Southwest Quarter (SW1/4SW1/4) of Section 29, Township 101 North, Range 48 West of the 5th P.M., Minnehaha County, South Dakota, according to the Recorded Plat thereof, except Lot H-2 contained therein.
Property Address: 7700 E 39th Street, Sioux Falls, SD 57110
4. The Plaintiff is not seeking a personal judgment against the above-named Defendants.
Date: April 3, 2025
/s/ Jason Tingle
Jason Tingle
Halliday, Watkins & Mann, P.C.
376 East 400 South, Suite 300
Salt Lake City, UT 84111
Tel: 801-355-2886
Fax: 801-328-9714
Email: jtingle@hwmlawfirm.com
Bar Number: 5533
HWM: SD21488
Published on Sept. 19, Sept. 26, Oct. 3 & Oct. 10, 2025, at the approximate cost of $97.09, and may be viewed free of charge at www.sdpublicnotices.com or TheDakotaScout.com.
-
PUBLISH: Oct. 10, Oct. 17, Oct. 24 & Oct. 31, 2025
STATE OF SOUTH DAKOTA
COUNTY OF BRULE
:SS IN CIRCUIT COURT (JUVENILE DIVISION)
FIRST JUDICIAL CIRCUIT
THE PEOPLE OF THE STATE OF SOUTH DAKOTA, EX. REL. THE SOUTH DAKOTA DEPARTMENT OF SOCIAL SERVICES, IN THE INTERESTS OF
S.B.M., DOB: 9/24/2013, I.B.M., DOB: 9/24/2013, A.R.B., DOB: 7/18/2019, AND G.R.B., DOB: 12/21/2021, MINOR CHILDREN,
AND CONCERNING ERICA RED BEAR (MOTHER), DAVID BLACK MOON (FATHER), MATLOCK KNUTSON (FATHER), AND DEE MCCULLOUGH (FATHER), RESPONDENTS.
JUV25-5
SUMMONS AND NOTICE OF HEARING
THE STATE OF SOUTH DAKOT SEND GREETING TO THE ABOVE-NAMED CHILDREN, PARENTS, GUARDIAN, CUSTODIAN OR OTHER REPONDENTS, AND ALL WHOM IT MAY CONCERN:
You are hereby notified that a Petition has been filed in the above-named Court alleging the above-named children to be abused or neglected according to provisions of SDCL 26-8A for the reasons stated in the Petition.
You are hereby Summoned to appear, either in person or by attorney, before this Court at 9:30 AM on the 18th day of November, 2025, in the Courtroom of the Brule County Courthouse, Chamberlain, South Dakota, to answer to the Petition. Failure to appear shall be deemed an admission to the allegations contained in the Petition. The above-named children shall not appear before the Court unless otherwise required by the Court to so do. If you fail to appear, a Warrant may be issued by the Court requiring that you be brought before the Court.
You are hereby notified that termination of your parental rights is a possible remedy under the proceedings. You and the children have the right to an attorney at all stages of the proceedings. According to the Petition filed in this Court, the Indian Child Welfare Act is applicable.
The Court does not require the children to appear before the Court.
Dated this 2nd day of October, 2025.
Steve Meyer
Brule County Deputy State’s Attorney
Published Oct. 10, Oct. 17, Oct. 24 & Oct. 31, 2025, at the approximate cost of $101.47, and may be viewed free of charge at www.sdpublicnotices.com or TheDakotaScout.com.
-
PUBLISH: Oct. 10, 2025
STATE OF SOUTH DAKOTA
COUNTY OF MINNEHAHA
:SS IN CIRCUIT COURT
SECOND JUDICIAL CIRCUIT
IN THE MATTER OF K I, S I, C W, C W, W W, ALLEGED ABUSED/NEGLECTED CHILDREN
JUV24-001296
NOTICE OF ENTRY OF ORDER
TO: Unknown Father, Kyle Willliamson, Montie Iron Cloud, Cheyenne River Sioux Tribe, Rosebud Sioux Tribe, Standing Rock Sioux Tribe and all to whom it may concern:
You will take notice that Findings of Fact and Conclusions of Law for Disposition and Final Dispositional Order affecting your parental rights was made and entered in the matter entitled above by the above entitled Court and filed with the Clerk and that attached hereto is a true and correct copy thereof.
Dated this 1st day of October, 2025.
/s/Brianna Palomaki
Carrie Mees/Brianna Palomaki/Lyndee Kamrath
Deputy State’s Attorney
Minnehaha County State’s Attorney’s Office
415 N. Dakota Ave.
Sioux Falls, SD 57104
(605) 367-4226
Published once on Oct. 10, 2025, at the approximate cost of $14.49, and may be viewed free of charge at www.sdpublicnotices.com or TheDakotaScout.com.
-
PUBLISH: Oct. 10, 2025
STATE OF SOUTH DAKOTA
COUNTY OF MINNEHAHA
:SS IN CIRCUIT COURT
SECOND JUDICIAL CIRCUIT
IN THE MATTER OF AM, ALLEGED ABUSED/NEGLECTED CHILD
JUV24-000689
NOTICE OF ENTRY OF ORDER
TO: Unknown Father, Ashley Marshall, Rosebud Sioux Tribe and all to whom it may concern:
You will take notice that an Order for Voluntary Termination of Parental Rights and Final Decree of Disposition as to the mother and the Final Dispositional Order as to the Unknown Father affecting your parental rights was made and entered in the matter entitled above by the above entitled Court and filed with the Clerk and that attached hereto is a true and correct copy thereof.
Dated this 1st day of October, 2025.
/s/Brianna Palomaki
Carrie Mees/Brianna Palomaki/Lyndee Kamrath
Deputy State’s Attorney
Minnehaha County State’s Attorney’s Office
415 N. Dakota Ave.
Sioux Falls, SD 57104
(605) 367-4226
Published once on Oct. 10, 2025, at the approximate cost of $14.49, and may be viewed free of charge at www.sdpublicnotices.com or TheDakotaScout.com.
-
PUBLISH: Oct. 10, 2025
STATE OF SOUTH DAKOTA
COUNTY OF MINNEHAHA
:SS IN CIRCUIT COURT
SECOND JUDICIAL CIRCUIT
THE PEOPLE OF THE STATE OF SOUTH DAKOTA EX REL, SOUTH DAKOTA DEPARTMENT OF SOCIAL SERVICES, IN THE INTEREST OF,
I J, R J, C P, ALLEGED ABUSED/NEGLECTED CHILDREN
AND CONCERNING YVETTE MAE JEUNESSE DAVID BRADLEY GOODWIN YANCY BRYAN PARROW RESPONDENTS
JUV25-000002
SUMMONS
(ALLEGED ABUSED OR NEGLECTED CHILD)
TO: YVETTE MAE JEUNESSE
DAVID BRADLEY GOODWIN
YANCY BRYAN PARROW
AND ALL WHOM IT MAY CONCERN
You are hereby summoned to appear before the above-named Court in its courtroom at the Minnehaha County Courthouse, 425 North Dakota Avenue, Sioux Falls, South Dakota, on December 16, 2025, at 10:00 AM to answer the Petition of Carrie Mees/Brianna Palomaki/Lyndee Kamrath, now on file with the Clerk of said Court, alleging the above named Children to be an abused/neglected Children and praying that said Children be taken from you and that a guardian be appointed with authority to consent to the adoption of said Children. You must appear at the time and place set forth above to show cause, if any you have, why said Children should not be found abused/neglected and the prayer of said Petition granted or said Children otherwise dealt with. Failure to appear is an admission to the allegation(s) contained in the Petition. You are further notified that the termination of parental rights is a possible remedy of these proceedings and that you and the above-named Children have the right to have an attorney present at all stages of the proceedings.
Dated at Sioux Falls, Minnehaha County, South Dakota, this 2nd day of October, 2025.
KARLA KALB, Clerk
BY: /s/ Hannah Ludlow
Deputy
Published once on Oct. 10, 2025, at the approximate cost of $25.12, and may be viewed free of charge at www.sdpublicnotices.com or TheDakotaScout.com.
-
PUBLISH: Oct. 10, 2025
STATE OF SOUTH DAKOTA
COUNTY OF MINNEHAHA
:SS IN CIRCUIT COURT
SECOND JUDICIAL CIRCUIT
THE PEOPLE OF THE STATE OF SOUTH DAKOTA EX REL, SOUTH DAKOTA DEPARTMENT OF SOCIAL SERVICES, IN THE INTEREST OF,
A H, K K, A L, K L, K L, ALLEGED ABUSED/NEGLECTED CHILDREN
AND CONCERNING ASHLEIGH KAY HEWITT UNKNOWN FATHER TANER JAY KIEWEL DEREK BRENT LA VERDURE RESPONDENTS
JUV25-001047
SUMMONS
(ALLEGED ABUSED OR NEGLECTED CHILD)
TO: ASHLEIGH KAY HEWITT
UNKNOWN FATHER
TANER JAY KIEWEL
DEREK BRENT LAVERDURE
AND ALL WHOM IT MAY CONCERN
You are hereby summoned to appear before the above-named Court in its courtroom at the Minnehaha County Courthouse, 425 North Dakota Avenue, Sioux Falls, South Dakota, on October 28, 2025, at 9:00 AM to answer the Petition of Carrie Mees/Brianna Palomaki/Lyndee Kamrath, now on file with the Clerk of said Court, alleging the above named Children to be an abused/neglected Children and praying that said Children be taken from you and that a guardian be appointed with authority to consent to the adoption of said Children. You must appear at the time and place set forth above to show cause, if any you have, why said Children should not be found abused/neglected and the prayer of said Petition granted or said Children otherwise dealt with. Failure to appear is an admission to the allegation(s) contained in the Petition. You are further notified that the termination of parental rights is a possible remedy of these proceedings and that you and the above named Children have the right to have an attorney present at all stages of the proceedings.
Dated at Sioux Falls, Minnehaha County, South Dakota, this 2nd day of September,
2025.
KARLA KALB, Clerk
BY: /s/ Alyssa King (Cortez)
Deputy
Published once on Oct. 10, 2025, at the approximate cost of $25.76, and may be viewed free of charge at www.sdpublicnotices.com or TheDakotaScout.com.
-
PUBLISH: Oct. 10, 2025
STATE OF SOUTH DAKOTA
COUNTY OF MINNEHAHA
:SS IN CIRCUIT COURT
SECOND JUDICIAL CIRCUIT
IN THE MATTER OF
K C, K F ALLEGED ABUSED/NEGLECTED CHILDREN
JUV24-000479
NOTICE OF ENTRY OF ORDER
TO: Kenneth Glen Flute Jr, and all to whom it may concern:
You will take notice that on the 7th day of October, 2025 a Final Dispositional Order affecting your parental rights was made and entered in the matter entitled above by the above entitled Court and filed with the Clerk and that attached hereto is a true and correct copy thereof.
Dated this 8th day of October, 2025.
/s/Brianna Palomaki
Carrie Mees/Brianna Palomaki/Lyndee Kamrath
Deputy State’s Attorney
Minnehaha County State’s Attorney’s Office
415 N. Dakota Ave.
Sioux Falls, SD 57104
(605) 367-4226
Published once on Oct. 10, 2025, at the approximate cost of $12.88, and may be viewed free of charge at www.sdpublicnotices.com or TheDakotaScout.com.
-
PUBLISH: Oct. 10, 2025
STATE OF SOUTH DAKOTA
COUNTY OF MINNEHAHA
:SS IN CIRCUIT COURT
SECOND JUDICIAL CIRCUIT
THE PEOPLE OF THE STATE OF SOUTH DAKOTA EX REL, SOUTH DAKOTA DEPARTMENT OF SOCIAL SERVICES, IN THE INTEREST OF,
K G, A P, E P, ALLEGED ABUSED/NEGLECTED CHILDREN
AND CONCERNING THOMASENA-LYNN RAE GENIA UNKNOWN FATHER TOMAS PABLO-PEREZ RESPONDENTS
JUV24-001610
AMENDED SUMMONS
(ALLEGED ABUSED OR NEGLECTED CHILD)
TO: THOMASENA-LYNN RAE GENIA
UNKNOWN FATHER
TOMAS PABLO-PEREZ
AND ALL WHOM IT MAY CONCERN
You are hereby summoned to appear before the above-named Court in its courtroom at the Minnehaha County Courthouse, 425 North Dakota Avenue, Sioux Falls, South Dakota, on October 29 & 30, 2025, at 9:00 AM to answer the Petition of Carrie Mees/Brianna Palomaki/Lyndee Kamrath, now on file with the Clerk of said Court, alleging the above named Children to be an abused/neglected Children and praying that said Children be taken from you and that a guardian be appointed with authority to consent to the adoption of said Children. You must appear at the time and place set forth above to show cause, if any you have, why said Children should not be found abused/neglected and the prayer of said Petition granted or said Children otherwise dealt with. Failure to appear is an admission to the allegation(s) contained in the Petition. You are further notified that the termination of parental rights is a possible remedy of these proceedings and that you and the above-named Children have the right to have an attorney present at all stages of the proceedings.
Dated at Sioux Falls, Minnehaha County, South Dakota, this 8th day of October, 2025.
KARLA KALB, Clerk
BY: /s/ Alyssa King (Cortez)
Deputy
Published once on Oct. 10, 2025, at the approximate cost of $25.44, and may be viewed free of charge at www.sdpublicnotices.com or TheDakotaScout.com.
-
PUBLISH: Oct. 10, 2025
STATE OF SOUTH DAKOTA
COUNTY OF MINNEHAHA
:SS IN CIRCUIT COURT
SECOND JUDICIAL CIRCUIT
THE PEOPLE OF THE STATE OF SOUTH DAKOTA EX REL, SOUTH DAKOTA DEPARTMENT OF SOCIAL SERVICES, IN THE INTEREST OF,
J B, S R, S R, T R, ALLEGED ABUSED/NEGLECTED CHILDREN
AND CONCERNING MELISSA STEWART ROSS HOWARD LEON BRITTON HEATH LEROY RALLS RESPONDENTS
JUV24-000453
6TH AMENDED SUMMONS
(ALLEGED ABUSED OR NEGLECTED CHILD)
TO: MELISSA STEWART ROSS
HOWARD LEON BRITTON
HEATH LEROY RALLS
AND ALL WHOM IT MAY CONCERN
You are hereby summoned to appear before the above-named Court in its courtroom at the Minnehaha County Courthouse, 425 North Dakota Avenue, Sioux Falls, South Dakota, on November 4, 2025, at 11:00 AM to answer the Petition of BRIANNA PALOMAKI, now on file with the Clerk of said Court, alleging the above named Children to be an abused/neglected Children and praying that said Children be taken from you and that a guardian be appointed with authority to consent to the adoption of said Children. You must appear at the time and place set forth above to show cause, if any you have, why said Children should not be found abused/neglected and the prayer of said Petition granted or said Children otherwise dealt with. Failure to appear is an admission to the allegation(s) contained in the Petition. You are further notified that the termination of parental rights is a possible remedy of these proceedings and that you and the above-named Children have the right to have an attorney present at all stages of the proceedings.
Dated at Sioux Falls, Minnehaha County, South Dakota, this 2nd day of October, 2025.
KARLA KALB, Clerk
BY: /s/ Brenda Jarrott
Deputy
Published once on Oct. 10, 2025, at the approximate cost of $25.12, and may be viewed free of charge at www.sdpublicnotices.com or TheDakotaScout.com.
-
PUBLISH: Oct. 10, 2025
STATE OF SOUTH DAKOTA
COUNTY OF MINNEHAHA
:SS IN CIRCUIT COURT
SECOND JUDICIAL CIRCUIT
THE PEOPLE OF THE STATE OF SOUTH DAKOTA EX REL, SOUTH DAKOTA DEPARTMENT OF SOCIAL SERVICES, IN THE INTEREST OF,
A J, ALLEGED ABUSED/NEGLECTED CHILD
AND CONCERNING CASHARAYIA JOHNSON UNKNOWN FATHER RESPONDENTS
JUV25-000479
SUMMONS
(ALLEGED ABUSED OR NEGLECTED CHILD)
TO: CASHARAYIA JOHNSON
UNKNOWN FATHER
KENNETH TURNER
AND ALL WHOM IT MAY CONCERN
You are hereby summoned to appear before the above-named Court in its courtroom at the Minnehaha County Courthouse, 425 North Dakota Avenue, Sioux Falls, South Dakota, on December 31, 2025, at 9:00 AM to answer the Petition of Carrie Mees/Brianna Palomaki/Lyndee Kamrath, now on file with the Clerk of said Court, alleging the above named Child to be an abused/neglected Child and praying that said Child be taken from you and that a guardian be appointed with authority to consent to the adoption of said Child. You must appear at the time and place set forth above to show cause, if any you have, why said Child should not be found abused/neglected and the prayer of said Petition granted or said Child otherwise dealt with. Failure to appear is an admission to the allegation(s) contained in the Petition. You are further notified that the termination of parental rights is a possible remedy of these proceedings and that you and the above-named Child have the right to have an attorney present at all stages of the proceedings.
Dated at Sioux Falls, Minnehaha County, South Dakota, this 8th day of October, 2025.
Published once on Oct. 10, 2025, at the approximate cost of $23.19, and may be viewed free of charge at www.sdpublicnotices.com or TheDakotaScout.com.
-
PUBLISH: Oct. 10, 2025
STATE OF SOUTH DAKOTA
COUNTY OF MINNEHAHA
:SS IN CIRCUIT COURT
SECOND JUDICIAL CIRCUIT
THE PEOPLE OF THE STATE OF SOUTH DAKOTA EX REL, SOUTH DAKOTA DEPARTMENT OF SOCIAL SERVICES, IN THE INTEREST OF,
J A, I Q, M S, T S, T S, JR., ALLEGED ABUSED/NEGLECTED CHILDREN
AND CONCERNING SAIGE MARAE QUINN JORDAN BENEDICT ADAMS ARTHUR JAMES EAGLE FEATHER, JR. TYRELL WILSON SHIELDS, SR. RESPONDENTS
JUV24-001295
3RD AMENDED SUMMONS
(ALLEGED ABUSED OR NEGLECTED CHILD)
TO: SAIGE MARAE QUINN
JORDAN BENEDICT ADAMS
ARTHUR JAMES EAGLE FEATHER, JR.
TYRELL WILSON SHIELDS, SR.
AND ALL WHOM IT MAY CONCERN
You are hereby summoned to appear before the above-named Court in its courtroom at the Minnehaha County Courthouse, 425 North Dakota Avenue, Sioux Falls, South Dakota, on October 27, 2025, at 1:30 PM and on October 29 & 30, 2025, AT 9:00 AM to answer the Petition of BRIANNA PALOMAKI, now on file with the Clerk of said Court, alleging the above named Children to be an abused/neglected Children and praying that said Children be taken from you and that a guardian be appointed with authority to consent to the adoption of said Children. You must appear at the time and place set forth above to show cause, if any you have, why said Children should not be found abused/neglected and the prayer of said Petition granted or said Children otherwise dealt with. Failure to appear is an admission to the allegation(s) contained in the Petition. You are further notified that the termination of parental rights is a possible remedy of these proceedings and that you and the above-named Children have the right to have an attorney present at all stages of the proceedings.
Dated at Sioux Falls, Minnehaha County, South Dakota, this 7 day of October, 2025.
KARLA KALB, Clerk
BY: /s/ Alyssa King (Cortez)
Deputy
Published once on Oct. 10, 2025, at the approximate cost of $27.05, and may be viewed free of charge at www.sdpublicnotices.com or TheDakotaScout.com.
The Dakota Scout is the official newspaper of the city of Sioux Falls, the Sioux Falls School District, Minnehaha and Lincoln counties, and the city of Baltic.







